1911 Encyclopædia Britannica/Transformers
TRANSFORMERS. An electrical transformer is the name given to any device for producing by means of one electric current another of a different character. The working of such an appliance is, of course, subject to the law of conservation of energy. The resulting current represents less power than the applied current, the difference being represented by the power dissipated in the translating process. Hence an electrical transformer corresponds to a simple machine in mechanics, both transforming power from one form into another with a certain energy-dissipation depending upon frictional losses, or something equivalent to them. Electrical transformers may be divided into several classes, according to the nature of the transformation effected. The first division comprises those which change the form of the power, but keep the type of the current the same; the second those that change the type of the current as well as the form of power. The power given up electrically to any circuit is measured by the product of the effective value of the current, the effective value of the difference of potential between the ends of the circuit and a factor called the power factor. In dealing with periodic currents, the effective value is that called the root-mean-square value (R.M.S.), that is to say, the square root of the mean of the squares of the time equidistant instantaneous values during one complete period (see Electrokinetics). In the case of continuous current, the power factor is unity, and the effective value of the current or voltage is the true mean value. As the electrical measure of a power is always a product involving current and voltage, we may transform the character of the power by increasing or diminishing the current with a corresponding decrease or increase of the voltage. A transformer which raises voltage is generally called a step-up transformer, and one which lowers voltage a step-down transformer.
Again, electric currents may be of various types, such as continuous, single-phase alternating, poly phase alternating, unidirectional but pulsating, &c. Accordingly, transformers may be distinguished in another way, in accordance with the type of transformation they effect. (1) An alternating current transformer is an appliance for creating an alternating current of any required magnitude and electromotive force from another of different value and electromotive force, but of the same frequency. An alternating current transformer may be constructed to transform either single-phase or poly phase currents. (2) A continuous current transformer is an appliance which effects a similar transformation for' continuous currents, with the difference that some part of the machine must revolve, whereas in the alternating current transformer all parts of the machine are stationary; hence the former is generally called a rotatory transformer, and the latter a static transformer. (3) A rotatory or rotary transformer may consist of one machine, or of two separate machines, adapted for converting a single-phase alternating current into a poly phase current, or a poly phase current into a continuous current, or a continuous current into an alternating current. If the portions receiving and putting out power are separate machines, the combination is called a motor-generator. (4) A transformer adapted for converting a single-phase alternating current into a unidirectional but pulsatory current is called a rectifier, and is much used in connexion with arc lighting in alternating current supply stations. (5) A phase transformer is an arrangement of static transformers for producing a poly phase alternating current from a single-phase alternating current. Alternating current transformers may be furthermore divided into (a) single-phase, (b) poly phase. Transformers of the first class change an alternating current of single-phase to one of single-phase identical frequency, but different power; and transformers of the second class operate in a similar manner on poly phase currents. (6) The ordinary induction or spark coil may be called an intermittent current transformer, since it transforms an intermittent low-tension primary current into an intermittent or alternating high-tension current.
Alternating Current Transformer.—The typical alternating current transformer consists essentially of two insulated electric circuits wound on an iron core constituting the magnetic circuit. They may be divided into (1) open magnetic circuit static transformers, and (2) closed magnetic circuit static transformers, according as the iron core takes the form of a terminated bar or a closed ring. A closed circuit alternating” current transformer consists of an iron core built up of thin sheets of iron or steel, insulated from one another, and wound over with two insulated conducting circuits, called the primary and secondary circuits. The core must be laminated or built up of thin sheets of iron to prevent local electric currents, called eddy currents, from being established in it, which would waste energy. In practical construction, the core is either a simple ring, round or rectangular, or a double rectangular ring, that is, a core whose section is like the figure 8. To prepare the core, thin sheets of iron or very mild steel, not thicker than .014 of an inch, are stamped out of special iron (see Electromagnetism) and carefully annealed.
The preparation of the particular sheet steel or iron used for this purpose is now a speciality. It must possess extremely small hysteresis loss (see Magnetism), and various trade names, such as “stalloy,” “lohys,” are in use to describe certain brands. Barrett, Brown and Hadfield have shown (Journ. Inst. Elec. Eng. Lond., 1902, 31, p. 713) that a silicon iron containing 2.87% of silicon has a hysteresis loss far less than that of the best Swedish soft iron. In any case the hysteresis loss should not exceed 3.0 watts per kilogram of iron measured at a frequency of 50 ~ and a flux-density of 10,000 lines per square centimetre. This is now called the “figure of merit” of the iron.
Examples of the shapes in which these stampings are supplied
are shown in fig. 1.
Fig. 1. The plates when annealed are varnished or
covered with thin paper on one side, and then piled up so as to
make an iron core, being kept together by bolts and nuts or by
pressure plates. The designer of a
transformer core has in view, first,
economy in metal, so that there may
be no waste fragments, and second,
a mode of construction that facilitates
the winding of the wire circuits.
These consist of coils of cotton-covered
copper wire which are wound
on formers and baked after being well
saturated with shellac varnish: The
primary and secondary circuits are
sometimes formed of separate bobbins
which are sandwiched in between
each other; in other cases they are
wound one over the other (fig. 2).
In any case the primary and secondary coils must be symmetrically
distributed. If they were placed on opposite sides of the
iron circuit the result would be considerable magnetic leakage.
It is usual to insert sheets or cylinders of micanite between the
primary and secondary windings. The transformer is then well
baked and placed in a cast-iron case sometimes filled in with heavy
insulating oil, the ends of the primary and secondary circuits being
brought out through water-tight glands. The most ordinary type
of alternating current transformer is one intended to transform a
small electric current produced by a large electromotive force
(2000 to 10,000 volts) into a larger current of low electromotive force
(100 to 200 volts). Such a stepdown
transformer may be obviously
employed in the reverse
direction for raising pressure and
reducing current, in which case it
is a step-up transformer. A transformer
when manufactured has to
be carefully tested to ascertain,
first, its power of resisting breakdown,
and, second, its energy dissipating
qualities. With the
first object, the transformer is
subjected to a series of pressure
tests.
Fig. 2.—Closed Circuit Transformer. If it is intended that the primary shall carry a current
produced by an electromotive force of 2000 volts, an insulation test
must be applied with double this voltage between the primary and
the secondary, the primary and the case, and the primary and the
core, to ascertain whether the insulation is sufficient. To prevent
electric discharges from breaking down the machine in ordinary
work, this extra pressure ought to be applied for at least a quarter
of an hour. In some cases three or four times the working pressure
is applied for one minute between the primary and secondar circuits.
When such an alternating current transformer has an alternating
current passed through its primary circuit, an alternating magnetization
is produced in the core, and this again induces an alternating
secondary current. The secondary current has a greater or less
electromotive force than the primary current according .as the
number of windings or turns on the secondary circuit is, greater or
less than those on the primary. Of the power thus imparted to
the primary circuit one portion is dissipated by the heat generated
in the primary and secondary circuits by the currents, and another
portion by the iron core losses due to the energy wasted in the cyclical
magnetization of the core; the latter are partly eddy current losses
and partly hysteresis losses.
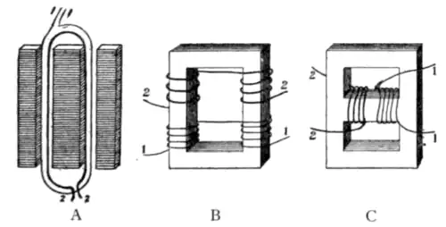
In open magnetic circuit transformers the core takes the form of a laminated iron bar or a bundle of iron wire. An ordinary induction coil is an instrument of this description. It has been shown, however, by careful experiments, that for alternating current transformation there are very few cases in which the closed magnetic circuit transformer has not an advantage. An immense number of designs of closed circuit transformers have been elaborated since the year 1885. The principal modern types are the Ferranti, Kapp, Mordey, Brush, Westinghouse, Berry, Thomson-Houston and Ganz. Diagrammatic representations of the arrangements of the core and circuits in some of these transformers are given in fig. 3.

Fig. 3.—Diagrams of (A) Mordey (in section), (B) Kapp and
(C) Ganz Transformers.
1, 1 Primary circuit; 2, 2 Secondary circuit.
Alternating current transformers are classified into (i.) Core and (ii.) Shell transformers, depending upon the arrangements of the iron and copper circuits. If the copper circuits are wound on the outside of what is virtually an iron ring, the transformer is a core transformer; if the iron encloses the copper circuits, it is a shell transformer. Shell transformers have the disadvantage generally of poor ventilation for the copper circuits. Berry, however, has overcome this difficulty by making the iron circuit in the form of a number of bunches of rectangular frames which are set in radial fashion and the adjacent legs all embraced by the two copper circuits in the form of a pair of concentric cylinders. In this manner he secures good ventilation and a minimum expenditure in copper and iron, as well as the possibility of insulating the two copper circuits well from each other and from the core. An important matter is the cooling of the core. This may be effected either by ordinary radiation, or by a forced draught of air made by a fan or else by immersing the transformer in oil, the oil being kept cool by pipes through which cold water circulates immersed in it. This last method is adopted for large high-tension transformers.
The ratio between the power given out by a transformer and the power taken up by it is called its efficiency, and is best represented by a curve, of which the ordinate is the efficiency expressed as a percentage, and the corresponding abscissae represent the fractions of the full loadEfficiency. as decimal fractions. The output of the transformer is generally reckoned in kilowatts, and the load is conveniently expressed in decimal fractions of the full load taken as unity. The efficiency on one-tenth of full load is generally a fairly good criterion of the economy of the transformer as a transforming agency. In large transformers the one-tenth load efficiency will reach 90% or more, and in small transformers 75 to 80%. The general form of the efficiency curve for a closed circuit transformer is shown in fig. 4. The horizontal distances represent fractions of full secondary load (represented by unity), and the vertical distances efficiency in percentages. The efficiency curve has a maximum value corresponding to that degree of load at which the copper losses in the transformer are equal to the iron losses.
In the case of modern closed magnetic circuit transformers the copper losses are proportional to the square of the secondary current (I2) or to qI2, where q=R1α2+R2; R1 being the resistance of the primary and R2 that of the secondary circuit, while α is the ratio of the number of secondary and primary windings of the transformer. Let C stand for the core loss, and V2 for the secondary terminal potential difference (R.M.S. value). We can then write as an expression for the efficiency (η) of the transformer (η=I2V2/ (C + qI22+I2V2). It is easy to show that if C1, V2 and q are constants, but I2 is variable, the above expression for η has a maximum value when C−qI22=0, that is, when the iron core loss C =the total copper losses qI22.
The iron core energy-waste, due to the hysteresis and eddy currents, may be stated in watts, or expressed as a fraction of the full load secondary output. In small transformers of 1 to 3 kilowatts output it may amount to 2 or 3%, and in large transformers of 10 to 50 kilowatts and upwards it should be 1 or less than 1%. Iron and Copper Losses. Thus the core loss of a 30-kilowatt transformer (one having a secondary output of 30,000 watts) should not exceed 250 watts. It has been shown that for the constant potential transformer the iron core loss is constant at all loads, but diminishes slightly as the core temperature rises. On the other hand, the copper losses due to the resistance of the copper circuits increase about 0·4% per degree C. with rise of temperature.

Fig. 4.—Typical Efficiency Curve of Closed Circuit Transformer.
The current taken in at the primary side of the transformer, when the secondary circuit is unclosed, is called the magnetizing current, and the power then absorbed by the transformer is called the open circuit loss or magnetizing Watts. The ratio of the terminal potential difference at the primary and secondary terminals is called the transformation ratio of the transformer. Every transformer is designed to give a. certain transformation ratio, corresponding to some particular primary voltage. In some cases transformers are designed to transform, not potential difference, but current in a constant ratio. The product of the root-mean-square (R.M.S.), effective or virtual, values of the primary current, and the primary terminal potential difference, is called the apparent power or apparent watts given to the transformer. The true electrical power may be numerically equal to this product, but it is never greater, and is sometimes less. The ratio of the true power to the apparent power is called the power factor of the transformer. The power factor approaches unity in the case of a closed circuit transformer, which is loaded non inductively on the secondary circuit to any considerable fraction of its full load, but in the case of an open circuit transformer the power factor is always much less than unity at all loads. Power factor curves show the variation of power factor with load. Examples of these curves were first given by J. A. Fleming, who suggested the term itself (see Jour. Inst. Elec. Eng. Lond., 1892, 21, p. 606). A low power factor always implies a magnetic circuit of large reluctance.
The operation of the alternating current is then as follows: the periodic magnetizing force of the primary circuit creates a periodic magnetic flux in the core, and this being linked with the primary circuit creates by its variation what is called the back electromotive force in the primary circuit. The variation of the particular portion of this periodic flux, linked with the secondary circuit, originates in this last a periodic electromotive force. The whole of the flux linked with the primary circuit is not interlinked with the secondary circuit. The difference is called the magnetic leakage of the transformer. This leakage is increased with the secondary output of the transformer and with any disposition of the primary and secondary coils which tends to separate them. The leakage exhibits itself by increasing the secondary drop. If a transformer is worked at a constant primary potential difference, the secondary terminal potential difference at no load or on open secondary circuit is greater than it is when the secondary is closed and the transformer giving its full output. The difference between these last two differences of potential is called the secondary drop. This secondary drop should not exceed 2%, of the open secondary circuit potential difference.
The facts required to be known about an alternating current transformer to appraise its value are (1) its full load secondary output or the numerical value of the power it is designed to transform, on the assumption that it will not rise in temperature more than about 60° C. above the atmosphere when in normal use; (2) the primary and Appraisement. secondary terminal voltages and currents, accompanied by a statement whether the transformer is intended for producing a constant secondary voltage or constant secondary current; (3) the efficiency at various fractions on secondary load from one-tenth to full load taken at a stated frequency; (4) the power factor at one-tenth of full load and at full load; (5) the secondary drop between full load and no load; (6) the iron core loss. also the magnetizing current, at the normal frequency; (7) the total copper losses at full load and at one-tenth of full load; (8) the final temperature of the transformer after being left on open secondary circuit but normal primary potential for twenty-four hours, and at full load for three hours.
The matters of most practical importance in Connexion with an alternating current transformer are (1) the iron core loss, which affects the efficiency chiefly, and must be considered (a) as to its initial value, and (b) as affected by “ageing” or use; (2) the secondary drop or difference of secondary voltage between full and no load, primary voltage being constant, since this affects the service and power of the transformer to work in parallel with others; and (3) the temperature rise when in normal use, which affects the insulation and life of the transformer. The shellacked cotton, oil and other materials with which the transformer circuits are insulated suffer a deterioration in insulating power if continuously maintained at any temperature much above 80° C. to 100° C. In taking the tests for core loss and drop, the temperature of the transformer should therefore be stated. The iron losses are reduced in value as temperature rises and the copper losses are increased. The former may be 10 to 15% less and the latter 20% greater than when the transformer is cold. For the purpose of calculations we require to know the number of turns on the primary and secondary circuits, represented by N1 and N2; the resistances of the primary and secondary circuits, represented by R1 and R2; the volume (V) and weight (W) of the iron core; and the mean length (L) and section (S) of the magnetic section. The hysteresis loss of the iron reckoned in watts per ℔ per 100 cycles of magnetization per second and at a maximum flux density of 2500 C.G.S. units should also be determined.

Fig. 5.—Arrangement for Testing Transformers.
The experimental examination of a transformer involves the measurement of the efficiency, the iron core loss, and the secondary drop; also certain tests as to insulation and heating, and finally an examination of the relative phase position and graphic form of the various periodic quantities, currents and electromotive forces taking place in the transformer. The efficiency is best determined by the employment of a properly constructed watt meter (see Wattmeter). The transformer T (fig. 5) should be so arranged that, if a constant potential transformer, it is supplied with its normal working pressure at the primary side and with a load which can be varied, and which is obtained either by incandescent lamps, L, or resistances in the secondary circuit. A watt meter, W, should be placed with its series coil, Se, in the primary circuit of the transformer, and its shunt coil, Sh, either across the primary mains in series, with a suitable non-inductive resistance, or connected to the secondary circuit of another transformer, T1, called an auxiliary transformer, having its primary terminals connected to those of the transformer under test. In the latter case one or more incandescent lamps, L, may be connected in series with the shunt coil of the watt meter so as to regulate the current passing through it. The current through the series coil of the watt meter is then the same as the current through the primary circuit of the transformer under test, and the current through the shunt coil of the watt meter is in step with, and proportional to, the primary voltage of the transformer. Hence, the watt meter reading is proportional to the mean power given up to the transformer. The watt meter can be standardized and its scale reading interpreted by replacing the transformer under test by a non-inductive resistance or series of lamps, the power absorption of which is measured by the product of the amperes and volts supplied to it. In the secondary circuit of the transformer is placed another watt meter of a similar kind, or, if the load on the secondary circuit is non-inductive, the secondary voltage and the secondary current can be measured with a proper alternating current ammeter, A2, and voltmeter, V2, and the product of these readings taken as a measure of the power given out by the transformer. The ratio of the powers, namely, that given out in the external secondary circuit and that taken in by the primary circuit, is the efficiency of the transformer. In testing large transformers, when it is inconvenient to load up the secondary circuit to the full load, a close approximation to the power taken up at any assumed secondary load can be obtained by adding to the value of this secondary load, measured in watts, the iron core loss of the transformer, measured at no load, and the copper losses calculated from the measured copper resistances when the transformer is hot. Thus, if C is the iron core loss in watts, measured on open secondary circuit, that is to say, is the power given to the transformer at normal frequency and primary voltage, and if R1 and R2 are the primary and secondary circuit resistances when the transformer has the temperature it would have after running at full load for two or three hours, then the efficiency can be calculated as follows: Let O be the nominal value of the full secondary output of the transformer in watts, V1 and V2 the terminal voltages on the primary and secondary side, N1 and N2 the number of turns, and A1 and A2 the currents for the two circuits;, then O/V2 is the full load secondary current measured in amperes, and N2N1 multiplied by O/V2 is to a sufficient approximation the value of the corresponding primary current. Hence O2R2/V22 is the watts lost in the secondary circuit due to copper resistance, and O2R1N22/V22N12 is the corresponding loss in the primary circuit. Hence the total power loss in the transformer (=L) is such that
L=C + O2/V22R2 + (N2/N2)2=C + (R2 + R1α2)O2/V22.
Therefore the power given up to the transformer is O+L, and the
efficiency is the fraction O/(O+L) expressed as a percentage. In
this manner the efficiency can be determined with considerable,
degree of accuracy in the case of large transformers without actually
loading up the secondary circuit. The secondary drop, however,
can only be measured by loading the transformer up to full load,
and, while the primary voltage is kept constant, measuring the
potential difference of the secondary terminals, and comparing it
with the same difference when the transformer is not loaded. Another
method of testing large transformers at full load without supplying
the actual power is by W. E. Sumpner's differential method, which
can be done when two equal transformers are available (see Fleming,
Handbook for the Electrical Laboratory and Testing Room, ii. 602).
No test of a transformer is complete which does not comprise some investigation of the “ageing” of the core. The slow changes which take place in the hysteretic quality of iron when heated, in the case of certain brands, give rise to a time-increase in iron core loss. Hence a transformer which has a core loss, say, of 300 watts when new, may, Ageing. unless the iron is well chosen, have its core loss increased from 50 to 300% by a few months’ use. In some cases specifications for transformers include fines and deductions from price for any such increase; but there has in this respect been great improvement in the manufacture of iron for magnetic purposes, and makers are now able to obtain supplies of, good magnetic iron or steel with non-ageing qualities. It is always desirable, however, that in the case of large. sub-station transformers tests should be made at intervals to discover whether the core loss has increased by ageing. If so, it may mean a very considerable increase in the cost of magnetizing power. Consider the case df a 30-kilowatt transformer connected to the mains all the year round; the normal core loss of such a transformer should be about 300 watts, and therefore, since there are 8760 hours in the year, the total annual energy dissipated in the core should be 2628 kilowatt hours. Reckoning the value of this electric energy at only one penny per unit, the core loss costs £10, 19s. per annum. If the core loss becomes doubled, it means an additional annual expenditure of nearly £11. Since the cost of such a transformer would not exceed £100, it follows that it would be economical to replace it by a new one rather than continue to work it at its enhanced core loss.
In Great Britain the sheet steel or iron alloy used for the transformer cores is usually furnished to specifications which state the maximum hysteresis loss to be allowed in it in watts per ℔ (avoirdupois) at a frequency of 50, and at a maximum flux-density during the cycle of 4000 C.G.S. units. When plates having a thickness t mils are made up into a transformer core, the total energy loss in the core due to hysteresis and eddy current loss when worked at a frequency n and a maximum flux-density during the cycle B is given by the empirical formulae
T=·0032nB1·5510−7+(tnB)210−16,
or
T1=·088nB11·5510−9+1·4(t1nB1)210−10,
where T stands for the loss per cubic centimetre, and T1 for the same in watts per pound of iron core, B for the maximum flux density in lines per square centimetre, and B1 for the same in lines per square inch, t for the thickness of the plates in thousandths of an inch (mils), and t1 for the same in inches. The hysteresis loss varies as some power near to 1·6 of the maximum flux-density during the cycle as shown by Steinmetz (see Electrmagnetism). Since the hysteresis loss varies as the 1·6th power of the maximum flux-density during the cycle (B max.), the advantages of a low flux-density are evident. An excessively low flux-density increases, however, the cost of the core and the copper by increasing the size of the transformer. If the form factor (f) of the primary voltage curve is known, then the maximum value of the flux-density in the core can always be calculated from the formula B=E1/4fnSN1, where E is the R.M.S. value of the primary voltage, N1 the primary turns, S the section of the core, and n the frequency.
The study of the processes taking place in the core and circuits of a transformer have been greatly facilitated in recent years by the improvements made in methods of observing and recording the variation of periodic currents and electromotive forces. The original method, due to Joubert, was greatly improved and employed by Ryan, Bell, Duncan Curve Tracing.| and Hutchinson, Fleming, Hopkinson and Rosa, Callendar and Lyle; but the most important improvement was the introduction and invention of the oscillograph by Blondel, subsequently improved by Duddell, and also of the ondograph of Hospitalier (see Oscillograph). This instrument enables us, as it were, to look inside a transformer, for which it, in fact, performs the same function that a steam engine indicator does for the steam cylinder.[1] Delineating in this way the curves of primary and secondary current and primary and secondary electromotive forces, we get the following result: Whatever may be the form of the curve of primary terminal potential difference, or primary voltage, that of the secondary voltage or terminal potential difference is an almost exact copy, but displaced 180° in phase. Hence the alternating current transformer reproduces on its secondary terminals all the variations of potential on the primary, but changed in scale. The curve of primary current when the

Fig. 6.—Transformer Curves
at no load.
e1, Primary voltage curve;
i1, Primary current curve; e2,
Secondary voltage curve.
transformer is an open secondary circuit is different in form and phase, lagging behind the primary voltage curve (fig. 6); but if the transformer is loaded up on its secondary side, then the primary current curve comes more into step with the primary voltage curve. The secondary current curve, if the secondary load is non-inductive, is in step with the secondary voltage curve (fig. 7). These transformer diagrams yield much information as to the nature of the operations proceeding in the transformer.
The form of the curve of primary current at no secondary load is a consequence of the hysteresis of the iron, combined with the fact that the form of the core flux-density curves of the transformer is always not far removed from a simple sine curve. If e1 is at any moment the electromotive force, i1 the current 'on the primary circuit, and b1 is the flux-density in the core, then we have the fundamental relation e1=R1i1+SN1 db1/dt, where R1 is the resistance of the primary, and N1 the number of turns, and S is the cross-section of the core. In all modern closed circuit transformers the quantity R1i1 is very small compared with the quantity SNdb/dt except at one instant during the phase, and in taking the integral of the above equation, viz. in finding the value of fe1dt, the integral of the first term on the right-hand side may be neglected in comparison with the second. Hence we have approximately b1=(SN1)−1fe1dt. In other words, the value of the flux density in the core is obtained by integrating the area of the primary voltage curve. In so doing the integration must be started from the time point through which passes the ordinate bisecting the area of the primary voltage curve. When any curve is formed such that its ordinate y is the integral of the area of another curve, viz. y=fy1dx, the first curve is always smoother and more regular in form than the second. Hence the process above described when applied to a complex periodic curve, which can by Fourier's theorem be resolved into a series of simple periodic curves, results in a relative reduction of the magnitude of the higher harmonics compared with the fundamental term, and hence a wiping out of the minor irregularities of the curve. In actual practice the curve of electromotive force of alternators can be quite sufficiently reproduced by employing three terms of the expansion, viz. the first three odd harmonics and the resulting flux-density curve is always very nearly a simple sine curve.

Fig. 7.—Transformer Curves at full load.
e1, Primary voltage curve; i1, Primary current curve; e2, Secondary voltage curve; i2, Secondary current curve.
We have then the following rules for predetermining the form of the current curve of the transformer at no load, assuming that the hysteresis curve of the iron is given, set out in terms of flux-density and ampere-turns per centimetre, and also the form of the curve of primary electromotive force. Let the time base line be divided up into equal small elements. Through any selected point draw a line perpendicular to the base line. Bisect the area enclosed by the curve representing the half wave of primary electromotive force and the base line by another perpendicular. Integrate the area enclosed between the electromotive force curve and these two perpendicular lines and the base. Lastly, set up a length on the last perpendicular equal to the value of this area divided by the product of the cross-section of the core and the number of primary turns. The resulting value will be the core flux-density b at the phase instant corresponding. Look out on the hysteresis loop the same flux-density value, and corresponding to it will be found two values of the magnetizing force in ampere-turns per centimetre, one the value for increasing flux-density and one for decreasing. An inspection of the position of the point of time selected on the time line will at once show which of these to select. Divide that value of the ampere-turns per centimetre by the product of the values of the primary turns and the mean length of the magnetic circuit of the core of the transformer, and the result gives the value of the primary current of the transformer. This can be set up to scale on the perpendicular through the time instant selected. Hence, given the form of the primary electromotive force curve and that of the hysteresis loop of the iron, we can draw the curves representing the changes of flux-density in the core and that of the corresponding primary current, and thus predict the root-mean-square value of the magnetizing current of the transformer. It is therefore possible, when given the primary electromotive force curve and the hysteresis curve of the iron, to predetermine the curves depicting all the other variables of the transformer, provided that the magnetic leakage is negligible.
The elementary theory of the closed iron circuit transformer may be stated as follows: Let N1, N2 be the turns on the primary and secondary circuits, R1 and R2 the resistances, S the section of the core, and b1 and bg the co-instantaneous values of the flux-density just inside the primary andElementary Theory. secondary windings. Then, if i1 and i2 and e1 and e2 are the primary and secondary currents and potential differences at the same instant, these quantities are connected by the equations
e1=R1i1+SN1db1/dt, e2=SN2db2/dt −R2i2.
Hence, if b1=b2, and if R1i1, is negligible in comparison with SN1db/dt, and i=0, that is, if the secondary circuit is open, then el/e2=N1/N2, or the transformation ratio is simply the ratio of the windings. This, however, is not the case if b1 and b2 have not the same value; in other words, if there is magnetic leakage. If the magnetic leakage can be neglected, then the resultant magnetizing force, and therefore the iron core loss, is constant at all loads. Accordingly, the relation between the primary current (ii), the secondary current (i2), and the magnetizing current (l), ' or primary current at no load, is given by the equation N1i1−N2i2=N1i. Then, writing b for the instantaneous value of the flux-density in the core, everywhere supposed to be the same, we arrive at the identity
e1,i1 = e2,i2, + (R1i12, +R2i2) -{-S%(N1i1 N, i,).
This equation merely expresses the fact that the power put into the transformer at any instant is equal to the power given out on the secondary side together with the power dissipated by the copper losses and the constant iron core loss.
The efficiency of a transformer at any load is the ratio of the mean value, during the period, of the product elil to that of the product e2i2. The efficiency of an alternating current transformer is a function of the form of the primary electromotive force curve. Experiment has shown<[2] that if a transformer is tested for efficiency of various alternators having electromotive force curves of different forms, the efficiency values found at the same secondary load are not identical, those being highest which belong to the alternator with the most peaked curve of electromotive force, that is, the curve having the largest form factor. This is a consequence of the fact that the hysteresis loss in the iron depends upon the manner in which the magnetization (or what here comes to the same thing, the flux-density in the core) is allowed to change. If the primary electromotive force curve has the form of a high peak, or runs up suddenly to a large maximum value, the flux-density curve will be more square-shouldered than when the voltage curve has a lower form factor. The hysteresis loss in the iron is less when the magnetization changes its sign somewhat suddenly than when it does so more gradually. In other words, a diminution in the form factor of the core flux-density curve implies a diminished hysteresis loss. The variation in core loss in transformers when tested on various forms of commercial alternator may amount to as much as 10%. Hence, in recording the results of efficiency tests of alternating current transformers, it is always necessary to specify the form of the curve of primary electromotive force. The power factor of the transformer or ratio of the true power absorption at no load, to the product of the R.M.S. values of the primary current and voltage, and also the secondary drop of the transformer, vary with the form factor of the primary voltage curve, being also both increased by increasing the form factor. Hence there is a slight advantage in working alternating current transformers off an alternator giving a rather peaked or high maximum value electromotive force curve. This, however is disadvantageous in other ways, as it puts a greater strain upon the insulation of the transformer and cables. At one time a controversy arose as to the relative merits of closed and open magnetic circuit transformers. It was, however, shown by tests made by Fleming and by Ayrton on Swinburne’s “Hedgehog” transformers, having a straight core of iron wires bristling out at each end, that for equal secondary outputs, as regards efficiency, open as compared with closed magnetic circuit transformers had no advantage, whilst, owing to the smaller power factor and consequent large R.M.S. value of the magnetizing current, the former type had many disadvantages (see Fleming, “Experimental Researches on Alternate Current Transformers,” Journ. Inst. Elec. Eng., 1892).
The discussion of the theory of the transformer is not quite so simple when magnetic leakage is taken into account. In all cases Magnetic a certain proportion of the magnetic flux linked with Leakage the»primary circuit is not linked with the secondary circuit, and the difference is called the magnetic leakage. This magnetic leakage constitutes a wasted flux which is non-effective in producing secondary electromotive force. It increases with the secondary current, and can be delineated by a curve on the transformer diagram in the following manner. The curves of primary and secondary electromotive force, or terminal potential difference and current, are determined experimentally, and then two curves are plotted on the same diagram which represent the variation of (e1−R1i1)/N1 and (122-I-Rgig)/Ng; these will represent the time differentials of the total magnetic fiuxes Sbr and Sb; linked respectively with the primary and secondary circuits. The above curves are then progressively integrated. starting from the time point through which passes the ordinate bisecting the area of each half wave, and the resulting curves plotted to express by their ordinates Sb; and Sb2. A curve is then plotted whose ordinates are the differences Sbl-Sbg, 'and this is the curve of magnetic leakage. .
The existence of magnetic leakage can be proved experimentally by a method due to Mordey, by placing a pair of thermometers, one of mercury and the other of alcohol, in the centre of the core aperture. If there is a magnetic leakage, the mercury bulb is heated not only by radiant heat, but by eddy currents set up in the mercury, and its rise is therefore greater than that of the alcohol thermometer. The leakage is also determined by observing the secondary voltage drop between full load and no load, and deducting from it the part due to copper resistance; the remainder is the drop due to leakage, Thus if V2 is the secondary voltage on open circuit, and V21 that when a current A2 is taken out of the transformer, the leakage drop 'v is given by the equation 77 = (V2 "'V21> “ l R2A2 'l'R1A2(N2/N1>2l-The term in the large bracket expresses the drop in secondary voltage due to the copper resistance of the primary and secondary circuits.
In drawing up a specification for an alternating current transformer, it is necessary to specify that the maximum secondary drop between full and no load to be allowed shall not exceed a certain value, say 2% of the no-load secondary voltage; also that the iron core loss as a percentage of the full secondary output shall not exceed a value, say, of 1%, after six months' normal work.
In the design of large transformers one of the chief points for attention is the arrangement for dissipating the heat generated in their mass by the copper and iron losses. For every watt expended in the core and circuit, surface of 3 to 4 sq. in. must be allowed, so that the heat may be dissipated. In large transformers it is usual to employ some means of producing a current of air through the core to ventilate it. In these, called air-blast transformers, apertures are left in the core by means of which the cooling air can reach the interior portions. This air is driven through the core by a fan actuated by an alternating current motor, which does not, however, take up power to a greater extent than about 1/4or 1/10% of the full output of the transformer, and well repays the outlay.
In some cases transformers are oil-insulated, that is to say, included in a cast-iron box which is filled in with a heavy insulating oil. For this purpose an oil must be selected free from mineral acids and water: it should be heated to a high temperature before use, and tested for dielectric strength by observing the voltage required to create a spark between metal balls immersed
| Material. | Dielectric strength in kilowatts per centimetre. |
Material. | Dielectric strength in kilowatts per centimetre. |
| Glass | 285 | Lubricating oil | 83 |
| Ebonite | 538 | Linseed oil | 67 |
| Indiarubber | 492 | Cotton-seed oil | 57 |
| Mica | 2000 | Air film ·02 cm. thick |
27 |
| Micanite | 4000 | ||
American linen paper paraffined |
540 |
Air film 1·6 cm. thick |
48 |
in it at a distance of 1 millimetre apart. Oils, however, are inferior in dielectric strength or spark-resisting power to solid dielectrics, such as micanite, ebonite, &c., as shown by the above table of dielectric strengths (see T. Gray, Phys. Rev., 1898, P- 199)-

Fig. 8.—Brush Three-phase Transformer.
Polyphase Transformers are appliances of similar construction to the single-phase transformers already described, but modified so as to enable them to transform two or more phase-related primary alternating currents into similar secondary currents. Thus, a three-phase transformer may be constructed with a core, as shown in fig. 8. Each core leg is surrounded with a primary coil, and these are joined up either in star or delta fashion, and connected to the three or four line wires. The secondary circuits are then connected in a similar fashion to three or four secondary lines. In the case of two-phase transmission with two separate pairs of leads, single-phase transformers may be
employed in each branch, but with two-phase three-wire supply, twophase transformers must be supplied.
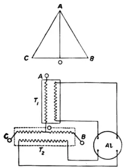
Phase Transformers are arrangements of static or rotary transformers intended to transform single-phase alternating currents into poly phase currents. An important system of phase transformation has been described by C. F. Scott.[3] It is known that if two alternating electromotive forces differing in phase are connected in series, the resulting electromotive force will in general differ in phase and value from either of the components. Thus, if two alternating electromotive forces differing 90° in phase, and having magnitudes in the ratio of 1: √3, are connected in series, the resulting electromotive force will have a magnitude represented by 2, and the three can be represented by the sides of a triangle which is half an equilateral triangle. If then a two-phase alternator, D (fig. 9), provides two-phase currents, and if the two circuits are connected, as shown, to a pair of single-phase transformers, T1 and T2, we can obtain three-phase alternating currents from the arrangement. The primaries of both transformers are the same. The secondary circuit of one transformer, T2, has, say, 100 turns, and a connexion is made to its middle point O, and this is connected to the secondary of the other transformer which has 87 (=50 √3) turns. From the points A, B, C we can then tap off three-phase alternating currents. The advantages of the Scott system are that we can transform two-phase alternating currents into three-phase for transmission, and then by a similar arrangement retransform back again into two-phase for use. In this manner an economy of 25% in copper is effected, for instead of four transmission lines we have only three. The system adapts itself for the transmission of currents both for power in driving three-phase motors and for working incandescent lamps. A somewhat similar system has been designed by C. P. Steinmetz for producing three phase currents from single-phase (see Electrician, xliii. 236). When a number of alternating electromotive forces are maintained in a closed circuit, the sum of all must be zero, and may be represented by the sides of a closed polygon. The fundamental principle of Mr Ste1nmetz's invention consists in so choosing the number of these electromotive forces that the polygon must remain stable. Thus, if three single-phase alternators are driven independently at constant speed and excitation, and if they are joined in series, then three wires led away from the junction points will provide three-phase currents to a system from which lamps and motors may be worked.

Fig. 9.—Scott's Arrangement for Transformation of Two-phase to Three-phase Currents.
Reference must be made to the continuous current transformer. The conversion of a continuous current supplied, say, at 100 volts, into one having an electromotive force of 10 volts, can of course be achieved by coupling together on the same bedplate a suitable electric motor and a dynamo. The combination is called a motor-dynamo set, and each Continuous Current Transformers. machine preserves its own identity and peculiarity. The same result may, however, be accomplished by winding two separate armature circuits on one iron core, and furnishing each with its own commutator. The two circuits are interlaced or wound on together. An arrangement of this kind constitutes a rotatory or rotary transformer, or continuous current transformer. It has the advantage of greater cheapness and efficiency, because one field magnet serves for both armature windings, and there is only one armature core and one pair of bearings; moreover, no shift or lead of the brushes is' required at various loads. The armature reactions of the two circuits annul each other. Machines of this description are self-starting, and can be constructed to take in primary current at high pressures, say 1000 to 2000 volts, and yield another larger current of much lower voltage, say 100 or 150 volts, for use with electric lamps. They are used in connexion with public electric supply by continuous current in many places.
Another important class of rotatory transformer is that also called a rotatory converter, by means of which continuous current is translated into alternating current of one-, two- or three-phase, or vice versa. The action of such an appliance may best be understood by considering the simple case of a Gramme ring armature
(see Dynamo) having, in addition to its commutator, a pair of insulated rings on its shaft connected with opposite ends of the armature winding (fig. 10). If such a ring is placed in a bipole field magnet, and if a pair of brushes make contact with the commutator C and another pair with the two rings called slip rings, S1 52, and if continuous current at a constant voltage is supplied to the commutator side, then the armature will begin to revolve in the field, and from the brushes in contact with the slip rings we can draw off an alternating current. This reaches its maximum value when the points of contact of the rings with the armature circuit pass the axis of commutation, or line at right angles to the direction of the magnetic field, for it has at this moment a value which is double the steady value of the continuous current being poured into the armature. The maximum value of the electromotive force creating this alternating current is nearly equal to the electromotive force on the continuous current side. il-Ience if A is the maximum value of the continuous current put into the armature and V is the value of the brush potential difference on the continuous current side, then:zA is the maximum value of the out coming alternating current and V is the maximum value of its voltage.

Fig. 10.—Rotary Converter, continuous to two-phase.
Hence 2AV/2=AV is the maximum value of the outcoming alternating current power, and if we neglect the loss in the armature for the moment, the power given out is equal to the power put in. Hence, assuming a simple harmonic law of variation, the effective value of the alternating current voltage is V/√2, and that of the alternating current is 2A√2. This conclusion follows at once from the fact that the mean value of the square of a sine function is half its maximum value, and hence the R.M.S. value is 1/√2 times the maximum value. The out coming alternating current has its zero value at the instant when the ends of the diameter of the axis to which the rings are connected are in the direction of the magnetic field of the transformer. Hence the power output on the alternating current side varies from a maximum value AV to zero. The rotatory transformer thus absorbs continuous current power and emits it in a periodic form; accordingly, there is a continual storage and emission of energy by the armature, and therefore its kinetic energy is periodically varying during the phase. The armature is also creating a back-electromotive force which acts at some instants against the voltage driving the current into the armature and at others is creating an electromotive force that assists the external impressed voltage in driving a current through the alternating current side. If we put on another pair of insulated rings and connect them to points of the insulated diameter at right angles to the points of connexion of the first pair of rings, we can draw off another alternating current, the phase of which differs 90° from that of the first. Similarly, if we provide three rings connected to points removed 120° apart on the armature circuit, we can tap off a three-phase alternating current. Returning to the case of the single-phase rotatory transformer, we may notice that at the instant when the out coming alternating current is zero the armature is wholly engaged in absorbing power and is acting entirely as a motor. When the alternating current is a maximum, the armature on the other hand is acting as a generator and adds current to the current put into it. The ratio between the potential difference of the brushes on the continuous current side and the rO0t-mean-Square or effective value of the voltage between any pair of rings on the alternating current side is called the transformation ratio of the converter.
The following table, taken from a paper upon rotatory converters by S. P. Thompson (Proc. Inst. Elec. Eng., November 1898), gives the voltage ratio or conversion ratio in the case of various forms of rotatory transformer:—
| Number of slip rings. |
Angle between points of connexions to armatures. |
Type of current generated. |
Voltage ratio. |
Effective voltage on alternating current side as percentage of voltage on continuous current side. |
| 2 | 180° | Single-phase | √2:1 | 70·71 |
| 3 | 120° | Three- phase | 2√2:√3 | 61·23 |
| 4 | 90° | Two-phase | √2:1 | 70·71 |
| 4 | 90° | Four-phase | 2:1 | 50 |
| 6 | 60° | Three-phase | 3√3:√3 | 61·23 |
| 6 | 60° | Six-phase | 2√2:1 | 35·35 |
Neglecting the energy losses in the armature, and assuming that the continuous current side of the transformer is supplied with 100 amperes, the following table, also taken from a paper by S. P. Thompson, shows the effective value of the current on the alternating side put out into each line:—
| Number of slip rings. |
Angle between points of connexion to armatures. |
Type of current generated. |
Effective cur- rent put out on each line in amperes. |
| 2 | 180° | Single-phase | 141·4 |
| 3 | 120° | Three-phase | 94·3 |
| 4 | 90° | Two-phase | 70·7 |
| 6 | 60° | Six-phase | 47·2 |
It is obvious that the same results of conversion can be obtained by coupling together two separate machines on the same shaft; thus we might obtain a single-phase alternating current from a continuous current by coupling together mechanically a continuous current motor and a single-phase alternator. Such a combination is generally called a motor-dynamo. In this case there are two lield magnets and two separate armatures, and the hysteresis eddy current and copper losses are all in duplicate. If, however, the same armature winding is made to serve both purposes, the resulting machine is called a rotatory or rotary converter. In the former combination the brushes of the continuous current part require to be set with the usual lead or lag according as that part is generator or motor, but in the latter the armature reactions nearly annul each other, and lead or lag is no longer necessary.
Rectifiers are devices for transforming an alternating (generally single-phase) current into a continuous but pulsatory current. They may shortly be described as appliances for separating out each alternate current flux in an alternating current. An immense number of more or less imperfect methods of doing this have been proposed, and Rectifiers. here We shall describe two which may be called respectively the mechanical and the electrolytic methods. Of the first class a good example is the Ferranti rectifier (fig. 11). This consists of a synchronous alternating current motor which is started up and driven in step with the alternator supplying the current.

Fig. 11.—Ferranti Rectifier.
The motor drives a commutator of insulated segments, each alternate segment being connected to two insulated rings, against which press a pair of brushes. Another pair of brushes, so adjusted as to be in Contact simultaneously with a pair of adjacent commutator segments, are in connexion with the alternator supplying the current to be com mutated. The insulated rings are in connexion with the external circuit. It will easily be seen that when the commutator revolves at proper speed the currents delivered from the insulated rings are unidirectional. The Ferranti rectifier is much employed for rectifying alternating current for arc lighting purposes. With this object it is associated with a constant current transformer which converts alternating current supplied at constant potential to one supplied at constant current. This is achieved by taking advantage of the repulsive force existing between the primary and secondary circuits of a transformer. These are wound separately, and so balanced that any increase in the current presses them away from each other and so reduces the secondary current to normal value. Such an appliance is useful for rectifying currents up to 10 or 15 amperes.
The electrolytic rectifier is based upon the fact that if plates of aluminium and carbon are placed in an electrolyte, say a solution of alum or dilute acids which yield oxygen on electrolysis, it is found that a current can be sent through the liquid from the carbon to the aluminium, but that great counter electromotive force is created to a current in the opposite direction. Grätz and Pollak (Elektrotechnische Zeitschrift, 1897, 25, p. 359), taking advantage of this fact, have constructed a rectifying arrangement by arranging two series of carbon aluminium (CAl) cells with alum or hydro-potassic phosphate solution as electrolyte. In one set the order of the plates is (CAl), (CAl), &c., and in the other series (AlC), (AlC), counting from the same end. These series being connected in parallel, it follows that if an alternating current is sent through the parallel series all the currents in one direction pass through one battery and all those in the opposite direction through the other. Thus the constituents of the alternating current are separated out. By using very large cells so as to reduce the internal resistance, an efficiency of 95% is said to be obtained.
There are many points in the operation of the electrolytic rectifier which have as yet been imperfectly explained. The action of the aluminium electrolytic rectifier, consisting as it does of an aluminium plate and a lead or carbon plate placed in an aqueous electrolyte, is to oppose a great obstruction to a current passing out of the Theory of Electrolytic Rectifier. aluminium plate, but little or no obstruction to the current passing into the aluminium plate, especially if the aluminium has been subjected to a previous treatment called formation. This unilateral conductivity is dependent on a certain voltage or potential difference between the plates not being exceeded, but within these limits a plate of carbon and aluminium placed in a solution, say of hydro-sodic phosphate, acts as an electrical valve, allowing current to pass in one direction but not in another. An examination of the aluminium plate after it has been so used shows that its appearance has changed and that its surface is covered by a thin film, the thickness of which varies with the electrolyte and the time of formation. After a certain period of use this film is seen as a grey, dull coating traversed by dark lines. It is impossible that the unilateral conductivity can be due to a true electrolytic polarization, because we know of no polarization of this latter kind which exceeds three volts, and the film can be made to resist the flow of a current under an electromotive force of 140 to 200 volts. The resistance of this film has been measured and found to be very high, so high as to be practically an insulation. Light was thrown upon the subject by F. Kohlrausch's discovery of the polarization capacity of metallic electrodes, and this discovery was applied to develop the theory of the aluminium cell by Streintz (1888), Scott (1899) and others.
This theory was expounded by K. Norden (Electrician, xlviii. 107). According to this view, the deposit covering the aluminium electrode forms the dielectric of a condenser. One plate of the condenser is formed by the aluminium plate and the other by an opposite layer of electrically-charged ions in the electrolyte. The dielectric Elm on the aluminium having been formed, the electromotive force of the circuit then charges the resulting condenser to the value of its own voltage, but immediately the impressed electromotive force is removed this condenser discharges itself. This condenser theory receives support from the behaviour of the aluminium cell when placed in the circuit of an alternating current dynamo, for it is found that in these circumstances the current through the cell is in advance in phase of the difference of potential. The question then arises, What is the nature of this insulating film? The first discoverer of the phenomenon (Buff) considered it to consist of silicon. Later Professor Beetz disproved this by experiment, and, with many others, assumed that a sub-oxide of aluminium was formed; but this has never been demonstrated in a satisfactory manner. By forming a sufficient quantity of the film Dr K. Norden was able to obtain sufficient of the material to make a chemical analysis, and 'this revealed the fact that it consists of normal aluminium hydroxide, Al2(OH)6.
According to the facts above stated, one wave of the alternating current produces the insulating film by converting the surface of the aluminium into hydroxide, practically, therefore, blocking its own path very quickly by the creation of this film. If, then, the electromotive force reverses its direction the current immediately flows. According to Dr Norden, the rapid removal of the insulating film is due to the action of the electrolyte corroding or dissolving the weak points in the coating and thus breaking down its insulating power. The insulating film is therefore a conductor in one direction, but when the current is reversed and flows out of the aluminium plate the insulating film is renewed and is continually being repaired and kept in order. Thus different electrolytes yield aluminium valves having very different efficiencies.
Rectifying cells have been made by Pollak which will bear a voltage of over 140 volts, and which are said to have an efficiency of 75%. The plates, however, must be removed when not in use, otherwise the film of hydroxide is destroyed by the electrolyte. One great practical difficulty in Connexion with the aluminium rectifier is the tendency to heat in working. The historical development of the discovery of this unilateral conductivity of an electrolytic cell with an aluminium electrode is as follows. The effect was first noticed by Buff in 1857, but was not applied technically until 1874, when Ducretet employed it in telegraphy. Beret in 1877 and Streintz in 1887 discussed the theory of the cell and sought for an explanation. In 1891 Hutin and Leblanc, in their study of alternating current, showed its uses in rectifying an alternating current. Pollak and Gratz laboured to give it a practically useful form. Pollak took out patents in 1895, and made a communication to the Academy of Sciences in Paris in June 1897; and Grätz presented a memoir at a meeting of the German Association of Electrochemists in Munich in 1897. M. Blondin has summarized all the work so far done on the aluminium rectifier in two articles in L’Éclairage électrique (1898), xiv. 293, and xxviii. 117 (1901). The choice of an electrolyte is of great importance. Buff, Ducretet and Grätz employed dilute sulphuric acid, and the greatest difference of potential which could then be applied to the cell without breaking down its insulation in one direction was 20 volts. Pollak in 1896 found that when aqueous solutions of alkaline salts were used, and when the aluminium was subjected to a preliminary formation, the back electromotive force or what is equivalent to it could be raised to 140 or 200 volts. Pollak found that the best results were given by the use of phosphate of potassium or sodium. It appears, therefore, that the ions of K or Na effect the breaking down of the film of aluminium hydroxide more quickly than the ion of hydrogen. The practical form of aluminium rectifier, according to Pollak, consists of plates of thick aluminium and lead placed in a large deep glass vessel filled with a solution of potassium hydrogen phosphate.
![]() |
| |
| (From the Electrical Times, by permission.) | (From the Electrical Times, by permission.) | |
| Fig. 12:—Section through Nodon Valve. | Fig. 13.—Method of connecting the cells. |
In 1899 Albert Nodon of Paris began experimenting with an electric rectifier which is now on a commercial footing. It is known as the Nodon electric valve, and it is claimed that it will give an efficiency of 75 to 80% when used to transform single or polyphase currents into continuous currents. In the form used for transforming single-phase Nodon Valve. currents the valve is made up of 4 cells, each consisting of an iron cylinder with an insulating plug at the bottom through which is passed a cylinder formed of an alloy of zinc and aluminium. This cylinder is concentric with the iron tube and provided with a terminal at the lower end. The cell is filled with. a. saturated solution of ammonium phosphate, and a, nonconducting shielding tube can be slid over the aluminium electrode to alter the exposed area.
The valve is shown in section in fig. 12, and the 4 cells are arranged in a Wheatstone’s Bridge fashion, as shown in fig. 13. A and A1 are the terminals to which the alternating current is supplied, C and C1 the terminals from which the continuous current is drawn off. The electrolytic actions which take place in the cells are as follows: When the alternating current passes in the positive direction from the zinc-aluminium cylinder to the iron cylinder there is formed instantly on the former a film of aluminium hydroxide; this film, presenting an enormous resistance. opposes the passage of the current. On the other hand, if the current passes in the opposite direction the film is reduced instantly and the current now flows. When used with polyphase currents the valve comprises as many times two cells as there are wires in the distribution. The cells must stand a pressure varying from 50 to 140 volts, and for higher pressures two or more valves in series are employed.
![]() |
| Fig. 14. Cooper-Hewitt Rectifier. |
The aluminium-iron electrolytic rectifier is not suitable for the rectification of very high frequency currents, because the chemical actions on which it depends involve a time element. It was, however, discovered by J. A. Fleming that an oscillation valve could be constructed for rectifying electrical oscillations, as follows (see Proc. Roy. Soc. Vacuum or Vapour Rectifiers. Lond., 1905, 74, p. 476): In a glass bulb similar to that of an incandescent lamp a carbon filament is fixed. Around the carbon filament, but not touching it, is placed a cylinder of nickel connected to an external terminal by means of platinum wire sealed through the glass. If the carbon filament is made incandescent by an insulated battery (and for this purpose it is convenient to have the filament adjusted to be fully incandescent at a pressure of about 12 volts), then the space between the incandescent filament and the embracing cylinder possesses a unilateral conductivity such that negative electricity can pass from the incandescent filament to the cylinder but not in the opposite direction. Hence if the negative terminal of the filament and the terminal attached to the cylinder are connected to an oscillation transformer (see Induction Coil) which supplies a high frequency alternating oscillatory current, the flow of electricity in one direction is cut out and the oscillatory current is therefore converted into a continuous current. Such valves have been employed by Fleming in connexion with wireless telegraphy. Wehnelt discovered that if a platinum wire was covered with oxide of barium or any of the oxides of rare earth metals, it possessed in the same manner, when used in a valve of the above type, an even greater power than incandescent carbon. The explanation of this action is to be sought for in the fact that incandescent carbon in a vacuum or incandescent earthy oxides copiously emit negative electrons.
A rectifier dependent upon the peculiar qualities of mercury vapour has been devised by Cooper-Hewitt for the transformation of polyphase currents into continuous currents. The three-phase transformer is made as follows: A large glass bulb (see fig. 14) has four iron electrodes sealed through the walls as positive electrodes and a negative electrode consisting of a pool of mercury in the bottom of the bulb connected with platinum wires sealed through the glass; the bulb is highly exhausted and contains only mercury vapour. The three iron electrodes are connected to the terminals of a star-connected polyphase transformer and one of them to the positive pole of a continuous current starting current, the connexions being shown as in fig. 15. The mercury vapour is a non-conductor for low voltages, but if a sufficiently high voltage is placed on the mercury bulb by means of the continuous current it begins to conduct and if the three-phase current is then switched on the mercury vapour will allow the components of the three-phase current to pass when the mercury electrode is negative, not when it is positive. Hence for alternate current wave of the three-phase, supply is cut down and a continuous current can be drawn by the connexions as shown in fig. 15 for the purposes of supplying secondary batteries, arc lamps, &c.
Owing to the fact that the mercury vapour ceases to conduct when the electromotive force on it falls below a certain critical value the valve will not work with single-phase currents but will work with polyphase currents at all voltage from 100 to 1000 or more and can transform as much as 100 amperes. It is stated to have an efficiency of 88 to 89%. (See The Electrician, 1903, 50, p. 510.)
A mechanical poly phase rectifier or rotary devised by Bragstad and La Cour is described in Der Kaskadenumformer, by E. Arnold and J. L. La Cour, Stuttgart, 1904.

Fig. 15.
It consists of a three-phase induction motor coupled direct to a continuous current dynamo, the armatures of the two machines being electrically connected so that the three-phase current created in the rotor of the induction motor enters the continuous current armature and creates around it a rotary field. The connexions are such that the rotating field turns in a direction opposite to that in which the armature is turning, so that the field is stationary in space. From the continuous current armature can therefore be drawn off a continuous current and the device acts as a transformer of three-phase alternating current to a continuous current.
The ordinary induction coil (q.v.) may be regarded as the transformer for converting continuous current at low voltage into high voltage intermittent continuous current, but the difficulties of interrupting the primary current render it impossible to transform in this way more than a small amount of power. Where, however, high voltages are required, high potential transformers are used which are now built for the purpose of wireless telegraphy and the transformation of power to give secondary voltages up to 20,000, 30,000 or 60,000 volts. Transformers have even been built to give secondary voltages of half a million volts capable of giving a 14 in. spark in air. These machines, however, must be regarded as more physical laboratory instruments than appliances for technical work. For description of one such extra high potential transformer see H. B. Smith, on “Experiments on Transformers for Very High Potentials,” The Electrician (1904), 54, p. 358. A transformer of this kind must invariably be an oil insulated transformer, as under extremely high voltage the air itself becomes a conductor and no solid insulator that can be put upon the wires is strong enough to stand the electric strain.
Authorities.—J. A. Fleming, The Alternate Current Transformer (3rd ed., 1901); “Experimental Researches on Alternate Current Transformers,” Journ. Inst. Elec. Eng. (1892); “Alternate Current Transformers,” Cantor Lectures (Society of Arts, 1896); “Electric Oscillations and Electric Waves,” Cantor Lectures (Society of Arts, 1900–1901); Handbook for the Electrical Laboratory and Testing Room (1901); S. P. Thompson, Dynamo Electric Machinery (1896); Polyphase Electric Currents and Alternate Current Motors (2nd ed. 1900); “Rotatory Converters,” Proc. Inst. Elec. Eng. (1898) G. Kapp, The Electrical Transmission of Energy and its Transformation (1895); Alternating Currents of Electricity (1896); Transformers for Single and Multiphase Currents (1896); C. C. Hawkins and F. Wallis, The Dynamo (2nd ed., 1896); F. Bedell, The Principles of the Transformer (New York, 1896); W. E. Goldsborough, “Transformer Tests,” Proc. Nat. Electric Light Associations, U.S.A. (1899); C. P. Steinmetz, The Theory and Calculation of Alternating Current Phenomena (4th ed., New York, 1908); A. Still, Alternating Currents of Electricity and the Theory of Transformers; D. C. Jackson, Text-Book on Electro-magnetism (1896), vol. ii.; Loppe, Alternating Currents in Practice; Martin, Inventions, Researches and Writings of Nikola Tesla (New York, 1894); W. G. Rhodes, An Elementary Treatise on Alternating Currents (1902); A. Hay, Alternating Currents (1905); D. K. Morris and G. A. Lister, “The Testing of Transformers and Transformer Iron,” Journ. Inst. Elec. Eng. (1906), 37, p. 264; J. Epstein, “The Testing of Electric Machinery and Materials of Construction,” Journ. Inst. Elec. Eng. (1906), 38, p. 28. (J. A. F.)
- ↑ For a useful list of references to published papers on alternating current c urve tracing, see a paper by W. D. B. Duddell, read before the British Association, Toronto, 1897; also Electrician (1897), xxxix. 636; also Handbook for the Electrical Laboratory and Testing Room (J. A. Fleming), i. 407.
- ↑ See Dr G. Roessler, Electrician (1895), xxxvi. 150; Beeton, Taylor and Barr, Journ. Inst. Elec. Eng. xxv. 474; also J. A. Fleming, Electrician (1894). xxxiii. 580.
- ↑ Proceedings of the National Electric Light Association (Washington, U.S.A., 1894); also Electrician (1894), xxxii. 640.


