Page:Collected Physical Papers.djvu/59

This page has been validated.
COLLECTED PHYSICAL PAPERS
39

matters sufficiently. I then used one with a longer focus, namely, 13 cm., and this gave much better results.

The receiver used to be enclosed in a metallic case, 2 cm. in breadth, with an open front for the reception of radiation. The case was to protect the receiver from stray radiations. But by the new arrangement and improved construction, these disturbances were effectively removed. I therefore discarded the use of the metallic enclosing cell, since the rays which did not actually fall on the sensitive surface might be reflected from the back of the metallic cell and thrown on to the sensitive layer. The layer of spirals, only 1ยท5 mm. in breadth, is laid on a groove in ebonite (which is transparent); and the linear receiver without any metallic case was placed at the focus of the lens.

I now proceeded to measure the angle of refraction corresponding to a given angle of incidence. In the first series observed, the refraction was from glass to air; the cylindrical surface of the semi-cylinder was turned to the radiator, which was placed at its principal focus. The receiver was mounted on the radial arm with the double shields, and the objective in the manner already described. The reading for refracted rays was taken

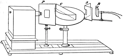
Fig. 8. The electric refractometer: P, the plate with a diaphragm; C, the semi-cylinder of glass; S, the shield (only one shown in the diagram); R, the receiver.