Page:EB1911 - Volume 27.djvu/52
stroke. The hydraulic cylinder is generally direct-connected to the slides, and the operator turns on the pressure water by a lever. The machine shown in fig. 56 is a very complete example of the hydraulic type, combining punching and shearing with angle-cutting.
Circular shears are used for the thinner plates and for sheet-metal work; they embody two circular blades placed with their axes parallel, and the sharp bevelled edges nearly in contact. The blades being rotated sever the plate as it is fed between them. Either straight or circular cuts may be made; true circles or disks are produced by mounting the plate on a fixed stud and rotating it through a complete revolution past the cutters.
IX.—Hammers and Presses
The growth in the use of hammers actuated by steam and compressed air, and of presses worked by water power, has been remarkable. The precursors of the power hammers were the helve and the Oliver; the first named was operated by gravity, being lifted by a circle of cams, while the second was lifted by a spring pole overhead and pulled down by the foot of the Workman, acting on a lever—the hammer shaft. The first was used by the iron workers and the second by the smiths, until displaced by the Nasmyth hammer and its extensive progeny. Even now the old helve and Oliver survive in some unprogressive shops.
Steam Hammers.—The original hammer as invented by James Nasmyth was single acting, operating simply by gravity, the function of the steam being to lift the hammer for each succeeding fall. The first improvement was made by Rigby, who took the waste steam exhausted from the lower side of the piston to the upper side and so imparted some slight pressure in the descent. It was a stage between the early and the present hammers. In these, high-pressure steam is admitted above the piston to impart a more powerful blow, compounded of velocity X mass, than is obtainable by gravity; hence they are termed double-acting hammers (fig. 57). The principal difficulties which have to be surmounted in their construction are those due to the severe concussion of the blows, which very sensibly shake the ground over an area of many yards. Framings are made very rigid, and in the larger hammers double, enclosing the hammer head between them. The foundations are by far the heaviest used in any machine tools. Deep piling is often resorted to, supporting crossing timber balks; or concrete is laid in mass on which the iron anvil block is bedded. This block weighs anywhere between 100 and 1000 tons. The piston and its rod and the hammer head are generally a solid steel forging, for the piston rod is a weak element and cottered or screwed fittings are not trustworthy Piston valves are generally used in preference to ordinary D-valves, combining simplicity of fitting with good balance. The periods of steam admission are under the control of the attendant, so that the length of stroke and the force of the blow are instantly responsive to his manipulation of the operating lever. Many hammers can be set to run automatically for any given length of stroke.
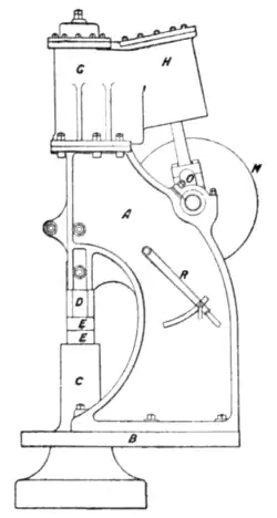
Pneumatic Hammers.—A successful type of hammer for the ordinary operations of the smithy is that which is actuated by compressed air. Though designs vary the principle is the same, namely, air compressed in a controlling cylinder (fig. 58), and brought into an operating or hammer cylinder above the piston. Cushioning, or release of the air below the piston, is under control, as is the pressure of the air above it.
Drop Hammers.—The requirements of forged work have, besides the power hammers operated

Fig. 58.—Pneumatic Forging Hammer.
(W. & J. Player, Birmingham.)
A, Standards.
B, Base-plate.
C, Anvil block.
D, Tup.
E, E, Pallets.
G, Hammer cylinder, the piston rod of which is attached to D.
H, Air compressing cylinder.
N, Belt pulleys which reciprocate by means of the crank O, the piston in H.
R, Handle controlling the valve between H and G.
by a positive down stroke, been the cause of the development of an equally large group which are gravity hammers only—the drop hammers. They are put into operation by a belt or belts, but the function of the belt is simply to lift the hammer to the height desired, at which point it is released and falls. The place of the drop hammer is in the lighter class of smith's work, as that of the steam hammer lies in the heavier, but the piston in there is much overlapping, since small steam hammers are rivals to the others in light forging. But, speaking generally, the largest volume of repetitive die forging or stamping of light articles is done under drop hammers. The small arms factories and the regular stamping shops scarcely use any other type. They may be roughly divided into three great groups; the belt, the board and the latest form—the Brett lifter. In each the hammer head or tup is lifted to any height within the range of lift, the height being controlled by the attendant at each blow. In most machines setting can be done at any constant height and the blows delivered automatically. Control is effected by hand or foot or both. Drop hammers generally have the advantage of working with greater rapidity than steam hammers.
The original drop hammers, which are believed to have originated with the locksmiths of Birmingham and district, consisted of a hammer head attached to a rope, one end of which ran up over a loose pulley suspended in the roof, and the other was pulled by a man or two men, so lifting the hammer, which was then allowed to drop. The principle is embodied in many belt hammers to-day, but the pulley is driven constantly by shafting, and when the attendant pulls at the free end of the belt the friction of the pulley draws the belt over and lifts the hammer until the attendant lets it go. The weight lifted is greater than in the old type, but the labour is nevertheless very severe, and the blows are not rapid enough for quick forging. A far better machine is the board hammer. In this (fig. 59) the place of the belt is taken by an ordinary strip of board which passes between two rollers at the top of the hammer, which rollers are belt driven. The rollers are fitted on eccentric

Fig. 59.—Drop Hammer—board type. (B. & S. Massey, Manchester.)
A, A, Standards.
B, Anvil, or baseblock.
C, Tup.
D, Board, fitting in slot in tup.
E, F, Rollers gripping and lifting board.
G, H, Pulleys actuating rollers through eccentrics J, K.
L, Rod by which the amount of lift is regulated.
a, Dog and lever adjustable on L, which strikes the edge b of the tup, releasing eccentrics and roller and allowing tup to fall.
c, Catch on which tup rests previous to release, fitted into either one of the row of holes beneath, to suit various heights of drop.
M, Mechanism struck by the edge d of the tup, which either keeps the roller F clear of the board D, allowing the tup to fall, or brings the rollers E and F into contact, and lifts the board and tup.
N, Hand-lever for operating hammer.
O, Foot-lever for ditto, connected by chain e.
f, Spring for lifting levers.
P, Rod with nuts g, to compensate for wear on the rollers by the adjustment of roller E.