Page:Popular Science Monthly Volume 41.djvu/654

This page has been validated.
636
THE POPULAR SCIENCE MONTHLY.

FURTHER STUDY OF INVOLUNTARY MOVEMENTS.[1]

By JOSEPH JASTROW, Ph. D.,

PROFESSOR OF EXPERIMENTAL AND COMPARATIVE PSYCHOLOGY IN THE UNIVERSITY OF WISCONSIN.

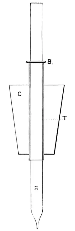
IN a former article (Popular Science Monthly, April, 1892) various illustrations were given of the involuntary movements of the hand toward the object or locality to which the subject was giving his attention: whether he were counting the strokes of a metronome or the oscillations of a pendulum, reading colors or Fig. 1.—Device for recording Movements. The glass rod, R, moves freely up and down in the glass tube, T, held in the cork, C. The rubber band, B, prevents the rod from falling through the tube. words, thinking of a building, locality, or hidden object, a very fair though variable index of the direction of his thoughts could be derived from the involuntary movements of the hand. The record was obtained by means of an apparatus called the automatograph, the essential parts of which were a pair of glass plates, suitably mounted, and between them three well-turned brass balls; the hand rests upon the upper plate, which, upon the slightest impulse, rolls upon the balls, and the movement thus imparted to the plate is recorded. The recording device may be used separately, and is shown in full size in Fig. 1. There is a cork C, pierced by a glass tube T, within which a pointed glass rod R moves freely up and down; a rubber band B is useful in raising the pencil from the record as well as in preventing the rod from falling through the tube. The record is made upon a piece of glazed paper stretched over the glass of a ground-glass drawing-frame, such as children use for tracing outlines; the paper is blackened with lamp-soot, and the record may be made permanent by bathing it in shellac and alcohol. This recording device, without anything else, will record involuntary movements: the cork is held in the extended hand with the rod over the record-plate, which is placed upon a table; or, again, the record-plate may be held in the hand and the recording device held firmly over


  1. The results of this paper were obtained with the co-operation of Thomas P. Carter and Edward P. Sherry, of the class of 1892, University of Wisconsin.