Page:Popular Science Monthly Volume 43.djvu/756
on both generator and motor, it is evident that the armature coils of the motor will be traversed by successive positive and negative electrical impulses at just the right time, if the armature rotates in unison with that of the generator, as both armatures then pass through like portions of their magnetic fields during the same current phase. If these alternating current impulses are not, however, properly timed, they will interfere with each other and the motor armature will not rotate. It is possible, then, to utilize the alternating-current dynamo as a motor, but only on the condition that it runs synchronously with the generator. Evidently it must first be brought up to the speed of the generator before the conditions are realized that will keep it in motion. As a practical motor it has therefore the fatal defect that it will not start of itself, and it has the further one that it is readily thrown out of synchronism by a slight excess of load, and is then speedily brought to a standstill.
Clearly an apparatus so sensitive as this could not be relied upon for commercial work nor expected to stand as a solution of

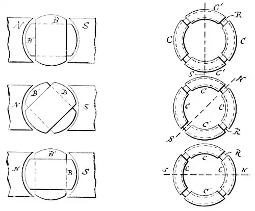
Fig. 6.—Diagram illustrating Principle of Tesla Motor.
the alternating-current motor problem. When Mr. Tesla took up the question he sought for a new principle of action and found it in what has since come to be known as the multiphase current. He conceived that by providing the armature of his generator and the field of his motor with two more sets of coils, connected so as to form distinct circuits, he would be able to produce a progressive shifting of the magnetic poles of the motor field, and thus drag around an armature capable of magnetic induction and placed within the sphere of influence of his rotating field. This