Page:Popular Science Monthly Volume 63.djvu/111

This page has been proofread, but needs to be validated.
HERTZIAN WAVE WIRELESS TELEGRAPHY.
107

closed lines of strain in the ether which move off through space, forming, when cyclically distributed, an electric wave.

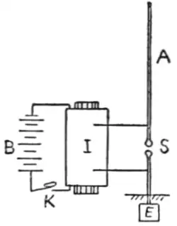
We may next proceed to apply these principles to the explanation of the action of the simplest form of Hertzian wave telegraphic radiator, viz., the Marconi aerial wire. In its original form this consists of a long vertical insulated wire A, the lower end Fig. 3. Simple Marconi Radiator. B, battery; I, induction coil; K, signalling key; S, spark gap; A, aerial wire; E, earth plate. of which is attached to one of the spark balls S of an induction coil I, the other spark' ball being connected to earth E, and the two spark balls being placed a few millimeters apart (see Fig. 3). When the coil is set in action, oscillatory or Hertzian sparks pass between the balls, electric oscillations are set up in the wire and electric waves are radiated from it. Deferring for the moment a more detailed examination of the operations of the coil and at the spark gap, we may here say that the action which takes place in the aerial wire is as follows: The wire is first charged to a high potential, let us suppose, with negative electricity. We may imagine this process to consist in forcing additional electrons into it, the induction coil acting as an electron pump. Up to a certain pressure the spark gap is a perfect insulator, but at a critical pressure, which for spark gap lengths of four or five millimeters and balls about one centimeter in diameter approximates to three thousand volts per millimeter, the insulation of the air gives way, and the charge in the wire rushes into the earth. In consequence, however, of the inertia of the medium or of the electrons, the Fig. 4. Lines of Electric Strain (Dotted Lines) extending between a Marconi Aerial A and the earth ee before discharge.charge, so to speak, overshoots the mark, and the wire is then left with a charge of opposite sign. This again in turn rebounds, and so the wire is discharged by a series of electrical oscillations, consisting of alternations of* static charge and electric discharge. We may fasten our attention either on the events taking place in the vertical wire or in the medium outside, but the two sets of phenomena are inseparably connected and go on together. When the aerial wire is statically charged, we may describe it by saying that there is an accumulation of electrons or coelectrons in it. Outside the wire there is, however, a distribution of electric strain, the strain lines proceeding from the wire to the earth (see Fig. 4).