Page:Popular Science Monthly Volume 75.djvu/29
disk has received a slight backward component of velocity and every particle in the lower half of the disk has received a slight forward component of velocity. Therefore, during the short interval of time, every particle of the upper half of the disk must have been gaining velocity backwards and every particle in the lower half of the disk must have been gaining velocity forwards, so that unbalanced forces must have been pushing backwards on every particle in the upper half of the disk and pulling forwards on every particle in the lower half of the disk, or, in other words, a torque must have been acting about the line EE' as an axis as shown by the two arrows FF in the side view.
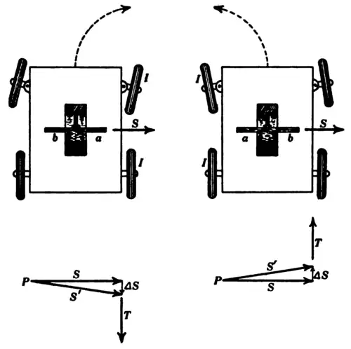
Gyrostatic Action of the Fly-wheel of the Automobile Engine
Figs. 11 and 12 show top views of an automobile, the curved dotted arrows represent the turning of the automobile around a curve, and the

| Fig. 13. | Fig. 14. |
straight arrows S represent the spin of the fly-wheel shaft. The arrow S in the vector diagram of Fig. 11 or 12 represents the spin-momentum of the fly-wheel at a given instant, the arrow S' represents the spin-momentum at a later instant, ΔS represents the increment of spin-momentum, and the arrow T represents the torque which must act upon the fly-wheel shaft.
To produce this torque the bearing a must push upwards on the engine shaft and the bearing b must push downwards on the engine