Steam Locomotive Construction and Maintenance/Chapter IV
CHAPTER IV
FORGINGS, SPRINGS, ETC.
Forging and Smithing Departments.—Locomotive forgings include work done in three different departments, to which may be added a fourth, the spring shop. Strictly speaking, the forgings proper are large pieces such as crank and straight axles, connecting rods, etc., which are made under the steam hammers in the large forge. In many cases forged axles are purchased outside from the manufacturers.
A second department consists of the blacksmith’s shop, in which smaller parts of wrought iron or mild steel are made by welding. There is also the third or “stamping” department, in which a large number of parts, formerly made by the blacksmith, are now stamped to shape in dies under gravity or “drop” hammers.
All wrought iron and mild steel parts of a locomotive, such as axles, connecting and coupling rods, piston rods, the machinery or “motion,” and a large number of other details are made in one or other of these departments. The springs are made in the spring shop by the spring smiths, and their manufacture is an art requiring special knowledge. Frequently they are purchased outside.
_Steam_Locomotive_Construction_and_Maintenance_Fig10.png)
Fig. 10.—Blocks for Forging Straight Axles.
finished, the other is treated similarly. As the axle has to be machined, about ¼ in. of metal is left all round for turning, and the proper length is tried over with a template.
This method of swaging or forming the shape in dies is characteristic of nearly all locomotive forgings, when any quantity has to be made. Naturally it does not pay to make expensive dies when only one or two similar forgings are required. In such cases the forgeman has to work out the shapes with such ordinary swages and tools as are usually to be found in a forge.
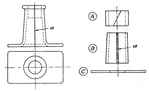
The most difficult forging, and the one requiring the greatest care is that for the crank axle.[1] The ingot is heated in a large furnace, having at the same time a “porter” bar or staff welded to one end at p (Fig. 11a). The “porter” is a long taper bar, which serves for the handling of the work by the forgeman, and is supported by a crane chain. Frequently it is welded to the ingot whilst the latter is being made. The ingot is first hammered down under a heavy steam hammer to a rectangular shape with chamfered edges as shown in Fig. 11a. This slab will be about 24 or 25 ins. deep × 12 ins. wide, and nearly 6 ft. long, and weighs about 2¾ tons without the “porter.” Whilst still hot it is taken to a hot saw, close at hand, and four saw cuts are made as shown at a, which extend nearly half way through the depth. The part b₁ is then removed either by cutting with a hot saw along the dotted line, or by means of a special cutting tool, and then the remaining portion c (Fig. 11b) is roughly rounded in swage blocks_Steam_Locomotive_Construction_and_Maintenance_Fig11.png)
Fig. 11.—Stages in Forging a Crank Axle.
As the two cranks have to be at right angles to each other, one of the two parts f₁f₂ has to be twisted through 90°. This is done by firmly holding the crank f₁ supposing this to be the one to remain in its original position, between the tup and the anvil of a steam hammer, and then by means of hydraulic or other pressure applied at the end of a very large spanner, to provide sufficient leverage, the other arm f₂ is gradually bent round at a right angle. Lastly the ends of the crank webs are rounded at g under the hammer, and the appearance of the axle is then as shown in Fig. 11c. The right angle must be tested with a square, and all the dimensions checked to gauges to see that enough material is left throughout to enable the machining to be done subsequently to proper finished sizes. The whole of the above operations require several heats, and the greatest care must be taken in this respect, so that no re-heating is done until after mechanical work, e.g., hammering, has been done on the axle, otherwise the internal physical structure of the steel will suffer injury. Finally all crank axles are re-heated and generally cooled in oil, the scientific considerations underlying “heat treatment” being, however, beyond the scope of this primer. Test pieces are taken from the parts machined off the webs of each axle, and subjected to rigorous tensile and cold bending tests. An oil treated crank axle should have an ultimate tensile strength of not less than 35 tons per sq. in. with an elongation of not less than 20 per cent, in a length of 2 ins.
There are other methods of making crank axles by building up the second crank web with slabs welded to the bloom in such a way that the twisting of this web through a right angle is avoided. In some foreign works the webs are swaged in dies in their proper positions at right angles.
_Steam_Locomotive_Construction_and_Maintenance_Fig12.png)
Fig. 12.—Buffer Forging
in blocks cut out to suit those shapes. The whole work is done under the steam hammer.
Buffer heads form a good example of forging in die blocks under a steam hammer. They are usually made of wrought iron scrap, piled and heated in the furnace and hammered into “blooms.” Each bloom is then re-heated and hammered in suitably shaped blocks into the form shown in Fig. 12a, with a shank about 2 ft. long having a ball about 7 in. in diameter at one end. The shank is then placed in other blocks of which a section is shown at B, for the steam hammer to flatten the ball and form the head of the buffer. The bottom of the three blocks is firmly secured to the anvil of the steam hammer. The middle block is loosely dropped into a recess machined in the bottom block, and has a cup shaped depression at the top to suit the shape of the buffer head when finished. The top block is secured by wedges to the tup of the steam hammer. The two bottom blocks are made with a central hole to take the shank of the buffer. After the buffer head has been hammered to shape the “fin” of metal round it is cut off, after which the finished piece appears as shown at C. The middle block being loose can be rotated by the forgeman during the hammering, by placing a bar in the recess a shown in the side. All such blocks are machined and fitted together, and the exact shape of the forging is cut out in them.
![]() | |
| Fig. 13.—Forged Buffer Casing | Fig. 14.—Pieces for Forged Buffer Casing |
The joint a is merely closed together and not welded. The whole of the work is done under a 100 ton hydraulic forging press with two rams horizontal and vertical. One ram holds the work and dies in place, and then the other ram is set in action and squeezes the parts together.
_Steam_Locomotive_Construction_and_Maintenance_Fig15.jpg)
Fig. 15.—Stamping Shop with Drop Hammers.
By Brett’s Patent Lifter, Co., Ltd. (Coventry).
_Steam_Locomotive_Construction_and_Maintenance_Fig16.png)
Fig. 16. Underhung Laminated Spring.
Spring Shop. In this department, the springs are made and tempered, the eyes or hooks being welded on to the top plates. Fig. 16 shows a locomotive spring. The plates are maintained in position by small projections or “nibs” on each plate which work in slots cut in the plate immediately below it. The plates have to be “set” to the required curvature, and are then tempered by oil treatment. Finally they are put together and held securely whilst the central hoop or “buckle” is shrunk on. The buckles are forged solid, and machined inside where they pass over the plates. A double eye to take the axlebox pin, is forged on for underhung springs.
- ↑ An illustration of a crank axle is given in the primer on The Steam Railway Locomotive.
_Steam_Locomotive_Construction_and_Maintenance_Fig13%252B14.png)