The New International Encyclopædia/Telegraph
TELEGRAPH (from Gk. τῆλε, tēle, afar + γράφειν, graphein, to write). The transmission of messages by means of electricity. With the discovery that electric currents could be transmitted instantly over long distances came the idea of employing them for signaling, and in 1774 Bishop Watson made some experiments in discharging Leyden jars through 10,000 feet of wire, suspended on wooden poles, in the neighborhood of London. In the Scots Magazine in 1753 a detailed description of a plan for electric telegraphy is given, and in 1774 a telegraphic line was erected by Lesage at Geneva, Switzerland, which consisted of twenty-four wires connected to pith-ball electroscopes (q.v.). each representing a letter. When the connection between the frictional machine or charged conductor and any electroscope was made the pith-ball was repelled. The difficulty of using frictional machines, the only method for producing electricity then known, however, prevented the attainment of any practical results in this direction before the discovery of the voltaic cell. In Germany the invention of the telegraph is credited to Sömmering of Munich, whose original apparatus, constructed about 1809, was exhibited in operation at the Congress of Electricians at Frankfort in 1891. This instrument consisted of a series of voltameters each corresponding to a certain letter or signal. On closing the key in any circuit the signal was transmitted to the corresponding voltameters and the water in the appropriate tube was decomposed. A similar plan was proposed about the same time by Dr. J. R. Coxe, of Philadelphia. Immediately after the discovery of electro-magnetism by Oersted, in 1S20, Ampère determined to apply the idea to telegraphy, and read a paper before the Paris Academy of Sciences on the use of coils of wire surrounding magnetic needles instead of voltameters for this purpose. Baron Schilling in 1832 exhibited a telegraphic model in Russia in which the letters were represented by the deflections of a single needle. Weber and Gauss modified this plan by using a magnet suspended horizontally, to which a mirror was attached. This arrangement enabled the passage of extremely weak currents to be ob- served as a beam of light from a lamp was reflected from the mirror mounted in connection with the suspended needle and produced a bright spot which moved along a screen with any deflection of the needle under the influence of the current. The idea was subsequently employed by Thomson in the reflecting galvanometer. Steinheil of Munich was the first to notice the important fact that by using the earth as a conductor no return wire was needed. He also invented a code of using but two elementary signals in different combinations, and an instrument for recording the characters on a moving strip of paper in the shape of two rows of dots. In America the invention of the telegraph is generally attributed to S. F. B. Morse (q.v.), though the principles on which it is based were first discovered by Joseph Henry (q.v.), who, however, failed to make any practical application of his discoveries. The electro-magnet on which the action of the telegraph depends was devised by Sturgeon of England and consisted of a piece of iron of horseshoe form surrounded by coils of wire. Henry, however, was the first to construct electro-magnets in a useful form, so that they were able to sustain considerable weights and to produce this magnetic effect by the action of a distant battery. In the Albany Academy in 1832 he had a mile of wire strung, through which he passed a current which flowing through an electric magnet caused it to attract an armature and strike a bell, thus giving an audible signal. In 1835 at Princeton, where he became professor, he used one circuit with an electro-magnet to open and close another circuit containing a battery and powerful magnet. He also had a wire stretched across the campus through which he transmitted the current, using the ground for a return. In 1832 Morse first conceived his idea of the telegraph, and for a number of years was engaged in bringing the invention to a successful outcome, it being publicly shown in 1837 in New York and other cities. In the development of the invention Morse was assisted by Alfred Vail, who was a partner in the enterprise and supplied much of the mechanical skill necessary for the construction of the apparatus, as well as capital, and many of the most important features are due entirely to his ingenuity. The telegraph was established as a commercial enterprise in Germany with Steinheil's system, in America with Morse's, and in England with Wheatstone and Cooke's. The first telegraph line in commercial operation was between Paddington and Drayton, in England, in 1837, and was thirteen miles in length. This antedated by about seven years the Morse line, which was constructed between Washington and Baltimore and successfully inaugurated in 1844. The printing telegraph was first suggested by Vail, in 1837, and in 1841 Wheatstone made an instrument for this purpose, though in neither case did the invention come into extended use. The Wheatstone apparatus did not work well, except through comparatively short distances, and at a very low rate of speed, being altogether inferior to the Morse telegraph. The superior efficiency of the latter in working direct through long distances was caused by the application of the relay and local circuit. In October, 1851, a convention of deputies from Austria, Prussia, Bavaria, Württemberg, and Saxony met at Vienna to decide upon a common and uniform telegraph system. By this convention it was decided that the Morse system was practically the best, and it was therefore adopted, and at the present time this Morse system, or a modification of it, is in general use throughout the world.
In the Morse system the temporary magnetic attraction produced when a current of electricity sent along the wire is passed through a coil was used to impart a slight movement to a lever placed near the magnet, thereby giving a visible indication each time the current was sent through the wire at the distant station. Different combinations of current, each impulse being of momentary duration, were arranged to represent the letters of the alphabet, and by this means messages were spelled out over the wire from Washington to Baltimore. This is the foundation of all electric telegraphs, though the application of the principle is modified in innumerable ways, for the purpose of permitting the transmission and the reception of messages to be done in various methods that are convenient for special places and uses. The numerous instruments so employed may be classed under two heads—namely, those which record the signals so that they may be read at any time after the message is received, and those which give only a passing signal, indicated by a sound or a motion, and which, therefore, require the constant attention of a receiving operator. Among the former are several kinds—namely, those giving a record in arbitrary signs—i.e. in the dots and dashes of the Morse alphabet; those which print the message in ordinary type, such as the modern type-printing instrument, and lastly, a class of instruments giving a facsimile of the message, which, however, are not much used. See Telautograph.
The Morse Telegraph and Morse Instruments. The leading principle in the Morse instruments is that by the depression of a key, or by other means, at the sending station an electric circuit is ‘closed’ or completed, and a signal is transmitted along the wire to a distant receiving station, where on its arrival it reproduces the signal by the action of an electro-magnet, or otherwise.
In its simplest form the Morse telegraph includes a battery or other source of current, a key to break the circuit, and a line wire connecting with a sounder or recording apparatus at the distant station, the return circuit to the battery being formed either by another wire or by the ground. To send signals in either direction a sounder and key must be provided at each station.
The Sounder or receiver used is shown in the illustration, and consists of an electro-magnet of horseshoe form firmly mounted on a base. The coils are wound with insulated wire and are inclosed in cylinders of hard rubber or vulcanite. Supported by an upright casting of brass is a lever balanced on the points of two screws, which carries transversely to its length an armature of soft iron. This piece of iron is directly above the poles of the electro-magnet, so that when the current passes through the coils it is attracted with sufficient force to produce a sharp click when a screw at its end strikes the surface of the metal. By means of a spring, whose tension can be adjusted, the lever is held in such a position that the armature does not come in contact with the poles of the electro-magnet until the latter becomes magnetized by the passage of the current and attracts it. When the current ceases to flow and the core is demagnetized, the spring brings the lever back to its former position and another click results as the lever strikes a screw in the frame. If the sounder is to be used on a local circuit, as will be explained below, its resistance is generally about four ohms, but when it is on a main line where there are no relays it has a resistance of about twenty ohms, though these resistances are varied to suit conditions of line and battery or dynamo. In order to obtain a clear, loud click from the sounder it is necessary to have about one-quarter of an ampere of current flowing through the coils.

SOUNDER.
The Transmitting Key. The ‘key’ by which signals are transmitted from the operator at the sending office is shown below in its usual form. It consists of a lever pivoted near the middle and carrying at one end a knob by which it is manipulated by the operator in sending signals. Two platinum contacts are fastened respectively to the under side of the lever and to an insulated piece on the upper side of the base. These contacts are exactly opposite to each other, so that they come together every time the key is depressed. The lever is held up, when the key is not depressed by the operator, by a small spiral spring. One end of the line wire is connected to the sounder and then to the metallic base of the key from which the current passes through the pivots to the lever and the small contact point attached to its under side. One terminal of the battery is connected with the small insulated piece supporting the lower contact while the other goes to the ground or return wire. By this arrangement no current can pass through the line until the key or lever is depressed, since the terminal of the wire which is fastened to the contact is insulated and the current has no means of reaching the other part of the wire. When it is desired to send the current the knob is depressed, and the current from the battery, finding a passage between the two contacts, passes from one end of the wire to the other and proceeds upon the line wire to the distant station. The length of time during which the key is depressed determines the length of time between the upward and downward clicks of the sounder at the other end of the line. Thus if the operator presses down the handle and releases it quickly the keeper of the sounder will go down and up, immediately indicating a ‘dot’ or the letter ‘E,’ while if he presses the key and holds it down a moment before releasing it. there will be a longer interval between the downward and upper clicks of the sounder, and a ‘dash’ or the letter ‘T’ will be produced. In early instruments, before the operators read the messages by the clicks, the receiving instrument was arranged to make a record of the signals upon a moving strip of paper. For this purpose a pen or sharp point was attached to a lever, and a strip of paper, kept in motion by clockwork, was arranged to pass under the pen, so that a mark was produced by the pen every time the lever was pulled down by the magnet. If the lever was immediately released a dot was recorded, but if the lever was held down a moment a longer mark called a dash was produced.

AMERICAN MORSE KEY.
The signals used at first were arranged for making a record with a crude instrument of this kind; and while the increasing skill of the operators soon enabled them to read the signals directly from the clicking of the instrument without looking at the tape, the signals are still spoken of as consisting of so many dots and dashes, as if recorded on paper. These registers are to-day but little used, being seen occasionally in district telegraph stations or with fire-alarm apparatus.
The Morse Alphabet. Before going further the details of the alphabet may be given. The only elements which can be combined for making telegraphic signals in the Morse system are the dot, the dash, and the space, and the alphabet is made up of the simplest combinations of these that can be made. The preference of the shortest combinations is given to the letters which are most frequently used. This alphabet or code of signals was due to Morse's assistant and collaborator, Alfred Vail, and was based on the frequency with which the different letters occur. This was verified by consulting with printers and examining their type cases. The simplest signal, a dot, was given to ‘E’ and the next simplest, a dash, to ‘T,’ those letters occurring most frequently in our language. Between the separate signals of every single letter comes the space which is equivalent to a dot except in the case of C, O, R, Y, Z, when a lengthened space equivalent to two dots is used.
American Morse Characters

Owing to the fact that in some of the early telegraphs used in Europe the space could not be employed as part of any of the signals without causing confusion, it was necessary to rearrange the combinations of dots and dashes, so as to form the whole alphabet with the dot and dash without the use of the space. This alphabet is known as the Continental Morse alphabet. It is used throughout Europe and in all submarine telegraphy, having been adopted by an international conference.
Continental Morse Alphabet

The Battery. For the generation of power in the electric telegraph, the gravity batteries (see Voltaic Cell or Battery) are chiefly employed in the United States. Various forms of the Daniell battery are also used, especially in Europe. The number of cells employed varies with the length of the line, the conditions of the wire as regards insulation, and the nature of the instruments used. It is quite common in the United States, especially in cities where many lines centre, to employ dynamos driven by steam engines for generating the current in place of batteries, or to make use of storage batteries.
The Circuit. The mode of joining up two or more stations by means of the line wire is shown in the figure. It being necessary to furnish a complete circuit or path for the current from the battery over the line and back to the battery, a return connection is required. In practice, this return connection is made by simply connecting the instruments at each station with the earth.

Assuming S and S' to be the telegraph stations, with the wires grounded at P and P' (see subsequent paragraph), B and B' are the batteries, M and M' the sounders, while K and K' are the transmitting keys. The connection at the key is always completed by a supplementary switch, when the key is not being used to send a message, in order that the path may be complete for the reception of any message from the other office.
In sending a message the switch is first opened and then the key is depressed. A current of electricity will pass from the battery along the line wire, around the magnets, drawing down the armature and making a click; thence down to the earth plates and through the earth back to the battery.
The operator at the sending station in transmitting a message opens his switch and depresses his key, so as to send a series of dots and dashes corresponding to the letters to be sent to the distant station. These are heard by the receiving operator, who writes down their meaning as fast as received. The above represents the closed-circuit system, such as is employed in the United States and Canada. In the open-circuit system the current flows over the wires and through the instruments only when the sending operator depresses his key. This involves a battery at each station, which is used, however, only when signals are being transmitted.
The Line. The wire or series of wires are usually supported on poles placed along the sides of a road or railway. In cities the wires are sometimes carried over houses or in underground pipes or conduits, the conductors in the latter case being insulated by means of a gutta-percha or other suitable covering. In pole and over-house lines, the wires are kept from each other and the current from escaping to the earth by insulators of glass. In Europe white porcelain and brown stoneware insulators are used, and the former substance, when of good quality, well glazed and well burned, is perhaps the most perfect of all insulating materials, and does not deteriorate with age. The fewer the poles on which the wires are suspended, the better is the insulation and the less the cost, but the liability to accident is greater. The number of poles used varies from 30 to 50 per mile, and is governed by the number of wires carried, the configuration of the road or track, and other considerations. On road lines, the number of poles is generally larger than in the case of wires carried alongside railways, the greater level and straightness of the latter reducing the number of supports required, and thirty-five to forty to the mile is considered an average. The wire chiefly used for overland telegraph purposes is of iron, galvanized, and of No. 8 (1-8 inch) or No. 6 (1-6 inch) gauge, or copper of somewhat smaller diameter, the latter being preferred on account of its greater conductivity. The conductivity of a wire increases in the ratio of the square of its diameter (the resistance decreasing in inverse ratio), and the advantage of using a thicker wire on the longer lines is thus seen. No. 4 wire is, for this reason, used on some of the longer lines.
The Earth—Earth Currents. Mention has been made of the ‘earth’ in the preceding description. This is the technical term used in relation to the fact, discovered by Steinheil in 1838, that the earth itself serves the purpose of completing the circuit, and renders the employment of a second or return wire unnecessary. The ‘earth’ may consist of a buried plate of metal connected with the battery or line wire, and of sufficient surface to afford the necessary contact, with sufficient earth to make a good connection, it being understood that a small quantity of earth does not connect well. Gas or water pipes form excellent ‘earths,’ care being taken that the connection is made with the main pipe itself, and not with a branch, where a badly made point might spoil the connection. Where similar ‘earths’ are in use, as, for instance, a copper plate at one end and an iron pipe at the other, a quasi battery is created, and minute currents pass along the line; these, however, are too weak to be of consequence. The earth, being of great size, offers no sensible resistance to the passage of the current, in the same way that a large wire offers less resistance than a thin one. While this quality of the earth is one of the most valuable aids to telegraphy (reducing so materially the cost of wire erection), it presents at times those embarrassing interruptions known as earth currents. These currents, at all times unwelcome visitors to a telegraph office, are very variable, changing rapidly from positive to negative, altering their direction with the hour of the day, and leaving one circuit to appear on another in a manner not explainable.
The Relay. There are several methods by which the transmission of signals is facilitated or accelerated. First among these may be placed the relay. In the previous description of the Morse system, we have assumed the instrument to be worked directly by the current sent along the line. On long circuits, however, direct working could only be accomplished by great battery power, owing to inevitable loss by leakage, experienced by a current before it reaches its destination. Consequently what is known as a relay is used and the sounder or recording instrument is worked by a ‘local current’ derived from a local battery at the receiving station. This is accomplished in the following way: The receiving instrument connected to the line instead of being made heavy enough to give an audible sound by which the signal may be understood, is made extremely light and delicate so that it can be operated by a weak current.

RELAY.
This relay consists of an electro-magnet wound with a large number of turns of insulated wire and an armature on a lever to which is attached a contact point which strikes another stationary contact when the lever is drawn toward the magnet, closing a circuit through these extra points in precisely the same way that the usual signaling key is worked. These contacts are connected by short wires with a regular sounder and a small battery. Whenever the lever of the relay is attracted it closes this extra or local circuit and causes the sounder to respond to every signal precisely as if it were connected directly to the main line.
Duplex-Working. The first suggestion of using a single line for more than one message was due to Moses G. Farmer of Boston, who in 1852 devised a method for this purpose and carried on successful experiments on a small scale. In 1853 Dr. Wilhelm Gintl first made use of the differential relay, and on the line between Vienna and Prague worked a method from which the modern practice of duplex telegraphy may be said to date. This system was rendered more successful in the following year by Carl Fischen of Hanover, and his invention was acquired by Siemens and Halske of Berlin, who had almost simultaneously devised a similar method. This improved system was introduced into Austria and from time to time there followed improvements devised by Stark and others. In England a duplex system was invented by Preece, while in other countries various methods from different inventors were forthcoming. In 1868 J. B. Stearns of Boston invented a system of duplex telegraphy which has since been used most successfully on many lines throughout the United States. The theory and practice of modern duplex telegraphy are somewhat complex and difficult to understand, but an outline of the principles involved may be given. In the differential method, which is largely used on land lines, there is what is known as a differential relay, that is a relay wound with two sets of coils in each of which the current flows in a different direction. Consequently when two currents of equal intensity pass through such a relay their effects are neutralized and the wire does not become magnetized. At each station a relay of this kind is provided, and there are two complete circuits, one of which includes the line wire, while the other consists of resistance coils equivalent in resistance to the line and known as the artificial line. The key and battery are common to both circuits, the points of divergence being at the relay and at the ground. If the key at one station is depressed the current will flow through both sets of coils of the relay at this station without producing any magnetizing effect, but at the distant station it will traverse but one set of coils and will accordingly cause the relay to operate the local sounder. The same thing of course holds good for the distant station. If both keys are depressed simultaneously the two batteries will combine to produce an increased strength of current flowing through one set of the differential coils of each relay, and by virtue of this preponderance of current the armature of the relay will be magnetized. A modification of this method is known as the polar duplex system and employs at each station two batteries or dynamos, so arranged that the direction of the current flowing in the line depends on whether the key is at rest or depressed. The current divides as before at the relay, which, instead of being wound differentially, is known as a poor relay. Normally the currents going to the line flow from each station in such directions that they neutralize each other, while the other portions of the divided circuit flow over an artificial line and into the ground. Now when a signal is to be sent, the operator by means of a key or pole-changing instrument reverses the direction of the current, which passes through his relay without effect, but disturbs the conditions in that instrument at the distant station and causes an increased current in one of the sets of coils. This moves the armature and closes a local circuit, producing a click from the sounder. When both keys are depressed the currents in the two sets of coils of the relay connected with the line are neutralized as before, but the current flowing through the coils connected with the artificial line is greater and in the opposite direction, so it affects the relay and closes the circuit of the sounder. In addition to these methods there is also the bridge method, founded on the principle of the Wheatstone bridge. This method is used in the operation of the submarine cables. Duplex-working led to diplex, that is, two messages passing over a wire in the same direction at once, and this was followed by quadruplex and multiplex telegraphy. Quadruplex-working, whereby four messages were sent over one line, was the next development, and was first used by the Western Union Telegraph Company in 1874, and is now employed on all busy lines, particularly those between large cities. The first invention and one that has been most used was that of Edison, but improvement and new methods have been devised by Prescott, Gerrit Smith, and others.
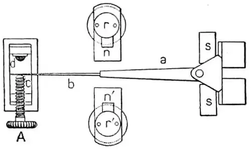
One of the principal instruments used for the purpose of distinguishing different messages which are sent over a wire at the same time is the polarized relay, which has already been mentioned. The object of the instrument is to distinguish between messages sent with a positive current and those sent with a reversed current. Thus two such instruments can be placed in an office, connected to the same wire and adjusted so that one will respond only to the messages sent with a positive current, while the other will respond only to those sent with a negative current.

POLARIZED RELAY.
The way in which this is arranged will be seen from the illustrations. In the diagram n s is a hard steel permanent magnet, whose south end, s, has a slit in which the soft iron armature a is pivoted. To this armature a thin aluminum tongue, b, is attached, which by making contacts on either side completes either of two local circuits, and operates either of two sounders, according to which side the tongue is attracted. The coils on the magnet are so connected that a positive current attracts the tongue to one side, while a negative current attracts it to the other.

DIAGRAM SHOWING ACTION OF POLARIZED RELAY.
Automatic Transmission. The speed of the ordinary Morse instrument is limited to the rapidity with which the hand of the operator can move the key, and averages about 25 to 40 words a minute. To increase speed automatic apparatus is used which trebles, and in some cases quadruples the carrying capacity of a wire, securing at the same time mechanical accuracy in the relative size of the dots, dashes, spaces, etc. To effect this, three different instruments are required: First, there is a perforator, by which holes are punched in a paper slip to correspond with the signals required. The operator strikes three punches, the central one producing a central hole, which is of no avail electrically, only carrying forward the paper; the left-hand disk producing two holes, directly opposite to each other, on the sides of this central row, and that on the right producing two holes, placed diagonally to each other. The passage of the electric current is regulated by the position of the outer holes; those opposite each other admit of a momentary passage of the current through the second portion of the instrument, i.e., the ‘transmitter,’ which is used in sending the message, while the holes diagonally placed produce a lengthened mark corresponding to the dash. The following diagram represents the word ‘and,’ as shown on the punched slip:

PUNCTURED TAPE.
This would be printed
| • — | — • | — • • | ||
| a | n | d. |
The third portion of this instrument is the ‘receiver,’ in which the currents sent by the action of the punched slips in the transmitter are reproduced in the dots and dashes of the Morse code—the printing being, moreover, done with a mathematical accuracy which keying by hand cannot attain. The speed of transmission depends on the length of the line and state of the atmosphere; but the movements of the clockwork, both of the transmitter and receiver, are capable of adjustment to any speed below 120 words per minute.
A system of multiplex telegraphy invented by Delany and employed in Europe provides for the simultaneous transmission of a number of messages either in the same direction or part in one direction and the remainder in the opposite direction. The apparatus consists of a number of contact pieces arranged on a circular disk or table, some of which are connected with the separate sending or transmitting instruments, while others are connected with local relays and batteries and the ground. A trailer or rapidly revolving arm connected with the line wire passes over these contact points so that the circuit is successively completed through the different instruments at one station, while a similar device at the other station, revolving synchronously with the first, makes connections with an equal number of instruments. The speed of revolution of the trailers is regulated by two tuning forks or vibrating reeds of the same pitch, and an ingenious synchronizing device keeps them always in unison. In this way it is possible to operate twelve different sets of Morse transmissions over one wire, and it is accomplished in the following manner. The first operator closes his key, and as the trailer passes around, it will make contact with the line wire and his instrument will be connected about 30 times in one second, thus transmitting that number of impulses. Now, if he desires to send a signal corresponding to a dot, he would close his key for a brief interval, which may be one-twelfth of a second, thus allowing three impulses of current to be transmitted over the line wire to the corresponding instrument at the other station, which is only in a position to receive the signals from the one transmitter. The same is true for the other operators and their instruments, each one employing the wire for a certain fraction of the time. Numerous other systems have been devised, important among which is the multiplex printing telegraph of Rowland, which has been successfully used in Europe. It employs an alternating current and four transmitters and receivers can be used in connection with one wire. There is a mechanical keyboard somewhat similar to that of a typewriter, while the signals are received and printed on a tape or upon ordinary letter pages in ‘typewriting’ characters.
In the United States the telegraph is entirely in the hands of private companies. The first company was organized in 1845 under the name of the Magnetic Telegraph Company by Morse's supporters and associates. In that year the telegraph was constructed between Philadelphia and Morristown and in the following year it was extended to New York. The House printing telegraph was patented in 1846, and soon after numerous companies were formed to exploit both systems. This was the case all over the United States, and soon the competition became most sharp and the lack of thorough organization apparent. In 1856 the Western Union Company was formed by the Erie and Michigan Telegraph Company uniting with the New York and Mississippi Valley Printing Telegraph Company. From this time combination and consolidation was carried on, the efficiency of the service increasing continually. In 1862 the telegraph across the North American continent was completed and in operation. By 1866 consolidation had taken place to such an extent that there were three telegraph companies which enjoyed the largest part of the business in the United States. These were the Western Union, the American Union, and the United States. In 1881 the Western Union absorbed the American Union and the Atlantic and Pacific, and at later periods purchased or leased the lines of the New York Mutual Telegraph Company, the Baltimore and Ohio Railway Telegraph, American Rapid Telegraph, and the Northwestern Telegraph Company, all of which are now operated as part of the Western Union system. The telegraph business of the United States is at present controlled by the Western Union and Postal Telegraph-Cable companies. The former in 1901 had 193,589 miles of poles and cable, 972,766 miles of wire, 23,238 offices, transmitted 65,657,049 messages, had receipts aggregating $26,354,151, expenses amounting to $19,668,903, and profits of $6,685,248. The average toll per message in 1870 was 75.5 cents, while the cost of transmission was 51.2 cents. In 1900 these figures were 30.8 cents and 25.1 cents, respectively.
The Postal Telegraph-Cable Company in 1901 had in its system 43,850 miles of poles and cables. 243,423 miles of wire, 14,870 offices, and transmitted 17,898,073 messages.
Land Telegraph Systems of the World (1902)
STATEMENT SHOWING MILEAGE OF LINES AND NUMBER OF MESSAGES DELIVERED IN EACH COUNTRY OF THE WORLD; ALSO THE NUMBER OF MESSAGES PER CAPITA
| COUNTRIES | Miles of lines |
No. of messages sent |
Messages per capita |
| United Kingdom | 46,295 | 89,576,961 | 2.15 |
| United States | 219,938 | 83,555,122 | 1.08 |
| France | 90,170 | 48,144,151 | 1.25 |
| Germany | 81,303 | 38,342,455 | .68 |
| Austria-Hungary | 47,304 | 29,427,615 | .65 |
| Russia | 98,670 | 18,376,969 | .14 |
| Japan | 14,734 | 16,737,150 | .38 |
| Commonwealth of Australia | 44,501 | 8,987,846 | 2.39 |
| New Zealand | 7,249 | 9,898,128 | 5.05 |
| Italy | 26,427 | 7,896,081 | .24 |
| Belgium | 3,975 | [1]14,411,487 | 2.15 |
| Spain | 19.885 | [2]5,058,104 | .28 |
| Argentina | 27,584 | 3,427,664 | .71 |
| India | 52,909 | 6,237,301 | .03 |
| Netherlands | [3]3,831 | [3]5,393,872 | 1.04 |
| Mexico | [4]32,486 | 2,604,710 | .19 |
| Canada | 35,628 | 5,181,680 | .96 |
| Switzerland | 5,698 | 3,950,162 | 1.19 |
| Turkey | 23,440 | 3,624,775 | .14 |
| Bulgaria | 3,270 | 1,356,041 | .36 |
| Egypt | 2,365 | 4,250,571 | .44 |
| Roumania | 4,344 | 2,224,539 | .38 |
| Cape Colony | 7,467 | 3,562,039 | 1.51 |
| Sweden | 5,958 | 2,580,258 | .50 |
| Denmark | [3]2,413 | [3]2,317,979 | .94 |
| Norway | [5]9,040 | 2,267,915 | 1.01 |
| Portugal | 5,180 | 3,420,453 | .63 |
| Brazil | 12,630 | 2,662,711 | .02 |
| Chile | 14,592 | [6]1,286,936 | .41 |
| Greece | [7]5,300 | 1,771,606 | .73 |
| Servia | 2,550 | 1,079,435 | .43 |
| Guatemala | 3,400 | 796,192 | .51 |
| Cuba | 2,300 | ............... | ...... |
| Uruguay | 4,601 | 397,493 | .42 |
| Colombia | 8,600 | [8]555,000 | .14 |
| Persia | 4,800 | 152,837 | .08 |
| Peru | 1,933 | 121,492 | .03 |
| Paraguay | 600 | 83,560 | .16 |
| Venezuela | 3,882 | ............... | ...... |
In striking contrast to the system of private companies of the United States is the governmental control of the telegraphs as practiced in Great Britain and other European countries. In Great Britain previous to 1870 the telegraph business was controlled by private corporations, but in 1868 a bill was introduced into Parliament and passed in the following year whereby the lines and property were acquired by the Government at an expense of £6,750,000. In 1869 there were about 7,000,000 messages sent, a number which increased to 22,459,775 in 1879, and 90,413,123 in 1900. In this last year the receipts from telegraphs were £3,460,492 and expenditures £3,748,930, leaving a deficit of £288,438. This deficit is due largely to the reduced rate at which newspaper messages are transmitted, there being an actual loss of over £250,000 on this class of business. With governmental ownership have come improved service and reduced rates. Where in 1870 it cost from 3 to 6 shillings to send a message from London to Dublin, now a message of 12 words can be sent anywhere in the United Kingdom for 6 pence. In 1867 the average charge for a message was a little over 50 cents; now it is slightly more than 15 cents. In 1900 the Post-office Department controlled 11,188 telegraph offices, including 2337 railway offices, while the mileage of line is stated at 44,970, with 329,660 miles of wire.
Bibliography. Houston and Kenelly, Electric Telegraphy (New York, 1896); Loring, A Hand Book of the Electro-Magnetic Telegraph (New York, 1900); Maver, American Telegraphy: Systems, Apparatus, Operation (2d ed., New York, 1899); id., Quadruplex, with Chapters on the Dynamo Electric Machine in Relation to the Quadruplex (New York, 1893); Pope, Modern Practice of the Electric Telegraph (16th ed., New York, 1899); Prescott, Electricity and the Electric Telegraph (New York, 1892); Culley, Handbook of Practical Telegraphy (8th ed., London, 1885); Preece and Sivewright, Text Book of Telegraphy (9th ed., London, 1891); Bright, Submarine Telegraphy (London, 1898); Reid, History of the American Telegraph (New York, 1882). See also Atlantic Telegraph; Telegraphy, Submarine; and Wireless Telegraphy.
- ↑ Including official dispatches.
- ↑ Including international and official messages.
- ↑ 3.0 3.1 3.2 3.3 State offices and State lines, respectively, only.
- ↑ Of which 19,085 miles were owned by the Federal Government.
- ↑ Including telephone lines and wires.
- ↑ Sent over State lines only.
- ↑ Including submarine lines.
- ↑ Estimated.