Tropical Diseases/Chapter 1
TROPICAL DISEASES
Section I.—FEVERS
CHAPTER I
MALARIA
Definition.—Morbid conditions produced by certain protozoal parasites belonging to the class Sporozoa, whose definitive host is the mosquito, and whose intermediate host is man and, possibly, other vertebrates. In man these parasites inhabit the red blood-corpuscles, giving rise to fever usually of a periodic character, anaemia, enlargement of the. spleen, and the deposit of a black pigment in the viscera and elsewhere. Some of their phases are amenable to quinine.
HISTORY
The history of malaria goes back to times of remotest antiquity. Already in the fifth century B.C. Hippocrates recognized the existence of periodic fevers, and divided them into quotidian, tertian, subtertian, and quartan. Galen, Celsus, and other Roman writers also gave accurate descriptions of these fevers.
From the classic period until about the middle of the seventeenth century there was no material advance in knowledge regarding malaria, but the introduction of cinchona in 1640 enabled Morton and Tort to separate the malarial fevers from other febrile diseases, and to show that some continued and remitting fevers belong to the same group as the intermittents.
The next important step was the discovery of the characteristic pigmentation of the viscera in malaria. In 1847 Meckel described certain pigment-bearing cells which he had found in the spleen and in the blood at the post-mortem of a patient who had died of malaria. Virchow was able to confirm this observation, and Planer in 1854 noted these pigmented cells in fresh blood from the finger of malarial patients. These cells were, of course, the malarial parasites, although their true nature was not apprehended at the time.
The parasitic nature of malaria, which had been suspected since the days of Varro and Columella, was definitely established by Laveran, who in 1880, having noticed the eruption of long motile filaments from the pigmented cells described by Meckel and Planer, was the first to recognize their parasitic character.
Laveran's observations were soon extended by Marchiafava, Celli, Golgi, Bignami, Bastianelli, and other investigators, but especially by Golgi, who demonstrated the definite correlation between the development of the parasites and the periodicity of the fever paroxysms, and showed that the different types of malarial fever correspond to different species of parasites.
The association of the malarial parasites with certain mosquitoes, suggested by epidemiological facts, and by certain phases in the life-history of the parasite indicating the necessity of alternation of generations, together with a change of host as in other haemoparasites, was definitely established by Ross's investigations and the experiments carried out by the Italians and ourselves.
Finally, the application of these recent discoveries to the diagnosis and prevention of malaria has led to practical measures which have already been fruitful in good results and promise yet more.
PROOFS THAT THE MALARIA PARASITES ARE
THE CAUSE OF MALARIAL DISEASE
It is now placed beyond doubt that the presence and proliferation in the blood of these parasites are the cause of what was formerly and is still known as "malarial disease." The following is a summary statement of the principal reasons for this belief:—
1. The occurrence of the parasites in the blood is practically always, sooner or later, associated with the clinical phenomena of malarial infection.
2. Malarial fever throughout, or at one time or another during its course, is invariably associated with the presence of one or other of these parasites in the blood.
3. The phases of a malarial fever bear a definite relation to the phases of the life-cycle of the particular parasites present in the blood.
4. That absolutely characteristic feature of malarial disease, malarial pigmentation of viscera, is fully accounted for by the pigment-forming property of the parasites.
5. Intravenous or subcutaneous injection of blood from a case of malarial infection that is, of blood containing the parasite is generally, after an incubation period of eight to twelve days, followed by an attack of malarial fever, and by the appearance in the blood of the person injected of the same species of malaria parasite.
6. The administration of quinine, which brings about the cessation of the clinical symptoms of acute malarial infection, rapidly causes most phases of the parasite to disappear from the blood.
7. If, after they have imbibed malarial blood, certain species of mosquitoes be dissected at serial intervals, the evolution of the malaria parasite can be followed in their tissues until, finally, the germs of the parasite can be tracked into the cells and secretion of the salivary glands of the insect.
8. If, after a week or thereabouts, a similarly-fed mosquito bite a hitherto uninfected man, in many instances, after a few days, that man will exhibit the clinical phenomena of malarial infection and the characteristic parasite in his blood.
9. A non-immune, if effectually protected against mosquito bite, will not contract malarial disease, however long he may live in highly malarious localities.
The proof of the causal relationship of the parasite to the disease may therefore be said to be complete.
Morphology and Histology
There are several species of malaria parasites. The distinctive characteristics of each of these will be detailed in Chap. III. The following brief description is confined to what may be regarded as the generic features common to all.
The three phases.—The malaria parasite, like all true parasites, must be adapted not only for a life inside its hosts, but also, in order that its continuance as a species may be assured, for a passage from one host to another. Consequently, as regards man, it exhibits two distinct phases—an intracorporeal

Fig. 1.—Evolution of the tertian parasite, unstained (see text).
and an extracorporeal. Clinical observation and analogy make it certain that there is yet another phase, also intracorporeal—the latent phase, whose characters as yet can only be conjectured.
Intracorporeal or Human Cycle
Each species of malaria parasite has its special and more or less definite intracorporeal life-span or cycle of twenty-four hours, of forty-eight hours, or of seventy-two hours.
On examining microscopically malarial blood towards the end of one of these cycles, an hour or two before the occurrence of a paroxysm of the characteristic periodic fever it induces, the parasite may be recognized as a pale, somewhat ill-defined disc of protoplasm occupying a larger or smaller area within a proportion of the red blood-corpuscles (Fig. 1, a). Scattered through this pale body are a number of intensely black or reddish-black particles—an excrementitious material called heemozoin.[1]
Changes in the parasite.—By making fresh blood preparations and repeating his examinations at short serial intervals, the observer is enabled to infer that the following changes systematically occur in this disc of pigmented protoplasm. After a time, as the parasite matures, the scattered haemozoin particles collect into little groups, sometimes into radiating lines. These heemozoin groups subsequently concentrate into one or two larger and more or less central blocks, around which the pale protoplasm of the parasite arranges itself in minute segments which finally acquire a globular form and appear as well-defined spherules (Fig. 1, b, c, d). The including blood corpuscle then breaks down, and the spherules, none of which contains haemozoin, fall apart, and, along with the clump or clumps of haemozoin, become free in the liquor sanguinis (Fig. l, e). The phagocytes now quickly absorb the haemozoin and many of the spherules. A proportion of the latter, escaping the phagocytes, attach themselves to other blood corpuscles, which they contrive to enter (Fig. 1. f). In the interior of these newly infected corpuscles the young parasites exhibit active amoeboid movement, shooting out and retracting long pseudopodia, and growing at the expense of the haemoglobin (Fig. 1, g). This substance they assimilate, converting it into the pale protoplasmic material constituting the mass of the parasite and into the haemozoin particles (Fig. 1, h, i). As the parasite becomes larger its amoeboid movements gradually slow down until all motion finally ceases; just before the formation of spherules and completion of the cycle (Fig. 1, j), beyond slight translation movement of the hæmozoin particles, the parasite is passive.
Structure of the parasite.—By appropriate staining of the free spherule (Fig. 2, b, c, d) it is found to consist of a minute, deeply tinted chromatin mass, the nucleolus, surrounded by an unstained area regarded by many as a vesicular nucleus, and this again by a somewhat lightly tinted covering of protoplasm. After the spherule has entered a blood corpuscle (Fig. 2, e), staining shows that the vesicular nucleus has become larger and more distinct, that the protoplasm has increased in bulk, and that the deeply stained nucleolus, which is sometimes double, has

Fig. 2. Evolution of the tertian parasite, stained (see text).
come to lie eccentrically in the nucleus, and both of them eccentrically in the protoplasm. On account of the relatively large size of the unstained nucleus, the eccentric position of the deeply stained nucleolus, and the narrow rim of stained protoplasm, the younger parasites look like so many minute blue signet-rings stuck on to the blood corpuscles. As the parasite grows and approaches maturity the nucleolus enlarges, becomes less defined, and then disperses; the vesicular nucleus also becomes enlarged and less distinct (Fig. 2, f, g, h, i). Finally, just before sporulation, both nucleus and nucleolus cease to be distinguishable (Fig. 2, j, a). At this stage these elements become fragmented and diffused throughout the protoplasm. Later the nuclear elements reappear as numerous minute, scattered nucleoli; and it is around these that the protoplasm of the segmenting parasite arranges itself to form the spherules (Fig. 2, b, c). The vesicular character of the nucleus does not usually appear in the spherules until after these have become free in the liquor sanguinis (Fig. 2, d).
The haemozoin particles, so characteristic of the malaria germ, occur as black or very dark-red dust-like specks, coarse grains, or short rods, either isolated or aggregated into larger or smaller, more or less dense clumps. Until the concentration of haemozoin which precedes the formation of spherules takes place the particles are scattered, being located principally in the outer zone, or ectosarc, of the parasite. Apparently so long as the nucleus remains entire the haemozoin is peripheral; when segmentation occurs in the nucleus the haemozoin becomes central.
Such is a brief account of the cycle and structure of one phase of the parasite. From it we may understand how the parasite maintains itself and multiplies inside the human body. It does not explain, however, the two other important biological features which analogy and observation clearly indicate namely, its latency in, and its life outside, the human body.
EXTRACORPOREAL OR MOSQUITO CYCLE
As it is unreasonable to suppose that an organism which propagates so actively in the human body has no opportunity, either by passing from one host to another or in other ways, of continuing its species, we are forced to conclude that some provision must exist in the economy of the parasite that enables it to leave and enter successive hosts. The problems suggested by this consideration are first, how does the malaria parasite leave the human body; second, what is its life when temporarily outside the human body; and, third, how does the parasite re-enter the human body?
The flagellated body.—When fresh malarial blood is examined some time after it has been mounted as a wet preparation, it is no unusual thing to see what is known as the "flagellated body"[2] (Fig. 3). Analogous bodies are found in all forms of malaria, both in those special to man and in the corresponding infections of other vertebrata. It is a strange-looking, octopus-like creature with long, actively-moving arms; and, though composed of the same materials—namely, colourless protoplasm and dark hæmozoin granules—it differs in many respects from the ordinary forms of the parasite, more especially in the fact that it is not intracorpuscular, but free

Fig. 3.—Malaria parasite: flagellated body, stained.
in the liquor sanguinis. The long, whip-like arms, numbering from one to six, or even more, are usually designated flagella or, more correctly, micro gametes. These are exceedingly delicate and pliant filaments, difficult to see not only on account of their delicacy but also on account of the rapidity of their movements. Sometimes bulbous at the free extremity, sometimes presenting one or more swellings in their continuity, the microgametes are three or four times as long as a blood corpuscle is broad. At first they are attached to the periphery of the pigmented central, more or less spherical body, which is about half the diameter of a red blood-corpuscle. Their movements are so vigorous that they double up or otherwise distort temporarily those corpuscles with which they chance to come in contact. Occasionally it may be observed that one or more of the microgametes

Fig. 4. Malaria parasite: flagellated body and free-swimming microgamete.
break away from the central sphere and swim free in the blood (Fig. 4), remaining active for a considerable time—several hours, perhaps—before finally vanishing. When swimming free in the plasma, and also while still attached to the sphere, the microgamete indulges in three kinds of movement: (a) an undulatory movement, evidently subserving locomotion; (b) a vibratory movement, apparently provoked by contact with a resisting body, as a blood corpuscle, for in such circumstances the little filament is sometimes seen to straighten itself out and quiver like a slender rod when it is struck on the ground; (c) a coiling-up movement, usually seen just before the microgamete finally ceases to move.
It is of importance to bear in mind that these flagellated bodies are never seen in newly drawn blood, and that they come into view only after the slide has been mounted for some time ten to thirty minutes, or even longer, according to circumstances.
Source of the flagellated body.—Careful observation shows that the flagellated bodies are developed from a particular phase of the intracorpuscular parasite, a phase which differs in form according to species namely, in certain types from what is known as the "crescent body"; in other types from certain large intracorpuscular parasites closely resembling the mature parasite (Fig. l, j) just prior to concentration of haemozoin and segmentation.
The crescent body.—These bodies, and consequently the flagellated body, are not present in the blood at the commencement of a malarial infection, or necessarily, especially if it be long delayed, at the commencement of the recrudescence of a latent infection. They come into the blood only after a week or ten days of acute clinical symptoms. At first few in number, and perhaps difficult to find, they gradually become more numerous and persist for days after the disappearance of the other forms of the parasite and the decline of the acute symptoms, and then gradually disappear. Unlike the other forms of the parasite, they are not affected by quinine. They may vanish from the blood after a week, or persist in it for six weeks or longer. They may be very numerous, several in every field of the microscope, or so scanty that many preparations may have to be searched before one is found. Not infrequently they cannot be discovered at all; especially is this the case in malignant (subtertian) infections in the tropics, although, strange to say, when the same patients suffer a relapse in Europe it is generally easy enough to find the crescent body in the blood.
The shape, size, and structure of the crescent body can best be comprehended from the illustration (Fig. 5). It exhibits no amoeboid movements. The principal features to be noted are its very definite crescentic shape; the probable existence of a delicate limiting membrane; the presence of needle-shaped hæmozoin particles, usually about the centre of the parasite, though sometimes nearer one end; and a bow-like and exceedingly delicate line that, springing from a point somewhat inside the rounded-off tips of the horns of the crescent, bridges its concavity. Manifestly this bow represents the outline of the remains of the blood corpuscle in

Fig. 5. Malaria parasite: the crescent body; stained. (x 1,000.)
which the parasite had developed. In many instances, especially in stained specimens, the continuation of the red blood-corpuscle can be distinctly traced around the convexity of the crescent. This circumstance, together with the fact that the material included by the bow, and also occasionally seen as a delicate, sometimes slightly jagged fringe around the convexity of the crescent, gives the staining reactions of hæmoglobin, proves that this form of the malaria parasite, like the ordinary amœboid bodies already described, is also intracorpuscular. Slight differences, particularly as regards the sharpness or obtuseness of the horns, occur; but, on the whole, the crescents are very uniform in appearance. Very rarely twin or double crescents—that is, two crescents in one corpuscle—are encountered (Fig. 6).

Fig. 6.—Malaria parasite:
twin crescents.
As will be shown in the sequel, these crescent bodies and the large intracorpuscular forms just alluded to are sexual in their functions. As regards the crescents, there are certain differences in the appearance of the protoplasm, in the arrangement of the pigment, and in the characters of the nucleus as revealed by staining, which are distinctive of the male and female crescents respectively. In one type of crescent the protoplasm is hyaline and the hæmozoin somewhat loosely arranged. In another type the protoplasm is faintly granular and the hæmozoin more concentrated, being arranged as a well-defined ring about the centre of the parasite. The former is male, the latter female. The protoplasm of the male parasite stains more deeply, and its nucleus is larger than that of the female parasite.
The more immature forms of the crescent are said to begin to be recognizable in the spleen and bone marrow about the fourth day after a subtertian malarial attack commences. At first, according to Bastianelli and Bignami, they are minute, highly refringent amœboid bodies. They are rarely encountered in peripheral blood; there the crescent body does not begin to show itself till it approaches maturity, about a week after the first crop of amœboid parasites associated with the fever paroxysm has appeared.

Fig. 7.—Evolution of the flagellated body from the crescent.
Formation of the flagellated body.— Ordinarily, if a number of crescent bodies are kept for a time under observation on the microscope slide a certain proportion of them will be seen slowly, or more rapidly, to undergo change of shape, gradually becoming converted into squat crescents, then into oval bodies, and then into spheres (Fig. 7, a, b, c), whilst the remains of the enclosing blood corpuscle fall to pieces or melt away. The remains of the blood corpuscle are often seen as a small, slightly hæmoglobin-tinted globule lying in contact with or near the parasite. The crescent-derived spheres are of two types in correspondence with the sex of the particular crescent from which they originate, some—the male—having hyaline, others—the female having granular protoplasm (Fig. 8). At first the hæmozoin particles in the crescent, in the oval body, and in the sphere are motionless and central; more rarely they are eccentric. By and by, in many of the spheres these particles tend to arrange themselves as a ring, lying in contact with the inner surface of what may be a very fine, invisible membrane, occupying

Fig. 8.—Subtertian parasite, showing male and female gametes approximated.
(From a preparation by Dr. F. W. O'Connor.)
the central third of the sphere, and forming, as it were, a small central sphere within the larger sphere. After a time in the hyaline spheres the hæmozoin particles begin—at first slowly and intermittently, afterwards more energetically—to dance about. As the movement of the pigment increases in rapidity and energy the entire sphere seems to partake in the agitation—to quiver, to change form, and to be jerked about as by some unseen force. The hæmozoin particles may now become diffused through the general mass of the sphere (Fig. 7, d), or they may not. Whether this does or does not happen, the agitation of the sphere now becoming intense, one or more filaments are suddenly shot out from its periphery and at once begin to indulge in characteristic waving, lashing movements (Fig. 7, e)[3] The granular spheres do not project these filaments or microgametes.
In stained preparations it can be shown that the process of microgamete formation is preceded by fragmentation of the nucleus, the chromosomes proceeding to the periphery of the sphere and each becoming surrounded by a portion of protoplasm. The microgamete, therefore, is composed of these two elements drawn out into a thread—a chromatin filament enclosed in a covering of protoplasm. In the granular spheres there is no fragmentation of nucleus or filament formation, the minute nucleus remaining central surrounded by its circle of haemozoin rods.
The extruded microgametes, if they do not break away as already described, may continue to move for an hour, or even longer—that is, if the flagellated body be not engulfed by a phagocyte, an occurrence very frequently witnessed. Finally, they slow down, cease to move, coil up perhaps, and then gradually fade from view. Should the microgametes succeed in breaking away, the remains of the flagellated body consisting of haemozoin particles included in a small amount of residual protoplasm, tend to assume a somewhat spherical, passive form, the hitherto violent changes of shape and the movement of the haemozoin ceasing almost abruptly.
In other types of malarial infection certain bodies (Fig. 9, a, d), which, but for the brisk movements of their haemozoin, look like ordinary full-grown intracorpuscular parasites prior to the formation of spores, may sometimes be seen to slip out from their enclosing corpuscles (Fig. 9, b, e). If these free parasites are watched, in some instances the hæmozoin they contain is seen to indulge in violent dancing movements, the body of the parasite being at the same time agitated and jerked about. Finally, "flagella" (microgametes) may be suddenly projected from the periphery (Fig. 9, c, f), very much in the same way as they are projected from the periphery of the crescent-derived sphere. Manifestly, these large

Fig.—9. a, b, c, Evolution of the flagellated body in tertian fever; d, e, f, evolution of the flagellated body in quartan fever
spherical parasites and the flagellated bodies arising from some of them correspond to the crescent-derived sphere and crescent-derived flagellated body.
Conditions favouring and retarding eruption of microgametes.—Ross has shown that, provided the blood containing the crescent body be prevented from coming in contact with the air, as can be secured by pricking the finger through vaseline, evolution does not proceed. He has further shown that if the droplet of blood be exposed to the air for a minute or two before being mounted on a slide, the eruption of microgametes is markedly encouraged. Similarly, Marshall has shown that it is also favoured by mixing the blood with a trace of water. I find that by combining these methods—namely, exposure to the air with slight aqueous admixture, as by breathing on the slip before applying the cover-glass—it is generally easy to procure quickly, from crescent-containing blood, specimens of the flagellated body. Probably, although I have not experimented with this object in suitable cases, the eruption of microgametes will be favoured in the non-crescent-forming parasites by similar means.
In certain bloods the flagellated body is easily procured; in others the opposite is the case. As regards the crescents, doubtless success depends in a measure on the degree of maturity of the parasite, young or effete crescents failing to evolve. There are other conditions affecting the process, however, which are as yet unknown.
MOSQUITO-MALARIA THEORY
Popular and early views.—The idea that some relationship exists between the mosquito and malaria has long been entertained, not only by medical men but also by the inhabitants of malarial countries. In parts of Italy the peasants for centuries have believed that fever is produced by the bite of the mosquito a fact noted by Lancisi; and, as Koch has pointed out, in German East Africa the natives of the highlands declare that when they visit the unhealthy lowlands they are bitten by an insect they call Mbu (mosquito), with the result that they get fever, which they also call Mbu. King and others long ago pointed out how a mosquito-malaria hypothesis could best explain such things as the connection of malaria with swamps and with high atmospheric temperatures ; the well-known danger of night exposure in malarial countries; the influence of trees, of an expanse of water, and of altitude on the diffusion of the germ; and many other points. As to how the mosquito intervened they had no reasonable hypothesis to offer. Laveran, Koch, and Pfeiffer suggested that the mosquito might stand in the same relation to the malaria parasite as it stands to the larva of Filaria bancrofti; but as to the particular phase of the parasite it subserved, and as to the exact way in which the insect operated, they were silent.
A mosquito - malaria theory definitely formulated.—In 1894,[4] and again in 1896, I formulated a definite hypothesis on the subject. Being a parasite, the germ of malaria, to keep in existence as a species, must pass from host to host; in other words, must at some time have an extracorporeal life. From the fact that the flagellated body does not come into existence until the blood has left the blood-vessels— that is, until it is outside the body I concluded that the function, then unknown, of the flagellum lay outside the human body, and that the flagellated body was the first phase of the extracorporeal life of the malaria parasite. As the parasite whilst in the circulation is always enclosed in a blood-corpuscle, and is therefore incapable of leaving the body by its own efforts, and as it is never, so far as known, extruded in the excreta, I concluded that it is removed from the circulation by some blood-sucking animal, most probably by some suctorial insect common in the haunts of malaria. This blood-sucker I believed to be the mosquito, an insect whose habits seemed adapted for such a purpose, and whose distribution conformed to the well-ascertained habits of malaria. Further, basing my argument on what I had shown to be the fact in the case of Filaria bancrofti, and on the peculiarities of the distribution of malaria, I reasoned that only particular species of mosquito were capable of subserving particular species of malaria parasite.
Ross's observations.—Ross, to whom I suggested the investigation of this hypothesis, first (1895) demonstrated the fact that when crescent-containing blood is ingested by the mosquito a large proportion of the crescents rapidly proceed to microgamete formation and to the emission of microgametes . In l897 he showed that, in a particular species of mosquito fed on malarial blood, living and growing malaria parasites containing haemozoin are to be found embedded in the stomach wall of the insects. Early in 1898 (as announced by me at the meeting of the British Medical Association, in Edinburgh, in July, 1898) he showed that if a particular species of mosquito be fed on the blood of plasmodium-infected birds, the parasite, which both in habit and structure closely resembles the malaria parasite of man, enters the stomach wall of the insect, grows and sporulates there, and that the resulting sporozoites subsequently enter the salivary gland of the insect, and that the insect is then capable of infecting by its bite other birds. Ross further showed that only particular species of mosquito could subserve the avian plasmodium in this way, and that the particular mosquito in question was not efficient as regards another blood parasite of birds—namely, hæmoproteus—or as regards the malaria parasites of man. Thus, by direct observation and by analogy, Ross distinctly, and first, proved that the extracorporeal phase of the malaria parasite is passed in particular species of mosquitoes, and, by analogy, that the parasite is transferred from man to man by the mosquito.
MacCallum's discovery.—A gap in Ross's observations was filled in by MacCallum, who showed,

Fig. 10.—Hæmoproteus. (After Celli.)
a, b, c, Evolution of macrogamete; c, fertilization by microgamete; d, e, f, evolution of microgamete.
principally by observations on hæmoproteus, also a malaria-like parasite of birds, that the function of the filament after it breaks away from the parent sphere, or flagellated body, is to impregnate (Fig. 10, c, f) the granular crescent-derived spheres, which then become transformed into sharp-pointed travelling vermicules. Doubtless, although the process has not been directly observed, it is in virtue of the locomoting and penetrating properties of the travelling vermicule that the malaria parasite is enabled to lodge itself, where Ross first found it, in the stomach wall of the mosquito.
Confirmation and extension of Ross's work.—Ross's observations were quickly confirmed and elaborated by the Italians, by Daniels, and by Koch. Grassi has shown that several species belonging to the genus Anopheles, more particularly—at all events as regards Italy—Anopheles maculipennis, are the special mosquito-hosts of the malaria parasites of man. Step by step he traced the crescent-forming and the non-crescent-forming malaria parasites through their mosquito hosts, finding that in their evolution they closely resembled that which Ross had so successfully demonstrated for the avian plasmodium, and had so clearly foreshadowed and partly demonstrated for the malaria parasite of man. In conjunction with Bignami he repeated successfully in man Ross's experiment of conferring malarial disease by mosquito bite. Bastianelli, Celli, Dionisi, Buchanan, and many others have confirmed Ross's statements, and have added to our knowledge of the extracorporeal cycle of the malaria parasite.
Finally, on behalf of the Colonial Office and the London School of Tropical Medicine, with the assistance of Drs. Sambon and Low, I instituted two experiments which dispose for good and all of any objections that otherwise might have been advanced against the theory. Drs. Sambon and Low, Mr. Terzi, their servants and visitors, lived for the three most malarial months of 1900 in one of the most malarial localities of the Roman Campagna—Ostia—in a hut from which mosquitoes were excluded by a simple arrangement of wire gauze on the doors and windows. They moved freely about in the neighbourhood during the day, exposed themselves in all weathers, drank the water of the place, often did hard manual work, and beyond retiring from sunset to sunrise to their mosquito-protected hut observed no precautions whatever against malaria. They took no quinine. Although their neighbours, the Italian peasants, were each and all of them attacked with malaria, the dwellers in the mosquito-proof hut enjoyed an absolute immunity from the disease. Whilst this experiment was in progress, mosquitoes fed in Rome on patients suffering from tertian malaria were forwarded in suitable cages to the London School of Tropical Medicine, and on their arrival were set to bite my son, the late Dr. P. Thurburn Manson, and Mr. George Warren. Shortly afterwards both of these gentlemen, neither of whom had been abroad or otherwise exposed to malarial influences, developed characteristic malarial fever, and malarial parasites were found in abundance in their blood both at that time and on the occurrence of the several relapses of malarial fever from which they subsequently suffered.
The mosquito-malaria theory has now, therefore, passed from the region of conjecture into that of fact.
THE MALARIA PARASITE IN THE MOSQUITO
(See Fig. 11)
In the lumen of the stomach: travelling vermicule stage.—When crescent-containing blood has been ingested by certain species of mosquito belonging to the Anophelinae,[5] those crescents that are mature, and that are not obsolescent, are transformed into the two types of sphere already described—hyaline and granular; that is, male and female. The hyaline spheres then emit their filaments or microgametes, which, breaking away, approach and seek energetically by butting and boring to enter the granular spheres. At one point on the surface of each of the granular spheres a minute papilla is projected to meet, as it were, a corresponding attacking microgamete. At this point one of the latter contrives to enter, and, after momentarily causing considerable perturbation in the contents of the sphere, comes to rest and vanishes from view. Although the granular sphere may be subsequently energetically attacked, no second microgamete can effect an entrance. For a short time after this act of impregnation[6] the granular sphere or macrogamete undergoes no apparent change. Presently, however, it gradually alters in shape, becoming oval, elongated, and finally assuming a lanceolate and then a vermicular form, the hæmozoin accumulating at the broad or posterior end whilst the anterior end becomes pointed and hyaline. On the completion of these changes, the little body begins to move about, at first slowly, then more rapidly, the pointed end being in front. Should this travelling vermicule, technically known as an oökinete, impinge on a blood corpuscle, white or red, it passes through it.

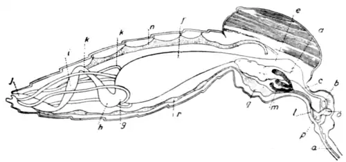
Fig. 11.—Section of mosquito.
out a little the posterior end of the abdomen, and nick it on each side about the junction of the penultimate segment; a weak place in the exoskeleton is thus formed. The thorax being now fixed with one mounted needle, another needle placed flat on the last segment of the abdomen steadily drags this away from the rest of the mosquito. The stomach or midgut and Malpighian tubes can thus be gradually pulled out from the exoskeleton; when sufficient length of œsophagus comes into view it can be divided by a touch of the needle. The ovaries of the female and testes of the male are also pulled out with the stomach. Sometimes the stomach is found to be full of blood or other food; in this case it is necessary to make a nick in the stomach: the weight of the cover-glass, which should now be applied, by its gentle pressure may express the blood. Occasionally it is necessary to wash the blood away, by allowing the stomach to refill with saline solution and then pressing on the cover-glass, and repeating the process as often as may be requisite.
The salivary glands, lying in the prothorax, can sometimes be obtained by pulling them out in dragging off the head. This method should be avoided if possible, as the glands are difficult to separate from the head, and it is impossible to compress the head without crushing the eyes; the pigment thus set free interferes with a microscopical examination. The simplest and most certain method of procuring the salivary glands is, after cutting off the head, to divide the thorax obliquely, so that its anterior portion, including the attachments of the anterior and middle pair of legs, is separated from the rest of the trunk. This portion contains both salivary glands. The exoskeleton should then be broken up with needles into five or six pieces in normal salt solution. A cover-glass is applied and steady pressure exercised with the point of the needle over each fragment of the exoskeleton. In this manner the glands are separated from the chitinous fragments, and can be readily examined. In the majority of dissections at least five out of the six lobes will be exposed undamaged.In the stomach wall: encysted or zygote stage (Fig. 12).—This newly acquired power of locomotion and penetration on the part of the fecundated parasite, together with other well-ascertained facts, justifies the presumption that soon after its formation the travelling vermicule, now known as an oökinete, penetrates the wall of the mosquito's stomach. Working its way through the layer of cells and the delicate basement membrane which together constitute the inner coat of this organ, it finally lodges itself among the longitudinal and transverse muscular fibres lying between this inner membrane and the equally delicate outer coat. Here the parasite, some thirty-six hours after the mosquito has fed, may be detected as a minute (6 ) oval or spherical body with a sharp outline and hyaline or slightly

(Adapted from Grassi, Bignami, and Bastianelli.)
granular contents in which the hæmozoin particles are plainly visible. It lies between the muscular fibres, which, as it grows, it dissociates to a certain extent.
During the next few days the parasite increases rapidly, acquiring a well-defined capsule, and, in consequence of its growth, protruding on the surface of the insect's stomach like a wart or wen (Fig. 13). Meanwhile, important changes take place in the interior of the parasite, which has now acquired a spherical contour and has attained the stage of development to which the term oöcyst is applied. Nucleus and protoplasm divide into a number of spherular daughter cells, around which, attached by one end like the spines on a porcupine, a vast number of minute (16 ), slender, spindle-shaped, nucleated bodies are ultimately formed. At a later stage the spherules disappear, leaving the

Fig. 13.—Stomach after infection with proteosoma.
M.T., Malpighian tubes; INT., intestine; ŒS., œsophagus; P.C., proteosoma zygotes protruding into the body cavity.
spindles (sporozoites) loose in the capsule, which is now packed to bursting point. In about a week—sooner or later according to atmospheric temperature, which has a great influence on the rate of development of the parasite—the capsule ruptures and collapses, discharging its contents into the body cavity of the mosquito.
In the salivary gland: sporozoite or infective stage.—From the body cavity of the mosquito the spindle-shaped sporozoites pass, probably by way of the blood, to the three-lobed salivary glands lying one on each side of the fore part of the thorax of the insect (Figs. 11, m, and 14, B). These glands communicate with the base of the mosquito's proboscis by means of a long duct, around the radicles of which the clear, plump cells of the gland are arranged. The sporozoites can be readily recognized in many (Fig. 12, 8), though not in all, of the cells, especially in those of the middle lobe, and also free in the contents of the ducts. So numerous are they in some of the cells that the appearance they present is suggestive of a bacillus-laden lepra cell.

Fig. 14.—Dissection of head of mosquito.
A Median section of head, showing du, the veneno-salivary duct, with its insertion in hy, the hypopharynx; cb, cerebrum; below this are the cerebellum and the pumping enlargement of œ, the œsophagus; m. muscle; n, nerve commissure. The other parts have been removed. B, the veneno-salivary duct, showing its bifurcation and the three glands on one of its branches; pg, poison gland; sg marks the upper of the two salivary glands C, The bifurcation of the duct with its nucleated hypodermis.
Transference to the Human Host
By a large number of experiments, abundantly confirmed, Ross distinctly proved that if appropriate birds are bitten by mosquitoes whose salivary glands contain the sporozoites of the avian plasmodium, the birds become infected with the parasite, and in due course show it in their blood and develop corresponding clinical symptoms. And now many experiments, some of which have been alluded to, have clearly

A, Normal red cell; B, C, D, E, red cells containing amœbulæ or myzopods; F, G, H, sporocytes; I, young gametocyte; J′, K′, L′, M′, microgametocytes or male gametes; J′′, K′′, L′′, M′′, O, macrogametocytes or female gametes; N′, N′′, microgametes; P, travelling vermicule; Q, young zygote; R, S, zygotomeres: T, blastophore; U, mature zygote.
shown that a similar process occurs in the evolution of the malaria parasite. If a mosquito whose salivary glands contain malarial sporozoites bites a man, the sporozoites are introduced into the blood, penetrate the red corpuscles, and multiply. After eight to ten days their progeny can be seen as malaria parasites of the type corresponding to those of the man on whom the infecting mosquito had originally fed. Schaudinn, by diluting blood with blister serum and introducing into the mixture the salivary glands of a malaria-infected mosquito, was enabled to witness the entrance of the sporozoites into the red corpuscles.
COMPLETE CYCLES OF THE PARASITES
The complete cycles (Fig. 15), therefore, both intra and extracorporeal, of the endocorpuscular blood parasites of man and birds can now be described. Using the most generally adopted zoological terms, and commencing with the youngest phase, these parasites may be described as entering the blood corpuscles as sporozoites. Growing at the expense of the hæmoglobin they become pigment and, on reaching maturity, develop either into (a) schizonts (the segmenting body rosette body), or into (b) gametocytes (crescents, spherical bodies of tertians or quartans).
(a) The schizonts, after concentration of hæmozoin, divide into a number of naked segments or merozoites, which, on the breaking down of the enveloping blood corpuscle, escape into the blood plasma and enter fresh blood -corpuscles; thus completing the endogenous cycle and providing for the multiplication of the parasite in the vertebrate host. The process of reproduction in this the asexual cycle is called schizogony.
(b) The gametocytes, or gametes, as they are usually termed, belong to the exogenous or sexual cycle passed in the bodies of particular species of mosquito. They are of two kinds: male (hyaline crescents or spheres) and female (granular crescents or spheres). The male gametocyte emits several microgametes (flagella), one of which, breaking away, enters and impregnates the single macrogamete of which the female gametocyte consists. The product is a zygote, which, acquiring locomoting powers, becomes an oökinete, and transfers itself from the lumen to the wall of the middle intestine (stomach) of the mosquito in which it had developed. Here it comes to rest and is soon surrounded with a capsule. It is now an oöcyst. Presently it divides into a number of daughter cells and residual bodies. The former produce a vast number as many as ten thousand in a single oöcyst of minute bodies, the sporozoites (zygotoblasts, germinal rods Ross). Finally the oöcyst ruptures, discharging the sporozoites into the body cavity of the insect, whence they are transferred to the salivary glands, in the secretion of which, opportunity offering, they are injected into the blood of an appropriate vertebrate, whose blood corpuscles they subsequently enter, and, becoming schizonts, renew the cycle. The process of multiplication in this the sexual or exogenous cycle is called sporogony.
Latent phase. It is a well-established fact that, concurrently with the subsidence of acute clinical symptoms, the malaria parasite may disappear from the general circulation. This it does either spontaneously or as a result of the administration of quinine. In the majority of instances the disappearance is only temporary. Usually, after an interval of weeks or months, the parasite reappears in the general circulation and there is a renewal of the clinical phenomena. As to the organ or tissue it selects, or as to its appearance and structure during this time of latency, or as to the exact conditions which cause it once more to resume active, propagating, circulating life, nothing is positively known.
Three opinions, each of them founded on a certain amount of fact, have been advanced on this point: (a) That the parasites, when the conditions become unfavourable for schizogony, become encysted and lay up in the spleen or other organ, (b) That they never completely leave the circulation, but continue to propagate in the usual way, though in numbers so small that it is practically impossible to find them even by prolonged microscopical examination, (c) That certain sexual forms (macrogametes), a phase of the parasite apt to persist for prolonged periods in the blood, forms parthenogenetically and while still in the circulating blood asexual spores (merozoites), which, on liberation, enter the red blood-corpuscles and so renew the asexual, intracorporeal phase. This much we do know namely, that physiological strain or vital depression in the host tends to bring about conditions which break up, and that quinine and vital vigour tend to bring about conditions which favour, latency.
POSSIBILITY OF YET ANOTHER PHASE
So far the story of the life -history of these parasites seems to be complete. There are certain facts, however, which seem to indicate the possibility of yet another phase, or of etiological factors which hitherto have escaped observation. First, there are districts in India, Africa, and elsewhere that are practically uninhabited on account of the prevalence and virulence of the local malaria. If man be necessary for the completion of the life-cycle of the parasite, how explain its abundance in such circumstances—— that is to say, in the absence of man? Second, those engaged in malarious districts on works entailing disturbance of the soil, e.g. opening jungle lands, digging canals or foundations, making roads or railways, are particularly prone to contract malaria; yet such operations at first sight seem in no way calculated to foster broods of malaria-infected mosquitoes. How account for infection in such circumstances? where, and in what form, is the malaria germ to be found there?
Of the first of these difficulties two explanations may be submitted, (a) The malaria parasite may be capable of living in a variety of animal hosts, as we know to be the case with the hæmoprotozoa of birds and many other and more highly organized animal parasites; and it may be that in the malarious districts alluded to the prevalence of such an appropriate host, together with the presence of an appropriate mosquito, ensures the continuance and abundance of the parasites. Support is given to this hypothesis by Dionisi's discovery of intracorpuscular parasites in bats, closely resembling the malaria parasites of man; and by a similar discovery by Koch in monkeys. Similar parasites have also been found in the ox, sheep, dog, horse, etc. (b) The malaria parasite may be capable of passing from mosquito to mosquito without the intervention of a vertebrate, by passage of the sporozoite into the mosquito's eggs. We have the support of analogy for this hypothesis. Several Babesiœ, such as Babesia bovis, which gives rise to hæmoglobinuric fever (Texas fever) in cattle, and Babesia canis, which causes the malignant jaundice of dogs, are transmitted in this way. The intermediary, a tick, takes in the parasite with the blood it sucks from an infected animal. The parasite, probably after undergoing developmental changes, then passes into the egg of the tick, and so to the young tick hatched out from the infected egg; and it is this young tick that implants the germ into the next vertebrate host. In the case of the trypanosoma of the little owl, Schaudinn claimed to have shown that it may enter the eggs of the intermediary mosquito and that the infection may in this way be transmitted, not only by the mosquito that sucked the trypanosoma-containing blood but also by its progeny.
Most observers are now of opinion that the malaria parasite, under natural conditions, can be acquired by man only through the bite of the mosquito; that the mosquito can acquire the parasite only by ingesting the blood of a malaria-infected man or, possibly, other mammal; that there is no extracorporeal life other than that described; that there is no authentic instance of malaria being acquired in uninhabited places; that in the case of malaria in connection with soil disturbances it depends on the creation during digging operations of puddles of water in which mosquitoes breed; and that its epidemic occurrence under these circumstances is owing to unhygienic conditions, such as usually prevail when large bodies of men, some of whom may bring' the infection with them, are brought together on public works attended with extensive earth-cutting, as in railway, road, or canal making.
- ↑ The term "haemozoin," suggested by Sambon, is here employed instead of "melanin" hitherto in use, which has a definite and different physiological meaning. The term "black pigment" is vague and incorrect.
- ↑ The expressions "flagellated body" and "flagellum," applied to this phase of the malaria parasite, though graphic enough, are somewhat misleading. The flagella of the malaria parasite are in no sense analogous to the flagella of the flagellata; they really function as spermatozoa. The proper zoological terms for this and the other phases of the malaria parasites are given at p. 28.
- ↑ Careful focusing, especially of stained crescent-derived spheres, may sometimes show that for a short time before their eruption the microgametes exist preformed inside the limiting membrane of the sphere (Fig. 7, e). One can sometimes see a microgamete filament, in its efforts to erupt, carry this membrane in front of it, and, failing to break through, retract and perhaps renew the effort at another point. Doubtless, the agitated movements of the sphere are produced by the efforts made by the microgametes to break through this membrane.
- ↑ Brit. Med. Journ., December 8th, 1894; "Goulstouian Lectures," Brit. Med. Journ., March 14th, 21st, and 28th, 1896.
- ↑ So far, this is the only kind of mosquito which has been found an efficient insect host for the parasite.
- ↑ The impregnation of the granular sphere has rarely been witnessed in the case of the malaria parasite of man (MacCallum); but in haemoproteus of birds it has been observed many times. Koch has seen the resulting travelling vermicule in the plasmodium of sparrows. Analogy, therefore, justifies the inference, so compatible with the other well-ascertained features in the cycles of the intracorpuscular parasites of man and the lower animals, that a similar arrangement obtains in the Plasmodidæ of man. Prof. Grassi showed me sections of the mosquito's stomach in which the travelling vermicules could be seen approaching and actually in contact with the epithelial coat. These preparations were from mosquitoes killed thirty-two hours after feeding on malarial blood.