United States patent 775846
| No. 775,846. | Patented Nov. 22, 1904. | |
| R. L. de Moura. Wireless Telegraph. | ||
![]() | ||
| No. 775,846. | Patented Nov. 22, 1904. | |
| R. L. de Moura. Wireless Telegraph. | ||
| NO MODEL. |
3 SHEETS-SHEET 2. | |
FIG. 2,' ![]() | ||
| No. 775,846. | Patented Nov. 22, 1904. | |
| R. L. de Moura. Wireless Telegraph. | ||
| NO MODEL. |
3 SHEETS-SHEET 3. | |
FIG. 3,' ![]() | ||
FIG. 4,' ![]() | ||
| No. 775,840. | Patented November 22, 1904. | |
UNITED STATES PATENT OFFICE. ROBERTO LANDELL DE MOURA, OF NEW YORK, N. Y. WIRELESS TELEGRAPH. SPECIFICATION forming part of Letters Patent No. 775,846, dated November 22, 1904. Original application filed October 4, 1901, Serial No. 77,576. Divided and this application filed January 16, 1902. Serial No. 89,976. (No model.) | ||
To all whom it may concern:
Be it known that I, Roberto Landell de Moura, a citizen of the Republic of Brazil, and a resident of the city of New York, (borough 5 of Manhattan,) in the county and State of New York, have invented a new and Improved Wireless Telegraph, of which the following is a full, clear, and exact description.
My invention relates to a wireless-telegraph 10system employing common electric waves, and contemplates the use of such waves, either directly transmitted — that is, non-reflected—or reflected and of short lengths, in connection with certain apparatus and devices for 15generating and responding to the same to send and receive graphic and harmonic or phonetic signals through space or, it may be, through fogs or through water.
The present application is a division of my 20former application, filed October 4, 1901, Serial No. 77,576, for an improvement in wireless telephones and telegraphs.
According to my invention a local circuit is provided which may be either constantly or 25intermittently closed and in which is connected a device capable of giving a continuous or an intermittent sound. This sound-producing device is energized by a local battery, and its action is modified in intensity in 30accordance with the intermittent electric impulses from the sending-station, which act upon a variable-resistance device, (which may be a coherer.) For continuous sounds the variable-resistance device does not act specifically as a 35coherer, but more properly as a very sensitive granular microphone whose resistance is controlled by the impulses from the sending-station, these changes in resistance effecting the intensity in the sound by affecting the 40local current-supply to the sound-producing device.
Although I thus specify and shall describe the use of a local circuit, however I wish to say that there are other means by which my 45invention may be practiced. The underlying principle is simply that of modifying the resistance of the local microphone, and the functions of the receiver may be exercised by any radio-detector of the Branly type provided with a controllable electrode. Furthermore,50 although I speak of reflected impulses and short-length waves, these are not essential, although I use them in some cases and at relalively short distances in order to obtain improved effects. The same holds with regard55 to certain light or other active rays used in connection with reflected waves.
My invention is illustrated in the accompanying drawings, in which the same reference characters indicate the same parts in all60 the figures.
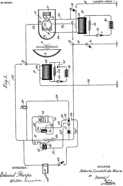
In the drawings, Figure 1 is a diagram representing the entire telegraphic apparatus used at one of the stations. Fig. 2 is a section showing a part of the transmitting and65 receiving apparatus. Fig. 3 is a front elevation of the upper portion of the same, and Fig. 4 is a detail view showing my device for producing telegraphic signs phonetically.
The apparatus consists of a stand A.(see Fig.70 2,) a barrel B, a smaller barrel C, a sparking device D, receivers E, and a sparking device F. (See Fig. 1.) The frame 1 (see Fig. 2) of the stand A is mounted upon vertically-disposed concentric tubes 2, the outer of which75 is movable and is connected with a rack and pinion 3, actuated by a handle 4, whereby the barrel B may be raised or lowered at will. The barrel B consists of two cubical or cylindrical boxes 5, telescopically adjustable one80 in the other, upon one of which boxes are mounted a telescope 6, a spirit-level 6ª, and a compass 7ª for the purpose of training the barrel upon a distant station. The barrel is provided with a parabolic mirror 8 and an85 electric light 9 for use in my wireless telephone, which is fully described in my other application.
A grating 10, made of metal covered with lampblack, is provided in the front end of the90 barrel for the purpose of rendering the rays of light from the mirror S parallel. The smaller barrel C is mounted upon the supports 11 and is disposed centrally of the larger barrel. The smaller barrel consists of an intermediate95 jacket of an insulating material 12, in which is mounted a metallic cylinder 13, provided with a hemispherical end in which is disposed a concave mirror 14, made, preferably, of metal. Inside of this barrel is an insulated support 15, and upon this support is mounted a crown-shaped bunch of wires 16 18, having one 5extremity contracted to support a selenium cell 21, the ends of the crown terminating in points or antennæ 17 19, bent over radially and at right angles to the axis of the tube. The members 10 and C are fully described in 10my prior application referred to.
A Crookes tube 20 and a hollow hermetically-sealed vacuum-cell 21 of glass, having no pneumatic communication with each other, are provided and are placed within the wires 15in such manner that the wires form cages partially surrounding them. The hermetically-sealed glass cell is of hemispherical shape and is used for holding a selenium plate, as described in my other application. The selenium 20cell is shown here, because it may be used for telegraphing by flickerings of light in connection with the lamp 20, which has an action on the selenium plates of the receiving and of the sending stations.
25The wire 23 is connected with the bunches of wires 16 and 18 and is also connected with 44 alone for sending and with 46 alone for receiving. The switch 38 is open in sending, but closed in receiving. The wires 46 and 25 30and the members 55, 58, 56, and 60 are provided with suitable resistance. Electrical connections 24 25 are provided for the Crookes tube in the usual manner. The Crookes tube is excited in the usual manner by means of a 35sparking apparatus D, which consists of a battery 30, a Ruhmkorff coil 31, connected thereto and controlled by a switch 32, a condenser 33, and a pair of polished knobs 34, and a ground-wire 35, provided with a switch 36, is used for 40throwing the polished knobs as exciter out of use when desired and of grounding the wires as a protection against lightning or against accidents. The wire 22 is connected with the wire 37, which is provided with a 45grounding-switch 38, which must be closed in receiving, as stated. The switch 32 may sometimes be substituted for the key 41—that is, when the secondary connections of coils 43 and 31 co-act to augment the potential difference 50between the ends of the secondaries of coil 31. Then 44 being out of action connects only with the antennæ through 23, and 24 connects withı 23, 22 with 25, and at its other extremity 22 connects only with 37. 37 connects with 38 55and this with 45 through the ground. In this case the switch 36 connects with 34, where the oscillating discharges are produced, and the conventional interruptions are made by the key 32. For sending by flickerings of light I 60may use the same arrangement, the switch 36 being in a neutral position, as also the terminals 34. For receiving by flickerings of light I use the same devices described in my previous applications referred to.
65A signaling device proper is shown at F and consists of a local battery 39, a switch 40, a Morse key 41, a condenser 42, and a Ruhmkorff coil 43, provided with polished knobs 44 of the usual pattern. From one of these knobs a wire 45 leads to the ground, and another wire,70 46, leads to the crown of wires 16 18. This crown of wires may vary indefinitely in form, and it is used inside of the member C only when working with waves of short length, and then only if it is desired to use the light from75 18 or C.
The coherer is shown at 50. It is connected with a local battery 51, provided with a switch 52, the same being adapted to engage the contacts 53 54. The decoherer is shown80 immediately at the left of the coherer and consists of an electromagnet 55, provided with an armature 56 of the pattern generally used in coherers, said armature being adapted to tap the tube of the coherer 50. The decoherer is85 connected, through wire 57, with the wire 25, and 57 may connect with 53, 59, and 54 by means of the switch 52. The contact 58, which is adapted to engage the armature 56, is connected with the wire 25'. The wire 5990 is for the purpose of establishing communication between the battery 51 and the bell 60.
A Morse recording apparatus of the usual pattern and provided with all of the auxiliaries accompanying such apparatus is shown at 6195 and is controlled by a switch 62, connected when closed to contact 54 of switch 52. From the contact 53 a wire 63 leads to the primary 64 of an induction-coil, and from this primary a wire 65 leads to the sonorous receiver 66.100 This receiver is shown more particularly in Fig. 4.
Binding-screws 67 are mounted upon the frame of the receiver, the screw at the left-hand side being insulated, as shown. A 105diaphragm 68, protected by a disk 70 of insulated material, is mounted directly across the frame, and over it is a layer of comminuted carbon 69 in loose form. This carbon is engaged by the carbon button 69ª, upon which110 is mounted an insulating-jacket 70ª. A spring-tongue 71 normally presses the diaphragm 68 gently against the comminuted carbon, and a somewhat similar spring 72 presses the button 69ª downward. A funnel-shaped member 73115 is provided with perforations or holes 74, arranged in concentric rings. These holes or perforations are for the purpose of emitting phonetic signals. A diaphragm 75, of iron, is mounted across the frame, and binding-screws120 76 and 78 are connected with the magnet 77.
The operation of my apparatus when used with short-length reflected waves and with light-waves is as follows:125
The switch 36 is connected to wire 35 and the switch 32 is closed, as shown in Fig. 1, thereby exciting the Crookes tube and causing the same to emit cathode-rays in the usual manner. The signal-key 41 is now disposed130 in the manner peculiar to Morse telegraphy. The Ruhmkorff coil 43 causes the polished knobs 44 to spark in response thereto. The wire 45 being grounded, as shown, the antennœ 5 17 19 (being then connected with 44 through 23) are caused to throw off etheric waves similar to the Hertzian waves, which pass out of the barrel toward the distant station.
The operator by depressing the key 41 10merely causes the Ruhmkorff coil 43 to spark continuously while the key is depressed and to cease sparking while the key is raised. The cathode-rays made by the Crookes tube are of course reflected by the mirror 14, and 15thus given a general direction of propagation, which follows the general direction of the axis of the barrel. These cathode-rays, like the actinic and the etheric waves, above described, apparently reinforce each other in their effects, 20and the result is that the telegraph is more effective when both are employed. The cathode-rays are emitted in continuous oscillation and are not controlled directly by the transmitting-key. The Hertzian waves alone are controlled 25by the key, and the cathode-rays merely facilitate the propagation of the Hertzian waves. When the sparking apparatus D) is stopped, the telegraphic signals are not as distinct as when the said sparking apparatus is in action.
30The device considered as a receiving apparatus will be described.
The Hertzian waves made by depressing the key at the sending-station produce effects in the crown-wires 17 19 and in the member 10, 35which serves as a capacity connected to the crown-wires or antennæ.
Incoming waves cause surgings in the wires 23 and 46, 38, 37, and 25’ to the coherer 50, thereby affecting its resistance. The result is 40that with the apparatus in the position as indicated in Fig. 1 at E, the battery 51 sends the current through 50, 60, 59, 57, 56, and through wire 58 back to the battery. The bell therefore rings when the coherer is excited and only 45at that time.
The bell having rung, the operator merely moves the switch 52 in order to receive the message. If he wishes to receive the message upon the Morse recorder, he moves the switch 5052 downward so as to engage the contact 54 and also closes the switch 62. The current from the battery now passes through the Morse recorder and through the coherer back to battery. If, however, the operator desires to 55receive the message upon the phonetic receiver, he moves the switch 52 upward, engaging the contact 53. For receiving messages by means of modifications produced in a continuous a sound in accordance with the intermittent 60impulses sent out by the transmitter the contact 58 should be pressed firmly against the armature 56, the switch 62 should be opened, and switch 52 placed on contact 53. The coherer in being excited by the closing of the key at the 65distant station, the following circuit is established: 51, 50, 50’, 66, 65, 61, 63, 57, (through 52 from 53,) 58, to battery. The primary 64 being thus energized excited the secondary 79 and established a local secondary alternating current through the wires 80 and 81, Fig. 4.70 and the magnet 77. The magnet responds to the action of this current by causing the diaphragm 75 to vibrate violently. The vibrating diaphragm causes the column of air in the funnel-shaped member 78 to be alternately75 compressed and rarefied, thereby causing the diaphragm 68 to vibrate and to vary the resistance offered by the comminuted carbon. The length of the column of air should be such that the diaphragm 75 will cause the diaphragm80 70 to vibrate in a predetermined space of time, the idea being to amplify the variations of the battery-current flowing through the comminuted carbon. This phonetic receiver acts to some extent as a relay. It is85 clear that the mechanical action of the vibrating column of air can be made to increase and decrease the resistance of the comminuted carbon, and if this be done at the proper moments of time the ultimate effect of the current90 passing through the comminuted carbon can be increased.
The vibration of the diaphragm 75, by causing the above-mentioned condensation and rarefaction of the column of air in the funnel-shaped95 member 73, causes the perforations 74 to emit a musical note, which I find to be somewhat similar to a flute-note. The general effect is about the same as if a person were sounding a Morse signal upon a flute, a short100 note representing a dot and a comparatively long note or variations in intensity of the note representing a dash. The connection of a relay is necessary for prolonged effects.
Having thus described my invention, I claim105 as new and desire to secure by Letters Patent —
1. A wireless-telegraph system comprising means to generate two or more sets of waves of different lengths or different periods, means to direct said waves toward a distant station,110 and to modify those of one or more of the sets in accordance with a code, together with means at the distant station rendered sensitive by some of the waves to respond to changes or modifications in others, to thereby reproduce115 the signal.
2. In a wireless-telegraph system, a transmitting apparatus comprising a set of Hertz-wave antennæ, a source of cathodic waves, and a source of actinic waves, means whereby 120 the changes of a prearranged code may be impressed on one or more of said sets of waves, and means for directing all the waves to a distant station.
3. In a wireless-telegraph system, a receiver125 comprising elements sensitive to etheric waves due to light projection and to electrical surgings or oscillatory discharges, means to combine the effects of said elements, and means to effect alinement with a transmitting-station.130
4. In a wireless-telegraph apparatus. a casing, a source of light therein, a source of cathode-rays therein, discharge - terminals for Hertz-wave propagation, therein, means to 5control the production of the waves and rays, and means to direct said casing toward a distant station.
5. A wireless telegraph, comprising a sparking apparatus for producing Hertzian waves, 10means for actuating said sparking apparatus at will for the purpose of signaling, means for producing a cathode-light substantially in the path of said Hertzian waves, and a receiver sensitive to said Hertzian waves and located 15at a distant station.
6. A wireless telegraph, comprising a sparking apparatus for transmitting etheric waves into space, means for actuating said sparking apparatus at will for the purpose of 20signaling, a Crookes tube for producing cathode-rays substantially in the path of said etheric waves, and a distant receiving apparatus sensitive to said etheric waves.
7. In a wireless-telegraph apparatus an 25external casing having a reflector and a source of violet rays, the internal casing having discharge-points and an element sensitive to light-waves, means to impress changes on the waves of light or those due to discharges from the points, and connections from the sensitive30 element and the casings for the conveyance of incoming waves or their resulting effects to suitable receiving apparatus.
8. A wireless telegraph, comprising mechanism for producing cathode-rays, a sparking35 apparatus for producing etheric waves substantially in the path of said cathode-rays, a manually-operated key for controlling said etheric waves, and a receiving apparatus sensitive to said etheric waves.40
9. A wireless telegraph, comprising a sparking apparatus, a Crookes tube actuated thereby, a reflector adjacent to said Crookes tube, means for generating etheric waves within said reflector, a telegraphic key for controlling45 the generation of said waves, and a receiving apparatus sensitive to said etheric waves.
In testimony whereof I have signed my name to this specification in the presence of two subscribing witnesses.
Roberto Landell de Moura.
- Witnesses:
- Walton Harrison,
- Everard B. Marshall.
This work is in the public domain in the United States because it was published in 1904, before the cutoff of January 1, 1930.
The longest-living author of this work died in 1928, so this work is in the public domain in countries and areas where the copyright term is the author's life plus 96 years or less. This work may be in the public domain in countries and areas with longer native copyright terms that apply the rule of the shorter term to foreign works.
Public domainPublic domainfalsefalse
.jpg)
.jpg)
.jpg)
.jpg)