1911 Encyclopædia Britannica/Telegraph
TELEGRAPH (Gr. τῆλε, far, and γράφειν, to write), the name given to an apparatus for the transmission of intelligence to a distance. Etymologically the word implies that the messages are written, but its earliest use was of appliances that depended on visual signals, such as the semaphore or optical telegraph of Claude Chappe. The word is still sometimes employed in this sense, as of the ship’s telegraph, by means of which orders are mechanically transmitted from the navigating bridge to the engine room, but when used without qualification it usually denotes telegraphic apparatus worked by electricity, whether the signals that express the words of the message are visual, auditory or written.
Land and Submarine Telegraphy will be considered in Part I., with a section on the commercial aspects. In Part II. Wireless Telegraphy is dealt with.
Part I.—Land and Submarine Telegraphy
Historical Sketch.—Although the history of practical electric telegraphy does not date much further back than the middle of the 19th century, the idea of using electricity for telegraphic purposes is much older. It was suggested again and again as each new discovery in electricity and magnetism seemed to render it more feasible. Thus the discovery of Stephen Gray and of Granville Wheeler that the electrical influence of a charged Leyden jar may be conveyed to a distance by means of an insulated wire gave rise to various proposals, of which perhaps the earliest was that in an anonymous letter[1] to the Scots Magazine (vol. xv. p. 73, 1753), in which the use of as many insulated conductors as there are letters in the alphabet was suggested. Each wire was to be used for the transmission of one letter only, and the message was to be sent by charging the proper wires in succession, and received by observing the movements of small pieces of paper marked with the letters of the alphabet and placed under the ends of the wires. A very interesting modification was also proposed in the same letter, viz. to attach to the end of each wire a small light ball which when charged would be attracted towards an adjacent bell and strike it. Some twenty years later G. L. Le Sage proposed a similar method, in which each conductor was to be attached to a pith ball electroscope. An important advance on this was proposed in 1797 by Lomond,[2] who used only one line of wire and an alphabet of motions. Besides these we have in the same period the spark telegraph of Reiser, of Don Silva, and of Cavallo, the pith ball telegraph of Francis Ronalds (a model of which is in the collection of telegraph apparatus in the Victoria and Albert Museum), and several others.
Next came the discovery of Galvani and of Volta, and as a consequence a fresh set of proposals, in which voltaic electricity was to be used. The discovery by Nicholson and Carlisle of the decomposition of water, and the subsequent researches of Sir H. Davy on the decomposition of the solutions of salts by the voltaic current were turned to account in the water voltameter telegraph of Sömmering and the modification of it proposed by Schweigger, and in a similar method proposed by Coxe, in which a solution of salts was substituted for water. Then came the discovery by G. C. Romagnosi and by H. C. Oersted, of the action of the galvanic current on a magnet. The application of this to telegraphic purposes was suggested by Laplace and taken up by Ampere, and afterwards by Triboaillet and by Schilling, whose work forms the foundation of much of modern telegraphy. Faraday’s discovery of the induced current produced by passing a magnet through a helix of wire forming part of a closed circuit was laid hold of in the telegraph of Gauss and Weber, and this application was at the request of Gauss taken up by Steinheil, who brought it to considerable perfection. Steinheil communicated to the Göttingen Academy of Sciences in September 1838 an account of his telegraph, which had been constructed about the middle of the preceding year. The currents were produced by a magneto-electric machine resembling that of Clarke. The receiving apparatus consisted of a multiplier, in the centre of which were pivoted one or two magnetic needles, which either indicated the message by the movement of an index or by striking two bells of different tone, or recorded it by making ink dots on a ribbon of paper.
Steinheil appears to have been anticipated in the matter of a recording telegraph by Morse of America, who in 1835 constructed a rude working model of an instrument; this within a few years was so perfected that with some modification in detail it has been largely used ever since (see below). In 1836 Cooke, to whom the idea appears to have been suggested by Schilling’s method, invented a telegraph in which an alphabet was worked out by the single and combined movement of three needles. Subsequently, in conjunction with Wheatstone, he introduced another form, in which five vertical index needles, each worked by a separate multiplier, were made to point out the letters on a dial. Two needles (for some letters, one only) were acted upon at the same time, and the letter at the point of intersection of the direction of the indexes was read. This telegraph required six wires, and was shortly afterwards displaced by the single-needle system, still to a large extent used on railway and other less important circuits. The single-needle instrument is a vertical needle galvanoscope worked by a battery and reversing handle, or two “tapper” keys, the motions to right and left of one end of the index corresponding to the dashes and dots of the Morse alphabet. To increase the speed of working, two single-needle instruments were sometimes used (double-needle telegraph). This system required two line wires, and, although a remarkably serviceable apparatus and in use for many years, is no longer employed. Similar instruments to the single and double needle apparatus of Cooke and Wheatstone were about the same time invented by the Rev. H. Highton and his brother Edward Highton, and were used for a considerable time on some of the railway lines in England. Another series of instruments, introduced by Cooke and Wheatstone in 1840, and generally known as “Wheatstone’s step-by-step letter-showing” or “ABC instruments,” were worked out with great ingenuity of detail by Wheatstone in Great Britain and by Bréguet and others in France. The Wheatstone instrument in the form devised by Stroh is still largely used in the British Postal Telegraph Department. Wheatstone also described and to some extent worked out an interesting modification of his step-by-step instrument, the object of which was to produce a letter-printing telegraph. But it never came into use; some years later, however, an instrument embodying the same principle, although differing greatly in mechanical detail, was brought into use by Royal E. House, of Vermont, U.S., and was very successfully worked on some of the American telegraph lines till 1860, after which it was gradually displaced by other forms. Various modifications of the instrument are still employed for stock telegraph purposes.
Construction of Telegraph Circuits.—The first requisite for electro-telegraphic communication between two localities is an insulated conductor extending from one to the other. This, with proper apparatus for originating electric currents at one end and for discovering the effects produced by them at the other end, constitutes an electric telegraph. Faraday’s term “electrode,” literally “a way (ὅδος) for electricity to travel along,” might be well applied to designate the insulated conductor along which the electric messenger is despatched. It is, however, more commonly and familiarly called “the wire” or “the line.” The apparatus for generating the electric action at one end is commonly called the transmitting apparatus or instrument, or the sending apparatus or instrument, or sometimes simply the transmitter or sender. The apparatus used at the other end of the line to render the effects of this action perceptible to the eye or ear, is called the receiving apparatus or instrument.
In the aerial or overground system of land telegraphs the use of copper wire has become very general. The advantage of the high conducting power which copper possesses is of especial value in moist climates (like that of the United Kingdom), since the effect of leakage over the surface of the damp insulators is much less noticeable Overground lines. when the conducting power of the wire is high than when it is low, especially when the line is a long one. Copper is not yet universally employed, price being the governing factor in its employment; moreover, the conducting quality of the iron used for telegraphic purposes has of late years been very greatly improved.
In the British Postal Telegraph system five sizes of iron wire are in general use, weighing respectively 200, 400, 450, 600 and 800 ℔ per statute mile, and having electrical resistances (at 60° F.) of 26·64, 13·32, 11·84, 8·88 and 6·66 standard ohms per statute mile respectively. The sizes of copper wire employed have weights of 100, 150, 200 and 400 ℔ per statute mile, and have electrical resistances (at 60° F.) of 8·782, 5·855, 4·391 and 2·195 standard ohms respectively. Copper wire weighing 600 and 800 ℔ per mile has also been used to some extent. The copper is “hard drawn,” and has a breaking strain as high as 28 tons per sq. in.; the test strain required for the iron wire is about 221/2 tons. The particular sizes and descriptions of wires used are dependent upon the character of the “circuits” the longer and more important circuits requiring the heavier wire.
The lines are carried on poles, at a sufficient height above the ground, by means of insulators. These vary in form, but essentially they consist of a stem of porcelain, coarse earthenware, glass or other non-conducting substance, protected by an overhanging roof or screen. The form in general use on the British postal lines is the “Cordeaux screw,” but the “Varley double cup” is still employed, especially by the railway companies.
The latter form consists (fig. 1) of two distinct cups (c, C), which are moulded and fired separately, and afterwards cemented together. The double cup gives great security against loss of insulation due to cracks extending through the insulator, and also gives a high surface insulation. An iron bolt (b) cemented into the centre of the inner cup is used for fixing the insulator to the pole or bracket. This form of insulator is still largely used and is a very serviceable pattern, though possessing the defect that the porcelain cup is not removable from the iron bolt on which it is mounted. The Cordeaux insulator (fig. 2) is made in one piece. A coarse screw-thread is formed in the upper part of the inner cup, and this screws on to the end of the iron bolt by which it is supported. Between a shoulder, a, in the iron bolt and a shoulder in the porcelain cup, c, is placed an indiarubber ring, which forms a yielding washer and enables the cup to be screwed firmly to the bolt, while preventing the abrasion of the porcelain against the iron. The advantage of the arrangement is that the cup can at any time be readily removed from the bolt. At the termination of a line a large insulator (fig. 3), mounted on a strong steel bolt having a broad base flange, is employed. Connexion is made into the office (or to the underground system, as is often the case) from the aerial wire by means of a copper conductor, insulated with gutta-percha, which passes through a “leading in” cup, whereby leakage is prevented between the wire and the pole. The insulators are planted on creosoted oak arms, 21/2 in. sq. and varying in length from 24 to 48 ins., the 24 and 33 in. arms taking two, and the 48 in. four, insulators. The unequal lengths of the 24 and 33 in. arms are adopted for the purpose of allowing one wire to fall clear of that beneath it, in the case of an insulator breaking or the securing binder giving way. The poles are of red fir, creosoted, this method of preservation being the only one now used for this purpose in the United Kingdom. The number of poles varies from about 15 to 22 per m. of line; they are planted to a depth of from 2 to 4 ft. in the ground. For protection from lightning each pole has an “earth wire” running from the top, down to the base.
|
| |
| Fig. 1.—Varley’s Double Cup Insulator, one-fourth full size. | Fig. 2.—Cordeaux Insulator. |
Fig. 3.—Terminal Insulator.
Gutta-percha-covered copper wires were formerly largely used for the purpose of underground lines, the copper conductor weighing 40 ℔ per statute mile, and the gutta-percha covering 50 ℔ (90 ℔ total). The introduction of paper cables, i.e. copper wires insulated with carefully dried paper of a special quality, has practically entirely superseded Underground lines. the use of wires insulated with gutta-percha. The paper cables consist of a number of wires, each enveloped in a loose covering of well-dried paper, and loosely laid up together with a slight spiral “lay” in a bundle, the whole being enclosed in a stout lead pipe. It is essential that the paper covering be loose, so as to ensure that each wire is enclosed in a coating not of paper only, but also of air; the wires in fact are really insulated from each other by the dry air, the loose paper acting merely as a separator to prevent them from coming into contact. The great advantage of this air insulation is that the electrostatic capacity of the wires is low (about one-third of that which would be obtained with gutta-percha insulation), which is of the utmost importance for high-speed working or for long-distance telephonic communication. As many as 1200 wires are sometimes enclosed in one lead pipe.
Between London and Birmingham a paper cable 116 m. long and consisting of 72 copper conductors, each weighing 150 ℔ per statute mile, was laid in 1900. The conductors are enclosed in a lead pipe, 21/4 in. in outside diameter and 1/4 in. thick, which itself is enclosed in cast iron spigot-ended pipes, 3 in. in internal diameter, and buried 2 ft. below the surface of the roadway. At intervals of 2 m. “test pillars” are placed for the purpose of enabling possible faults to be accurately located. Each conductor has a resistance (at 60° F.) of 5·74 ohms per statute mile, and an average electrostatic capacity per mile between adjacent wires of 0·06 microfarad, or between wire and earth of 0·1 microfarad; the insulation resistance of each wire is about 5000 megohms per mile. The underground system of paper cables has been very largely extended. Cables between London, Glasgow, Edinburgh, Liverpool Leeds, Bristol, Exeter and other important towns have been laid, and eventually telegraphic communication between every important town in the United Kingdom will be rendered safe from interruptions caused by gales or snowstorms.
The one disadvantage of paper cables is the fact that any injury to the lead covering which allows moisture to penetrate causes telegraphic interruption to the whole of the enclosed wires, whereas if the wires are each individually coated with gutta-percha, the presence of moisture can only affect those wires whose covering is defective. There is no reason for doubting, however, that, provided the lead covering remains intact, the paper insulation is imperishable; this is not the case with gutta-percha-covered wires.
In order to maintain a system of telegraph lines in good working condition, daily tests are essential. In the British Postal Telegraph Department all the most important wires are tested every morning between 7.30 and 7.45 a.m., in sections of about 200 miles. The method adopted consists in looping the wires in pairs between two testing offices, Testing. A and B (fig. 4); a current is sent from a battery, E, through one coil of a galvanometer, g, through a high resistance, r, through one of the wires, 1, and thence back from office B (at which the wires are looped), through wire 2, through another high resistance, r ′, through a second coil on the galvanometer, g, and thence to earth. If the looped lines are both in good condition and free from leakage, the current sent out on line 1 will be exactly equal to the current received back on line 2; and as these currents will have equal but opposite effects on the galvanometer needle, no deflection of the latter will be produced. If, however, there is leakage, the current received on the galvanometer will be less than the current sent out, and the result will be a deflection of the needle proportional to the amount of leakage.
Fig. 4.—Method of testing Circuits.
The galvanometer being so adjusted that a current of definite strength through one of the coils gives a definite deflection of the needle, the amount of leakage expressed in terms of the insulation resistance of the wires is given by the formula
Total insulation resistance of looped lines=1/2R(D/d − 1/2);
in which R is the total resistance of the looped wires, including the resistance of the two coils of the galvanometer, of the battery, and of the two resistance coils r and r ′ (inserted for the purpose of causing the leakage on the lines to have a maximum effect on the galvanometer deflections). In practice the resistances r, r ′ are of 10,000 ohms each. The deflection observed on the galvanometer when the lines are leaky is d, while D is the deflection obtained through one coil of the galvanometer with all the other resistances in circuit; and assuming that no leakage exists on the lines, this deflection is calculated from the “constant” of the instrument, i.e., from the known deflection obtained with a definite current. For the purpose of avoiding calculation, tables are provided showing the values of the total insulation according to the formula, corresponding to various values of d. If the insulation per mile, i.e., the total insulation multiplied by the mileage of the wire loop, is found to be less than 200,000 ohms, the wire is considered to be faulty. The climatic conditions in the British Islands are such that it is not possible to maintain, in unfavourable weather, a higher standard than that named, which is the insulation obtained when all the insulators are in perfect condition and only the normal leakage, due to moisture, is present.
There are three kinds of primary batteries in general use in the British Postal Telegraph Department, viz., the Daniell, the bichromate, and the Leclanché. The Daniell type consists of a teak trough divided into five cells by slate partitions coated with marine glue. Each cell contains a zinc plate, immersed in a solution of zinc sulphate, and also a Batteries. porous chamber containing crystals of copper sulphate and a copper plate. The electromotive force of each cell is 1·07 volts and the resistance 3 ohms. The Fuller bichromate battery consists of an outer jar containing a solution of bichromate of potash and sulphuric acid, in which a plate of hard carbon is immersed; in the jar there is also a porous pot containing dilute sulphuric acid and a small quantity (2 oz.) of mercury, in which stands a stout zinc rod. The electromotive force of each cell is 2·14 volts, and the resistance 4 ohms. The Leclanché is of the ordinary type, and each cell has an electromotive force of 1·64 volts and a resistance of 3 to 5 ohms (according to the size of the complete cell, of which there are three sizes in use). Dry cells, i.e. cells containing no free liquid, but a chemical paste, are also largely employed; they have the advantage of great portability.
Primary batteries have, in the case of all large offices, been displaced by accumulators. The force of the set of accumulator cells provided is such as to give sufficient power for the longest circuit to be worked, the shorter circuits being brought up approximately to a level, as regards Accumulators. resistance, by the insertion of resistance coils in the circuit of the transmitting apparatus of each shorter line. A spare set of accumulators is provided for every group of instruments in case of the failure of the working set. For working “double current,” two sets of accumulators are provided, one set to send the positive and the other set the negative currents; that is to say, when, for example, a double current Morse key is pressed down it sends, say, a positive current from one set, but when it is allowed to rise to its normal position then a negative current is transmitted from the second set of accumulators. It is not possible to work double current from one set alone, as in this case, if one key of a group of instruments is up and another is down, the battery would be short-circuited and no current would flow to line. The size of the accumulators employed varies from a cell capable of an output of 8 ampere-hours, to a size giving 750 ampere-hours.
Submarine Cables.—A submarine cable (figs. 5-7), as usually manufactured, consists of a core a in the centre of which is a strand of copper wires varying in weight for different cables between 70 and 650 ℔ to the nautical mile. The stranded form was suggested by W. Thomson (Lord Kelvin) at a meeting of the Philosophical Society of Glasgow in 1854, because its greater flexibility renders it less likely to damage the insulating envelope during the manipulation of the cable. The central conductor is covered with several continuous coatings of gutta-percha, the total weight of which varies between 70 and 650 ℔ to the mile. Theoretically for a given outside diameter of core the greatest speed of signalling through a cable is obtained when the diameter of the conductor is ·606 (1/√ε) the diameter of the core, but this ratio makes the thickness of the gutta-percha covering insufficient for mechanical strength. Owing to the high price of gutta-percha the tendency, of recent years, has been to approximate more closely to the theoretical dimensions, and a thickness of insulating material which formerly would have been considered quite insufficient is now very generally adopted with complete success. Of two transatlantic cables laid in 1894, the core of one consisted of 500 ℔ copper and 320 ℔ gutta-percha per mile, and that of the other of 650 ℔ copper and 400 ℔ gutta-percha; whereas for the similarly situated cable laid in 1866 the figures were 300 ℔ copper and 400 ℔ gutta-percha. The core is served with a thick coating of wet jute, yarn or hemp (h), forming a soft bed for the sheath, and, to secure immunity from the ravages of submarine boring animals, e.g. Teredo navalis, it has been found necessary, for depths not exceeding 300 fathoms, to protect the core with a thin layer of brass tape. The deep sea portion is sheathed with galvanized iron or steel wires (in the latter case offering a breaking strain of over 80 tons per sq. in., with an elongation of at least 5 per cent.), the separate wires being first covered with a firm coating of tape and Chatterton’s compound (a mixture of gutta-percha, rosin and Stockholm tar). Sometimes the wires are covered with the compound alone, and the whole cable after being sheathed is finally covered with tarred tape. The weight of the iron sheath varies greatly according to the depth of the water, the nature of the sea bottom, the prevalence of currents, and so on. Fig. 5 shows the intermediate type again sheathed with a heavy armour to resist wear in the shallow water near shore. In many cases a still heavier type is used for the first mile or two from shore, and several intermediate types are often introduced, tapering gradually to the thin deep-water type.
![]() Fig. 5. | |
![]() Fig. 6. |
![]() Fig. 7. |
| Figs. 5–7—Sections of three types of Submarine Cables, full size. Fig. 5.—Type of shore end. Fig. 6.—Intermediate type. Fig. 7.—Deep sea type. | |
The cost of the cable before laying depends on the dimensions of its core, the gutta-percha, which still forms the only trustworthy insulator known, constituting the principal item of the expense; for an Atlantic cable of the most approved construction the cost may be taken at £250 to £300 per nautical mile.
In manufacturing a cable (fig. 8) the copper strand is passed through a vessel A containing melted Chatterton’s compound, then through the cylinder C, in which a quantity of gutta-percha, purified by repeated washing in hot water, by mastication, and by filtering through wire-gauze filters, is Manufacture. kept warm by a steam-jacket. As the wire is pulled through, a coating of gutta-percha, the thickness of which is regulated by the die D, is pressed out of the cylinder by applying the requisite pressure
to the piston P. The newly coated wire is passed through a long trough T, containing cold water, until it is sufficiently cold to allow it to be safely wound on a bobbin B′. This operation completed, the wire is wound from the bobbin B′ on to another, and at the same time carefully examined for air-holes or other flaws, all of which are eliminated. The coated wire is treated in the same way as the copper strand—the die D, or another of the same size, being placed at the back of the cylinder and a larger one substituted at the front. A second coating is then laid on, and after it passes through a similar process of examination a third coating is applied, and so on until the requisite number is completed. The finished core changes rapidly in its electric qualities at first, and is generally kept for a stated interval of time before being subjected to the specified tests. It is then placed in a tank of water and kept at a certain fixed temperature, usually 75° F., until it assumes approximately a constant electrical state. Its conductor and dielectric resistance and its electrostatic capacity are then measured. These tests are in some cases repeated at another temperature, say 50° F., for the purpose of obtaining at the same time greater certainty of the soundness of the core and the rate of variation of the conductor and dielectric resistances with temperature. The subjection of the core to a hydraulic pressure of four tons to the square inch and an electric pressure of 5000 volts from an alternating-current transformer has been adopted, by one manufacturer at least, to secure the detection of masked faults which might develop themselves after submergence. Should these tests prove satisfactory the core is served with jute yarn, coiled in water-tight tanks, and surrounded with salt water. The insulation is again tested, and if no fault is discovered the served core is passed through the sheathing machine, and the iron sheath and the outer covering are laid on. As the cable is sheathed it is stored in large water-tight tanks and kept at a nearly uniform temperature by means of water.
Fig. 8.
Fig. 9.—Diagram of Cable Tank and Paying-out Apparatus of Submarine Cable.
When the cable is to be laid it is transferred to a cable ship, provided with water-tight tanks similar to those used in the factory for storing it. The tanks are nearly cylindrical in form and have a truncated cone fixed in the centre, as shown at C, fig. 9. The cable is carefully coiled into the tanks in Laying.horizontal flakes, each of which is begun at the outside of the tank and coiled towards the centre. The different coils are prevented from adhering by a coating of whitewash, and the end of each nautical mile is carefully marked for future reference. After the cable has been again subjected to the proper electrical tests and found to be in perfect condition, the ship is taken to the place where the shore end is to be landed. A sufficient length of cable to reach the shore or the cable-house is paid overboard and coiled on a raft or rafts, or on the deck of a steam-launch, in order to be connected with the shore. The end is taken into the testing room in the cable-house and the conductor connected with the testing instruments, and, should the electrical tests continue satisfactory, the ship is put on the proper course and steams slowly ahead, paying out the cable over her stern. The cable must not be over strained in the process of submersion, and must be paid out at the proper rate to give the requisite slack. This involves the introduction of machinery for measuring and controlling the speed at which it leaves the ship and for measuring the pull on the cable. The essential parts of this apparatus are shown in fig. 9. The lower end e of the cable in the tank T is taken to the testing room, so that continuous tests for electrical condition can be made. The upper end is passed over a guiding quadrant Q to a set of wheels or fixed quadrants 1, 2, 3, . . . then to the paying-out drum P, from it to the dynamometer D, and finally to the stern pulley, over which it passes into the sea. The wheels 1, 2, 3, . . . are so arranged that 2, 4, 6, . . . can be raised or lowered so as to give the cable less or more bend as it passes between them, while 1, 3, 5, . . . are furnished with brakes. The whole system provides the means of giving sufficient back-pull to the cable to make it grip the drum P, round which it passes several times to prevent slipping. On the same shaft with P is fixed a brake-wheel furnished with a powerful brake B, by the proper manipulation of which the speed of paying out is regulated, the pull on the cable being at the same time observed by means of D. The shaft of P can be readily put in gear with a powerful engine for the purpose of hauling back the cable should it be found necessary to do so. The length paid out and the rate of paying out are obtained approximately from the number of turns made by the drum P and its rate of turning. This is checked by the mile marks, the known position of the joints, &c., as they pass. The speed of the ship can be roughly estimated from the speed of the engines; it is more accurately obtained by one or other of the various forms of log, or it may be measured by paying out continuously a steel wire over a measuring wheel. The average speed is obtained very accurately from solar and stellar observations for the position of the ship. The difference between the speed of the ship and the rate of paying out gives the amount of slack. The amount of slack varies in different cases between 3 and 10 per cent., but some is always allowed, so that the cable may easily adapt itself to inequalities of the bottom and may be more readily lifted for repairs. But the mere paying out of sufficient slack is not a guarantee that the cable will always lie closely along the bottom or be free from spans. Whilst it is being paid out the portion between the surface of the water and the bottom of the sea lies along a straight line, the component of the weight at right angles to its length being supported by the frictional resistance to sinking in the water. If, then, the speed of the ship be v, the rate of paying out u, the angle of immersion i, the depth of the water h, the weight per unit length of the cable w, the pull on the cable at the surface P, and A, B constants, we have—
- P = h{w - (A/sin i)f(u - v cos i)} . . . . (α)
and w cos i = Bf(v sin i) . . . . . . . . . . . . (β),
where f stands for “function.” The factors Af(u - v cos i) and Bf(v sin i)give the frictional resistance to sinking, per unit length of the cable, in the direction of the length and transverse to the length respectively.[3] it is evident from equation (β) that the angle of immersion depends solely on the speed of the ship; hence in laying a cable on an irregular bottom it is of great importance that the speed should be sufficiently low. This may be illustrated very simply as follows: suppose a a (fig. 10) to be the surface of the sea, b c the bottom, and c c the straight line made by the cable; then, if a hill H, which is at any part steeper than the inclination of the cable, is passed over, the cable touches it at some point t before it touches the part immediately below t, and if the friction between the cable and the ground is sufficient the cable will either break or be left in a long span ready to break at some future time. It is important to observe that the risk is in no way obviated by the increasing slack paid out, except in so far as the amount of sliding which the strength of the cable is able to produce at the points of contact with the ground may be thereby increased. The speed of the ship must therefore be so regulated that the angle of immersion is as great as the inclination of the steepest slope passed over. In ordinary circumstances the angle of immersion i varies between six and nine degrees.

Fig. 10.
The “slack indicator” of Messrs Siemens Brothers & Co. yields a continuous indication and record of the actual slack paid out. It consists of a long screw spindle, coupled by suitable gearing with the cable drum, and thus rotating at the speed of the outgoing cable; on this screw works a nut which forms the centre of a thin circular disk, the edge of which is pressed against the surface of a right circular cone, the line of contact, as the nut moves along the screw, being parallel to the axis of the latter. This cone is driven by gearing from the wire drum, so that it rotates at the speed of the outgoing wire, the direction of rotation being such as to cause the nut to travel towards the smaller end of the cone. If both nut and screw are rotating at the same speed, the position of the former will remain fixed; and as the nut is driven by friction from the surface of the cone, this equality of speed will obtain only when the product of the diameter (d) of the cone at that position multiplied into its speed of rotation (n) equals the product of the diameter (a) of the disk multiplied into the speed of rotation (N) of the screw, or N/n = d/a, and thus the ratio of cable paid out to that of wire paid out is continuously given by a pointer controlled by the disk, for any difference in speed between nut and screw will cause the nut to move along the screw until the diameter of the cone is reached which fulfils the above conditions for equality in speed. In fig. 11 the edge of the disk serves as the pointer and the scale gives the percentage of slack, or (N - n)/n. The wire being paid out without slack measures the actual distance and speed over the ground, and the engineer in charge is relieved of all anxiety in estimating the depth from the scattered soundings of the preliminary survey, or in calculating the retarding strain required to produce the specified slack, since the brakesman merely has to follow the indications of the instrument and regulate the strain so as to keep the pointer at the figure required—an easy task, seeing that the ratio of speed of wire and cable is not affected by the motion of the ship, whatever be the state of the sea, whereas the strain will in heavy weather be varying 50 per cent. or more on each side of the mean value. Further, the preliminary survey over the proposed route, necessary for deciding the length and types of cable required, can afford merely an approximation to the depth in which the cable actually lies, since accidents of wind and weather, or lack of observations for determining the position, cause deviations, often of considerable importance, from the proposed route. From the continuous records of slack and strain combined with the weight of the cable it is a simple matter to calculate and plot the depths along the whole route of the cable as actually laid. Fig. 12, compiled from the actual records obtained during the laying of the Canso-Fayal section of the Commercial Cable Company's system, shows by the full line the actual strain recorded which secured the even distribution of 8 per cent. of slack, and by the dotted line the strain that would have been applied if the soundings taken during the preliminary survey had been the only source available, although the conditions of sea and weather favoured close adherence to the proposed route. The ordinates of the curve give the strain in cwts., and the abscissae the distance in miles measured from the Canso end; as the strain is proportional to the depth, 18 cwts. corresponding to 1000 fathoms, the black line represents to an exaggerated scale the contour of the sea bed.
Fig. 11.—Slack Indicator
Fig. 12.—Records of Strain and Depths.
Owing to the experience gained with many thousands of miles of cable in all depths and under varying conditions of weather and climate, the risk, and consequently the cost, of laying has been greatly reduced. But the cost of effecting a repair still remains a very uncertain quantity, success being dependent Repairing.on quiet conditions of sea and weather. The modus operandi is briefly as follows: The position of the fracture is determined by electrical tests from both ends, with more or less accuracy, depending on the nature of the fracture, but with a probable error not exceeding a few miles. The steamer on reaching the given position lowers one, or perhaps two, mark buoys, mooring them by mushroom anchor, chain and rope. Using these buoys to guide the direction of tow, a grapnel, a species of live pronged anchor, attached to a strong compound rope formed of strands of steel and manila, is lowered to the bottom and dragged at a slow speed, as it were ploughing a furrow in the sea bottom, in a line at right angles to the cable route, until the behaviour of the dynamo meter shows that the cable is hooked. The ship is then stopped, and the cable gradually hove up towards the surface; but in deep water, unless it has been caught near a loose end, the cable will break on the grapnel before it reaches the surface, as the catenary strain on the bight will be greater than it will stand. Another buoy is put down marking this position, fixing at the same time the actual line of the cable. Grappling will be recommenced so as to hook the cable near enough to the end to allow of its being hove to the surface. When this has been done an electrical test is applied, and if the original fracture is between ship and shore the heaving in of cable will continue until the end comes on board. Another buoy is then lowered to mark this spot, and the cable on the other side of the fracture grappled for, brought to the surface, and, if communication is found perfect with the shore, buoyed with sufficient chain and rope attached to allow of the cable itself reaching the bottom. The ship now returns to the position of original attack, and by similar operations brings on board the end which secures communication with the other shore. The gap between the two ends has now to be closed by splicing on new cable and paying out until the buoyed end is reached, which is then hove up and brought on board. After the “final splice,” as it is termed, between these ends has been made, the bight, made fast to a slip rope, is lowered overboard, the slip rope cut, and the cable allowed to sink by its own weight to its resting-place on the sea bed. The repair being thus completed, the various mark buoys are picked up, and the ship returns to her usual station.
The grappling of the cable and raising it to the surface from a depth of 2000 fathoms seldom occupy less than twenty-four hours, and since any extra strain due to the pitching of the vessel must be avoided, it is clear that the state of the sea and weather is the predominating factor in the time necessary for effecting the long series of operations which, in the most favourable circumstances, are required for a repair. In addition, the intervention of very heavy weather may mar all the work already accomplished, and require the whole series of operations to be undertaken de novo. As to cost, one transatlantic cable repair cost £75,000; the repair of the Aden-Bombay cable, broken in a depth of 1900 fathoms, was effected with the expenditure of 176 miles of new cable, and after a lapse of 251 days, 103 being spent in actual work, which for the remainder of the time was interrupted by the monsoon; a repair of the Lisbon-Porthcurnow cable, broken in the Bay of Biscay in 2700 fathoms, eleven years after the cable was laid, took 215 days, with an expenditure of 300 miles of cable. All interruptions are not so costly, for in shallower waters, with favourable conditions of weather, a repair may be only a matter of a few hours, and it is in such waters that the majority of breaks occur, but still a large reserve fund must be laid aside for this purpose. As an ordinary instance, it has been stated that the cost of repairing the Direct United States cable up to 1900 from its submergence in 1874 averaged £8000 per annum. Nearly all the cable companies possess their own steamers, of sufficient dimensions and specially equipped for making ordinary repairs; but for exception cases, where a considerable quantity of new cable may have to be inserted, it may be necessary to charter the services of one of the larger vessels owned by a cable-manufacturing company, at a certain sum per day, which may well reach £200 to £300. This fleet of cable ships now numbers over forty, ranging in size from vessels of 300 tons to 10,000 tons carrying capacity.
The life of a cable is usually considered to continue until it is no longer capable of being lifted for repair, but in some cases the duration and frequency of interruptions as affecting public convenience, with the loss of revenue and cost of repairs, must together decide the question of either making very Life.extensive renewals or even abandoning the whole cable. The possibility of repair is affected by so many circumstances due to the environment of the cable, that not even an approximate term of years has yet been authoritatively fixed. It is a well-ascertained fact that the insulator, gutta-percha, is, when kept under water, practically imperishable, so that it is only the original strength of the sheathing wires and the deterioration allowable in them that have to be considered. Cables have frequently been picked up showing after many years of submergence no appreciable deterioration in this respect, while in other cases ends have been picked up which in the course of twelve years had been corroded to needle points, the result probably of metalliferous deposits in the locality. It is scarcely possible from the preliminary survey, with soundings several miles apart, to obtain more than a general idea as to the average depth along the route, while the nature of the constituents of the sea bed can only be revealed by a few small specimens brought up at isolated spots, though fortunately the globigerine ooze which covers the bottom at all the greater ocean depths forms an ideal bed for the cable. The experience gained in the earlier days of ocean telegraphy, from the failure and abandonment of nearly 50 per cent. of the deep-sea cables within the first twelve years, placed the probable life of a cable as low as fifteen years, but the weeding out of unserviceable types of construction, and the general improvement in materials, have by degrees extended that first estimate, until now the limit may be safely placed at not less than forty years. In depths beyond the reach of wave motion, and apart from suspension across a submarine gully, which will sooner or later result in a rupture of the cable, the most frequent cause of interruption is seismic or other shifting of the ocean bed, while in shallower waters and near the shore the dragging of anchors or fishing trawls has been mostly responsible. Since by international agreement the wilful damage of a cable has been constituted a criminal offence, and the cable companies have avoided crossing the fishing banks, or have adopted the wise policy of refunding the value of anchors lost on their cables, the number of such fractures has greatly diminished.
Instruments for Land Telegraphy.—At small country towns or villages, where the message traffic is light, the Wheatstone “A B C” instrument is used. In this apparatus electric currents are generated by turning a handle (placed in A B C instrument. front of the instrument), which is geared, in the instruments of the most recent pattern, to a Siemens shuttle armature placed between the two arms of a powerful horseshoe permanent magnet. When one of a series of keys (each corresponding to a letter) arranged round a pointer is depressed, the motion of the pointer, which is geared to the shuttle armature, is arrested on coming opposite that particular key, and the trans-mission of the currents to line is stopped, though the armature itself can continue to rotate. The depression of a second key causes the first key to be raised. The currents actuate a ratchet-wheel mechanism at the receiving station, whereby the hand on a small dial is moved on letter by letter. A noticeable feature in the modern A B C indicator, as well as in all modern forms of telegraph instruments, is the adoption of “induced” magnets in the moving portion of the apparatus. A small permanent magnet is always liable to become demagnetized, or have its polarity reversed by the action of lightning. This liability is overcome by making such movable parts as require to be magnetic of soft iron, and magnetizing them by the inducing action of a strong permanent magnet. Although formerly in very extensive employment, this instrument is dropping out of use and the “sounder” (and in many cases the telephone) is being used in its place.
![]() |
| Fig. 13.—Single Needle with sounding arrangement. |
At offices where the work is heavier than can be dealt with by the A B C apparatus, the “Single Needle” instrument has been very largely employed; it has the advantage of slight liability to derangement, and of requiring very little Single needle instrument. adjustment. A fairly skilled operator can signal with it at the rate of 20 words per minute. The needle (in the modern pattern) is of soft iron, and is kept magnetized inductively by the action of two permanent steel magnets. The coils are wound with copper wire (covered with silk), 10 mils. in diameter, to a total resistance of 200 ohms. The actual current required to work the instrument is 3·3 milliamperes (equivalent approximately to the current given by 1 Daniell cell through 3300 ohms), but in practice a current of 10 milliamperes is allowed. A simple, but important, addition to enable the reading from the instrument to be effected by sound is shown in fig. 13; in this arrangement the needle strikes against small tubes formed of tin-plate. Although a most serviceable instrument and cheap as regards maintenance, the “single needle” has (except for railway telegraph purposes) been discarded in favour of the “sounder,” to secure the advantage of using one general pattern of apparatus, as far as possible, and to avoid the necessity of two different types of instrument being learnt by the telegraphist.
The well-known code of signals (fig. 14) introduced by Morse is still employed in the United States and Canada, and the international code in vogue in Europe differs only slightly from it.
International Code
American Code
Fig. 14.—Morse Alphabets.
The instruments used for land telegraphs on this system are of two types—“sounders,” which indicate by sound, and “recorders,” which record the signals.
Recorders vary in details of construction, but all have the same object, namely, to record the intervals during which the current is applied to the line. In the earlier forms of instrument the record was made by embossing lines on a ribbon of paper by means of a sharp style fixed to one end of a lever, which carried at the other end the armature of an electromagnet. The form of Morse recorder Morse ink-writer. almost universally used in Europe makes the record in ink, and hence is sometimes called the “ink-writer.” This method has the advantage of distinctness, and so is less trying to the eyes of the operators. Although the “ink-writer” is still in use it is practically an obsolete instrument, and has been displaced by the “sounder.”
Operators who used the recorder soon learned to read the message by the click of the armature against its stop, and as this left the hands and eyes free to write, reading by sound was usually preferred. Thus, when it is not necessary to keep a copy, a much simpler instrument may be employed and the message read Sounder. by sound. The earliest successful form was “Bright’s bell” sounder, which consisted, of two bells of distinct tone or pitch, one of which was sounded when the current was sent in one direction and the other when it was reversed. This instrument was capable of giving very considerable speed, but it was more complicated than that now in use, which consists only of an electromagnet, with its armature lever arranged to stop against an anvil or screw in such a way as to give a distinct and somewhat loud sound. Dots and dashes are distinguished by the interval between the sounds of the instrument in precisely the same way as they are distinguished when reading from the recorder by sound. Fig. 15 shows the modern pattern of “sounder” as used by the British Post Office. The magnet is wound to a resistance of 40 ohms (or 900 ohms when worked from accumulators), and the instrument is worked with a current of 400 milliamperes (25 milliamperes with accumulators).
Fig. 15.—Modern “Sounder.”
Methods of Working Land Circuits.—The arrangement on the “open-circuit” system for single-current working is shown in fig. 16, in which L1 represents the line, G a galvanometer, used simply to show that the currents are going to line emit Open circuit, single-current system. when the message is being transmitted, K the transmitting key, B the battery, I the receiving instrument, and E the earth-plate. The complete circuit is from the plate E through the instrument I, the key K, and the galvanoscope G to the line L1, then through the corresponding instruments to the earth-plate E at the other end, and back through the earth to the plate E. The earth is always, except for some special reason, used as a return, because it offers little resistance and saves the expense and the risk of failure of the return wire. The earth-plate E ought to be buried in moist earth or in water. In towns the water and gas pipe systems form excellent earth plates. It will be observed that the circuit is not in this case actually open; the meaning of the expression “open circuit” is “no battery to line.” In normal circumstances the instruments at both ends are ready to receive, both ends of the line being to earth through the receiving instruments. A signal is sent by depressing the key K, and so changing the contact from a to b, and thus putting the battery to line. On circuits where the traffic is small it is usual to make one wire serve several stations. At an intermediate or wayside station W, a “switch” S, consisting of three blocks of brass fixed to an insulating base, is sometimes used (not in Great Britain). W may be made the terminal station of L1 by inserting plug 3, and of L2 by inserting plug 2, or the instruments may be cut out of circuit by inserting plug 1. In ordinary circumstances the messages from all stations are sent through the whole line, and thus the operator at any station may transmit, if the line is free, by manipulating his key.
Fig. 16.—Open Circuit, Single-current System.
The connexions for single-current working on the “closed-circuit” system are shown in fig. 17. It differs from the open circuit in only requiring one battery (although, as in the figure, half of it is often placed at each end), in having the receiving instrument between the line and the key, and in Closed-circuit system. having the battery continuously to the line. The battery is kept to the line by the bar c, which short-circuits the keys. When signals are to be sent from either station the operator turns the switch c out of contact with the stop b, and then operates precisely as in open circuit sending. This system is more expensive than the open-circuit system, as the battery is always at work; but it offers some advantages on circuits where there are a number of intermediate stations, as the circuit is under a constant electromotive force and has the same resistance no matter which station is sending or receiving. The arrangement at a wayside station is shown at W. When the circuit is long and contains a large number of stations, the sending battery is sometimes divided among them in order to give greater uniformity of current along the line. When only one battery is used the current at the distant end may be considerably affected by the leakage to earth along the line.
Fig. 17.—Closed Circuit, Single-current System.
If long circuits were worked direct with ordinary instruments, high battery power would be required in order to send sufficient current to actuate the apparatus. In such cases it is usual to employ a local battery to produce the signals, and to close the local battery circuit by means of a Single-current relay working. circuit-closing apparatus called a relay, which is practically an electromagnetic key which has its lever attached to the armature of the magnet and which can be worked by a very weak current. The arrangement at a station worked by relay on the “single-current” system is shown in fig. 18, where L is the line wire, joined through the key K to one end of the coil of the relay magnet R, the other end of which is put to earth. When a current passes through R the armature A is attracted and the local circuit is closed through the armature at b. The local battery B1 then sends a current through the instrument I and records the signal. In the form of relay indicated in the figure the armature is held against the stop a by a spring S.
Fig. 18.—Single-current Relay Working.
“Single-current” working by means of a non-polarized relay (fig. 18), although general in America, is not adopted in England. In the latter country, when such working is resorted to, a “polarized relay” (fig. 20) with a bias is used, but on all important lines workedDouble-current system. by sounders the “double-current” system is employed. In this the tongue of the relay is kept over to the spacing side by means of a current flowing in one direction, but on the depression of the signalling key the current is reversed, moving the relay tongue over to the marking side.
![]() Fig. 19.—Siemens Polarized Relay. |
![]() Fig. 20.—Post Office Standard Relay. |
The Siemens polarized relay, shown in fig. 19, consists of an armature a, pivoted at one end h in a slot at one end N of a permanent magnet m, the other pole s of which is fixed to the yoke y of a horse-shoe electromagnet M. The armature is placed between the poles of the electromagnet, and being Polarized relays. magnetized by the magnet m it will oscillate to the right or left under the action of the poles of the electromagnet M according as the current passes through M in one direction or the other. This form of relay is largely used, but in Great Britain it has been entirely displaced by the form shown in fig. 20, which is the most modern pattern of relay used by the British Post Office, known as the “Post Office Standard Relay.” In this instrument there are two soft iron tongues, n, s, fixed upon and at right angles to an axle a, which works on pivots at its ends. These tongues are magnetized by the inducing action of a strong horse-shoe permanent magnet, S N, which is made in a curved shape for the sake of compactness. The tongue plays between the poles of two straight electromagnets. The coils of the electromagnets are differentially wound with silk-covered wire, 4 mils (=·004 inch) in diameter, to a total resistance of 400 ohms. This differential winding enables the instrument to be used for “duplex” working, but the connexions of the wires to the terminal screws are such that the relay can be used for ordinary single working. Although the relay is a “polarized” one, so that it can be used for “double-current” working, it is equally suitable for “single-current” purposes, as the tongue can be given a bias over to the “spacing” side, i.e. to the side on which no current passes through the local circuit. The standard relay will work single current with a current of 3 milliamperes, though in practice about 10 would be used. Worked double current—that is, with the tongue set neutral, having no bias either to the spacing or marking side—the relay will give good signals with 11/2 milliampere of current, though in practice 10 milliamperes are provided. The lightness of the moving part enables great rapidity of action to be obtained, which for fast speed working is very essential. The relay tongue, being perfectly free to move, can be actuated by a comparatively weak current. Normally a switch attached to the key cuts the battery off, and connects the line direct through the receiving relay; this switch is turned to “send” when transmission commences, and is moved back to “receive” when it ceases: this movement is done quite mechanically by the telegraphist, and as it is practically never forgotten, automatic devices (which have often been suggested) to effect the turning are wholly unnecessary.
Fig. 21.—Connexions for Double-current Working.
Fig. 21 shows the general arrangement of the connexions for double-current working; the galvanometer G is used for the purpose of indicating whether a station is calling, in case the relay sticks or is out of adjustment. The key K (shown in general plan), when worked, sends reversed currents from the battery B. In cases where “universal battery” working, i.e. the working of several instruments from one set of batteries or accumulators, is adopted, the positive and negative currents have to be sent from independent batteries, as shown by fig. 22. The stop a of the key K is connected through a switch S with one pole of the battery B, and the stop b in the usual way with the other pole. Suppose the arm c of the switch S to be in contact with 2; then when the key is manipulated it sends alternately positive and negative currents into the line. If the positive is called the signalling current, the line will be charged positively each time a signal is sent; but as soon as the signal is completed a negative charge is communicated to the line, thus hastening the discharge and the return of the relay tongue to its insulated stop.
Fig. 22.—Universal Battery Working.
When a local instrument such as a sounder (fig. 15) is worked from a relay, the dying away of the magnetism in the iron cores of the electromagnet, when the relay tongue moves from the marking to the spacing side, i.e. when the local battery is cut off, sets up an induced current of high tension, which Spark coils. causes a spark to jump across the contact points of the relay, and by oxidizing them makes it necessary for them to be frequently cleaned. In order to avoid this sparking, every local instrument in the British Postal Telegraph Department has a “spark” coil connected across the terminals of the electromagnet. The spark coil has a resistance about ten times as great as that of the electromagnet it shunts, and the wire of which it is composed is double wound so as to have no retarding effect on the induced current, which circulates through the spark coil instead of jumping in the form of a spark across the contact points. The device is a most effectual one.
On long circuits worked by the Wheatstone fast-speed apparatus, and especially on those in which a submarine cable is included, it is found necessary to introduce “repeaters” half-way, in order to enable a high speed to be maintained. The speed at which a circuit can be worked depends upon what is known Repeaters. as the “KR” of the line, i.e. the product of the total capacity and the total resistance, both the capacity and the resistance having a retarding effect on the signals. By dividing a line into two halves the working speed will be dependent upon the KR of the longest half, and as both K and R are directly proportional to the length of the line, the KR product for the half of a circuit is but one quarter that of the whole length of the circuit, and the retardation is correspondingly small. Thus the speed on a line at which the repeater is situated exactly midway will be four times that of the line worked direct. Repeaters (or translators, as they are sometimes termed) are in Great Britain only used on fast-speed circuits; they are in no case found necessary on circuits worked by hand, or at “key speed” as it is called.
Duplex telegraphy consists in the simultaneous transmission of two messages, one in each direction, over the same wire. The solution of this problem was attempted by J. W. Gintl of Vienna in 1853 and in the following year by Frischen and by Siemens and Halske. Within a few Duplex telegraphy. years several methods had been proposed by different inventors, but none was at first very successful, not from any fault in the principle, but because the effect of electrostatic capacity of the line was left out of account in the early arrangements. The first to introduce a really good practical system of duplex telegraphy, in which this difficulty was sufficiently overcome for land line purposes, was J. B. Stearns of Boston (Mass.). In order that the line between two stations maybe worked on the duplex system it is essential that the receiving instrument shall not be acted on by the outgoing currents, but shall respond to incoming currents. The two methods most commonly employed are the differential and bridge methods.
In fig. 23, representing the “differential” method, B is the sending battery, B1 a resistance equal to that of the battery, R a rheostat and C an adjustable condenser. Suppose the key to be depressed, then a current flows through one winding of the differential relay to line and through the Differential method. other winding and rheostat to earth. Now if the values of the rheostat and condenser are adjusted so as to make the rise and fall of the outgoing current through both windings of the relay exactly equal, then no effect is produced on the armature of the relay, as the two currents neutralize each other's magnetizing effect.
Incoming currents pass from line through one coil of the relay, the key, and either the battery or battery resistance, according as whether the key is raised or depressed. The result is that the armature of the relay is attracted, and currents are sent through the sounder from the local battery, producing the signals from the distant station. When the key is in the middle position, that is, not making connexion with either the front or back contacts, the received currents pass through both coils of the relay and the rheostat; no interference is, however, felt from this extra resistance because, although the current is halved, it has double the effect on the relay, because it passes through two coils instead of one.
Fig. 23.—Duplex Working - differential method.
In the “bridge” method (fig. 24), instead of sending the currents through the two coils of a differentially wound relay or receiving instrument as in Frischen's method, two resistances a and b are inserted, and the receiving instrument is joined between P and Q. The currents thus divide at Bridge method. the point D, and it is clear that if the difference of potential between P and Q is unaffected by closing the sending key, then no change of current will take place in the instrument circuit. The relative potential of P and Q is not affected by the manipulation of the sending key if the resistance of a bears the same proportion to that of b as the resistance of the line does to that of the resistance R; hence that is the arrangement used. One very great advantage in this method is that the instrument used between P and Q may be of any ordinary form, i.e. relay, Hughes, siphon recorder, &c.
Fig. 24.—Duplex Working: bridge method.
Most important cables, such as those of the Eastern Telegraph
Company and the various Atlantic cables, are worked duplex on
Muirhead's plan. What may be called a mechanical
method of duplexing a cable was described by Lord
Kelvin in a patent taken out by him in 1858. In this, as
Duplex working
on cables.
in the ordinary methods, a differentially wound receiving
instrument was used, one coil being connected with the cable
and the other with the earth; but it differed from other methods
in requiring no “artificial” or balancing cable. The compensation
was to be obtained by working a slide resistance included in the
circuit of the compensating coil, either by the sending key or by
clockwork released by the key, so as to vary the resistance in that circuit according to any law which might be required to prevent
the receiving instrument being affected by the outgoing current.
Four years later Varley patented his artificial cable, which was the
first near approach to a successful solution of the duplex problem
on the principle now adopted. It was not, however, a sufficiently
perfect representation of a laid cable to serve for duplexing cables
of more than a few hundred miles in length. By a modification of
the bridge method, applied with excellent results by Dr Muirhead
to submarine work, condensers are substituted for a and b, one being
also placed in the circuit between P and Q. In this case no current
flows from the battery through the line or instruments, the whole
action being inductive. As we have already stated, the distribution
of the capacity along the resistance R must in submarine
cable work be made to correspond very accurately with the distribution
of the capacity along the resistance of the cable. This is
accomplished by Dr Muirhead in the following manner. One side
of a sheet of paraffined paper is covered with a sheet of conducting
substance, say tinfoil, and over the other side narrow strips of the
same substance are arranged gridiron wise to form a continuous
circuit along the strip. The breadth and thickness of the strip
and the thickness of the paraffined paper are adjusted so that the
relative resistance and capacity of this arrangement are the same
as those of the cable with which it is intended to be used. A large
number of such sheets are prepared and placed to ether, one over
the other, the end of the strip of the first sheet being connected
with the beginning of the strip of the second, and so on to the last
sheet, the whole representing the conductor of the cable. In the
same way all the conducting sheets on the other side of the paper
are connected together and form the earth-plate of this artificial
cable, thus representing the sea. The leakage through the insulator
of the cable is compensated for by connecting high resistances between
different points of the strip conductor and the earth coating.
Faults or any other irregularity in the cable may be represented by
putting resistances of the proper kind into the artificial line. This
system of duplexing cables has proved remarkably successful.
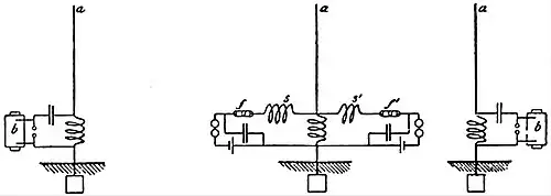
Quadruplex telegraphy consists in the simultaneous transmission of two messages from each end of the line. The only new problem introduced is the simultaneous transmission of two messages in the same direction; this is sometimes called “diplex transmission.” The solution of this Quadruplex telegraphy. problem was attempted by Dr J. B. Stark of Vienna in 1855, and during the next ten years it was worked at by Bosscha, Kramer, Maron, Schaak, Schreder, Wartmann and others. The first to attain practical success was Edison, and his method with some modifications is still the one in most general use.
The arrangement is shown in fig. 25, and indicates the general principle involved. K1 and K2 are two transmitting keys; the former reverses the direction of the line current, the latter increases the strength irrespective of direction, by joining on another battery when the key is depressed. R1 and R2 are relays for receiving the currents; the former is polarized and responds to reversals of current, while the latter is non-polarized and responds only to the increased current from K2 irrespective of the direction of that current. This arrangement can be duplexed in the way already explained, by providing differential relays and arranging for the outgoing currents to divide differentially through the two relays at each end.
Fig. 25.—Quadruplex Working.
The “multiplex” system devised by Patrick B. Delany (which was adopted to a limited extent in Great Britain, but has now been entirely discarded) had for its object the working of a number of instruments simultaneously on one wire. The general principle of the arrangement of the apparatus is shown by Multiplex telegraphy. fig. 26. Arms a and b, one at each station A and B, are connected to the line wire, and are made to rotate simultaneously over metallic segments, 1, 2, 3, 4, and 1′, 2′, 3′, 4′, at the two stations, so that when the arm a is on segment 1 at A, then b is on segment 1′ at B, and so on. At each station sets of telegraph apparatus are connected to the segments, so that when the arms are kept rotating the set connected to 1 becomes periodically connected to the set connected to 1′, the set connected to 2 to the set connected to 2′, and so on. In practice the number of segments actually employed is much greater than that indicated on the figure, and the segments are arranged in a number of groups, as shown by fig. 27, all the segments 1 being connected together, all the segments 2, all the segments 3, and all the segments 4. To each group is connected a set of apparatus; hence during a complete revolution of the arms a pair of instruments (at station A and station B) will be in communication four times, and the intervals during which any particular set of instruments at the two stations are not in connexion with each other become much smaller than in the case of fig. 26. In practice this subdivision of the segments is so far extended that the intervals of disconnexion become extremely small, and each set of apparatus works as if it were alone connected to the line. As many as 162 segments in eight groups are practically used. The arm which moves round over the segments rotates at the rate of three revolutions per second, and is kept in motion by means of an iron toothed wheel, the rim of which is set in close proximity to the poles of an electromagnet. Through this electromagnet pass impulses of current regulated in frequency by a tuning-fork contact breaker; these impulses, acting on the teeth of the iron wheel, by a series of pulls keep it in uniform rotation. If the rates of vibration of the two tuning-forks at the two stations could be maintained precisely the same, the two arms would rotate in synchronise, but as this uniform vibration cannot be exactly preserved for any length of time, a means is provided whereby the rate of vibration of either of the forks can be slowed down, so as to retard the rate of rotation of one or other of the arms. This is effected by means of “correcting” segments, of which there are six sets containing three each. Should the rotating arms fail to pass over these correcting segments at their synchronous positions, correcting currents pass to a relay which cuts off momentarily the current actuating the tuning-fork, thereby altering the rate of vibration of the latter until the arms once more run together uniformly. The actual number of sets of apparatus it was possible to work multiplex depended upon the length of the line, for if the latter were long, retardation effects modified the working conditions. Thus between London and Manchester only four sets of apparatus could be worked, but between London and Birmingham, a shorter distance, six sets (the maximum for which the system is adapted) were used.
Fig. 26.—Multiplex Working.
Fig. 27.—Grouping of Segments in Multiplex System.
Chemical Telegraphs.—A method of recording signals in the Morse code, formerly used to a considerable extent, was to use a chemically prepared ribbon of paper. Suppose, for instance, the paper ribbon to be soaked in a solution of iodide of potassium and a light contact spring made to press continuously on its surface as it is pulled forward by the mechanism. Then, if a current is sent from the spring to the roller through the paper, a brown mark will be made by the spring due to the liberation of iodine. This was the principle of the chemical telegraph proposed by Edward Davy in 1838 and of that proposed by Bain in 1846. Several ingenious applications of his method were proposed and practically worked, as, for example, the copying telegraph of Bakewell and of Cros, by means of which a telegram may be transmitted in the sender's own handwriting; the pantelegraph of Caselli; the autographic telegraphs of Meyer, Lenoir, Sawyer and others; and the autographic typo-telegraph of Bonelli; all forms of the apparatus have, however, fallen into disuse.
Automatic Telegraphs.—It was found impossible to make the Morse ink writer so sensitive that it could record signals sent over land lines of several hundred miles in length, if the speed of transmission was very much faster than that which could be effected by hand, and this led to the adoption of automatic methods of transmission. One was proposed by Bain as early as 1846, but it did not come into use. That now employed is, however, practically a development of his idea. It consists in punching, by means of “a puncher,” a series of holes in a strip of paper in such a way that, when the strip is sent through another instrument, called the “transmitter,” the holes cause the circuit to be closed at the proper times and for the proper proportionate intervals for the message to be correctly printed by the receiving instrument or recorder. The most successful apparatus of this kind is that devised by Wheatstone; others were devised by Siemens and Halske, Garnier, Humaston, Siemens, and Little.
Fig. 28.—Wheatstone Punching Apparatus.
In the Wheatstone automatic apparatus three levers are placed side by side, each acting on a set of small punches and Wheatstone system. on mechanism for feeding the paper forward a step after each operation of the levers. The punches are arranged as shown in fig. 28, and the levers are adjusted so that the left-hand one moves a, b, c and punches a row of holes across the paper (group 1 in the figure), the middle one moves b only and punches a centre hole (2 in the figure), while the right-hand one moves a, b, d, e and punches four holes (3 and 4 in the figure). The whole of this operation represents a dot and a dash or the letter “a.” The side rows of holes only are used for transmitting the message, the centre row being required for feeding forward the paper in the transmitter. The perforation of the paper when done by hand is usually performed by means of small mallets, but at the central telegraph office in London, and at other large offices, the keys are only used for opening air-valves, the actual punching being done by pneumatic pressure. In this way several thicknesses of paper can be perforated at the same time, which is a great convenience for press work, since copies of the same message have often to be transmitted to several newspapers at the same time.
Fig. 29.—Wheatstone Automatic Transmitter.
The mode of using the paper ribbon for the transmission of the message is illustrated in fig. 29. An ebonite beam B is rocked up and down rapidly by a train of mechanism, and moves the cranks A and A′ by means of two metal pins P, P′. A and A′ carry two light vertical rods S, M, the one as much in front of the other as there is space between two successive holes in the perforated ribbon. To the other ends of A, A′, rods H, H′ are loosely hinged, their ends passing loosely through holes in the end of the bar L. By means of two collars K, K′, the lever L is made to oscillate in unison with the beam B. The operation is as follows: the paper ribbon or perforated slip is moved forward by its centre row of holes at the proper speed above the upper ends of the rods S, M; should there be no holes in the ribbon then the cranks A, A′ will remain stationary, although the beam B continues to rock, since the rods S, M are pressing against the ribbon and cannot rise. Should, however, a row of holes, like group 1, fig. 28, be in the ribbon, the rod M will first be allowed to pass through the paper, and the corresponding movement of crank A′ will, through the agency of collet K, throw over lever L, and the battery zinc will be put to the line; at the next half stroke of the beam, S will pass through, and crank A by its movement will, through the agency of collet K′, throw over lever L in the reverse direction, so that the battery copper will be put to the line. Thus for a dot, first a negative and then a positive current is sent to the line, the effect of the current continuing during the time required for the paper to travel the space between two holes. Again, suppose groups 3 and 4 to be punched. The first part will be, as before, zinc to the line; at the next half stroke of the beam M will not pass through, as there is no hole in the paper; but at the third half stroke it passes through and copper is put to the line. Thus for a dash the interval between the positive and the negative current is equal to the time the paper takes to travel over twice the space between two successive holes. Hence for sending both a dot and a dash, reverse currents of short duration are sent through the line, but the interval between the reversal is three times as great for the dash as for the dot.
In the receiving instrument the electromagnet is constructed in precisely a similar way to the relay (fig. 20), so that the armature, if pulled into any position by either current, remains in that position, whether the current continues to flow or not, until a reverse current is made to act on the magnet. For the dot the armature is deflected by the first current, the ink-wheel being brought into contact with the paper and after a short interval pulled back by the reverse current. In the case of the dash the ink-wheel is brought into contact with the paper by the first current as before and is pulled back by the reverse current after three times the interval. The armature acts on an inking disk on the principle described above, save only that the disk is supplied with ink from a groove in a second wheel, on which it rolls: the grooved wheel is kept turning with one edge in contact with ink in an ink-well. By this method of transmission the battery is always to the line for the same interval of time, and alternately with opposite poles, so that the effect of electrostatic induction is reduced to a minimum.
Although it is quite possible to obtain good signals at a rate corresponding to 600 letters per minute, in practice it is found that such a high speed is not advisable, as it is difficult or impossible for even the most skilled operators properly to handle and transcribe from the “slip” on which the signals are recorded.
In Squier and Crehore's “Synchronograph” system “sine waves” of current, instead of sharp “makes and breaks,” or sharp reversals, Squier and Crehore system. are employed for transmitting signals, the waves being produced by an alternating-current dynamo, and regulated by means of a perforated paper ribbon, as in the Wheatstone automatic system. The arrangement has been found under certain conditions to give better results than those obtained with sharp reversals.
In the undulator apparatus, which is similar in general principle to the “siphon recorder” used in submarine telegraphy, a spring The undulator. or falling weight moves a paper strip beneath one end of a fine silver tube, the other end of which dips into a vessel containing ink. The siphon is supported on a vertical axle carrying two armatures which are acted upon by two electromagnets. It is in fact the electromagnet and spindle of a telegraph relay with a siphon in place of the tongue. Screw adjustments are provided for closing or opening the air gap between the electromagnets and armatures, for raising or lowering the siphon, and for adjusting the point of the siphon to the centre or side of the paper strip. The received signals are recorded on the paper strip in an undulating continuous line of ink, and are distinguished by the length of deviation from zero. The amplitude of the signals can be varied in several ways, either by a shunt across the electromagnet, or by altering the tension of the controlling springs or by altering the air gap between electromagnets and armatures. Up to 100 words per minute the signals are easily readable, but beyond that speed they are more difficult to translate, although experts can read them when received at 200 words per minute.
Pollak-Virag System.—In the improved Pollak-Virag system the received signals are recorded in characters similar to ordinary handwriting. The operator actuates a typewriter form of perforator which punches varying groups of holes, representing the different characters, in a paper strip about one inch wide. This slip is then passed through a transmitter fitted with brush contacts and connected to the two line wires of a metallic loop. One circuit is formed by the loop itself, and a second, quite independent, by the two wires in parallel, earthed at each end. At the receiving end there are two telephone receivers, one joined in the loop circuit, the other in the earth return circuit. The diaphragms of these are mechanically connected to a small mirror and control its movement in accordance with the strength and direction of the received currents. One diaphragm gives the mirror a movement in a vertical direction while the other gives it a horizontal motion. The two acting together can thus give the mirror any desired movement within limits. A ray of light is directed upon the mirror, and the motion of the latter, due to the varying strengths and direction of the received currents, is made to write the transmitted signals upon a strip of bromide photographic paper about three inches wide. The line of writing is of course continuous, there being no break, although there is a space between words. The writing, although not well formed, is sufficiently distinct for ordinary messages; the figures 3, 5, and 8 are, however, liable to be mistaken for each
other, being very similar in appearance. The bromide paper is automatically passed through a developing bath, a fixing bath, and drying rollers. This operation occupies about twelve seconds, giving a message written in column form ready for delivery. It is not a system likely to have general application.
Type Printing Telegraphs.—The first considerable improvement in type printing telegraphs was made by D. E. Hughes in 1855. Hughes instrument. In the Hughes instrument two trains of clockwork mechanism, one at each end of the line, are kept moving at the same speed. Each instrument is provided with a keyboard, resembling that of a small piano, the key levers of which communicate with a circular row of vertical pins. A horizontal arm fixed to a vertical shaft in gear with the mechanism sweeps over these pins at the rate of about two revolutions per second. When a key is depressed, slightly raising one of the pins, the horizontal arm will pass over it and in doing so will momentarily join the battery to the line. The current thus sent to the line may be made either to act directly on the printing instrument or to close a local circuit by means of a relay. For simplicity we will suppose direct action. The current then passes through the coils of an electromagnet, which releases the printing mechanism. The electromagnet consists of two coils, each wound on a soft iron core fixed to the poles of a strong permanent horse-shoe magnet. The armature of the electromagnet is normally attracted by the effect of the permanent magnet, but it is furnished with two antagonistic springs tending to throw it upwards. These springs are so adjusted that they are not quite able to release the armature. When a current comes in from line it passes through the electromagnet in such a direction as to weaken the effect of the permanent magnet; hence the springs are able to release the armature, which rises smartly and in its turn releases the printing mechanism. Either a weight or a motor is used for making the movements of the mechanism required to effect the printing of the signals. The type-wheel is carried round continuously by the mechanism, to which it is attached by a friction disk and ratchet drive. An axle carrying four cams is normally at rest, but it is thrown into gear with the mechanism when the armature rises, makes one complete revolution, and comes to rest ready for the next signal. In its revolution one of its cams engages with the correcting wheel attached to the type-wheel in order to ensure that the latter is in the correct position for printing a complete letter; the second cam lifts the paper against the type-wheel and prints the letter; the third moves forward the paper tape one space to be ready for the printing of the next letter; and the last cam replaces the armature on the cores of the electromagnet. This complete operation occupies about one-twelfth of a second. It is of course necessary that two instruments working together should have the same speed. This is obtained by causing one of them to send a series of signals from one particular key, while the operator at the other station adjusts his speed until he receives the same signal after short-circuiting his electromagnet for ten revolutions. Both type-wheels are then set to zero by the lever provided for that purpose, and released by the current from the letter-blank key; then all subsequent signals will be recorded similarly at the sending and receiving ends. If by any chance wrong signals are printed or the instruments get out of phase, the sender is stopped by the receiver sending a few signals, after which both type-wheels are again set to zero and correspondence continued. This system of telegraphic printing has a great advantage over the step-by-step system in avoiding the necessity for the rapidly acting electric escapement, which, however skilfully planned and executed, is always liable to failure when worked too rapidly. In Hughes's instrument almost perfect accuracy and certainty have been attained; and in actual practice it has proved to be decidedly superior to all previous type-printing telegraphs, not only in speed and accuracy, but in less liability to mechanical derangement from wear and tear and from accident. It involves many novel features: the receiving electromagnet is of peculiar construction and remarkable efficiency and the transmitting aparatus has a contrivance to prevent unintentional repetitions of a letter through the operator holding his finger too long on a key. This instrument was for some years extensively used in the United States, until superseded by G. M. Phelps's modification of it, known as the “American combination printing telegraph,” because it embodied part of Hughes's and part of House's instruments. With this modified form somewhat greater speed was obtained, but it was found difficult to drive, requiring the use of steam or some such motive-power. In a subsequent modification introduced in 1875 an electromotor was applied to drive the printing mechanism. This allowed a shorter train and stronger wheel work to be used, securing more certain action, and involving less risk of derangement. Hughes's form was taken up by the French government in 1860, and is very largely in use not only in France but in all European countries, including Great Britain.
The system brought out in 1874 by Emile Baudot and since considerably developed is a multiplex system giving from two to Baudot system. Baudot six channels on one wire, each channel giving a working speed of thirty words per minute. The channels can be worked in either direction according to the traffic requirements. The line is joined at each end to distributors which are arranged to maintain uniform speed and to control their respective receivers. Each channel consists of a keyboard and receiver both electrically connected to certain parts of the distributor. The keyboard has five keys similar to those of a piano, and the letters and figures are obtained by the different combinations which can be formed by the raised and depressed keys. In the raised position a negative battery is connected to the distributor and in the depressed position a positive battery. At regular intervals a rotating arm on the distributor connects the five keys of each keyboard to line, thus passing the signals to the distant station, where they pass through the distributor and certain relays which repeat the currents corresponding to the depressed keys and actuate electromagnets in the receivers. Each receiver is provided with five electromagnets corresponding to the five keys of the keyboard, and the armatures of the electromagnets can thus repeat the various combinations for all the signals allocated to the different combinations of the keys. When a combination of signals has been received and the armatures have taken up their respective positions corresponding to the transmitting keyboard, certain mechanism in the receiver translates the position of the five armatures into a mechanical movement which lifts the paper tape against a type-wheel and prints the corresponding letter. The movement for any particular combination of armatures can only take place once per revolution of the type-wheel and at one particular place. The signals must therefore be sent at regular intervals, and to ensure this being done correctly a telephone or time-tapper is provided at each keyboard to warn the operator of the correct moment to depress his keys. The Baudot apparatus can have certain channels extended so as to form a means of continuous communication between one station and two or three others by means of one line. It can also be duplexed or repeated similar to any other telegraph system.
In the Murray system the messages are first prepared in the form of a strip of perforated paper about half an inch wide. Perforating Murray system. machines equipped with typewriter keyboards are used for the preparation of the messages, two or three keyboard perforators being employed at each end of the telegraph lines on which the Murray system is used. The messages in the form of perforated tape are then passed through an automatic transmitter, something like a Wheatstone transmitter, at a speed of about 100 words a minute. At the receiving station electrical mechanisms record the signals once more as perforations in a paper strip forming an exact replica of the transmitting tape. This received perforated tape is then used to control what is known as the printer or automatic typewriter, a machine that translates the tape perforations into letters and prints the messages in Roman type in page form. This printer is purely mechanical, and its speed is very high. An experimental printer constructed about the middle of 1908 by the British Post Office, operated success full at the rate of 210 words (1260 letters) per minute. The usual working speed is from 100 to 120 words per minute. The Murray automatic system was designed specially for dealing with heavy traffic on long lines. As it uses the Baudot telegraph alphabet it has an advantage in theory over the Wheatstone using the Morse alphabet in regard to the speed that can be obtained on a long telegraph line in the ratio of eight to five, and this theoretical advantage is more or less realized in practice. The Murray automatic system is not regarded as suitable for short telegraph lines or moderate traffic, printing telegraphs on the multiplex principle being considered preferable in such circumstances. One of the longest circuits upon which it has been successfully worked is that between St Petersburg and Omsk, a distance of approximately 2400 miles of iron wire, with three repeating stations. As in some other systems retransmission is effected from the received perforated tape.
The Creed system is a development of the Morse-Wheatstone system, and provides a keyboard perforator which punches Morse Creed system. letters or figures on a paper strip by depressing typewriter keys. The slips are passed through an ordinary Wheatstone transmitter and actuate Wheatstone receiving apparatus which in turn controls a “Creed receiving perforator.” This machine reproduces a copy of the original transmitting slip, which can be passed on to any other Wheatstone circuit or can be run through a “Creed printer,” which is a pneumatic machine actuating a typewriter by means of valves. Messages are thus typed upon a slip which is gummed to the telegraph form. The speed of the receiving perforator ranges from 20 to 150 words per minute.
In the Rowland multiple method of telegraphic working, the transmitter consists of a mechanical keyboard provided with a Rowland system. series of levers, which effect certain combinations of positive and negative currents for each letter. These currents are furnished by an alternator which transmits sine currents over the line and operates a motor at the distant end of the line, both machines running in synchronism. At the receiving end of the circuit a shaft is coupled to the motor; this is provided with gearing which rotates four combining commutators and four type-wheels, which print the letters on the band of paper. There are four transmitters and four receivers, which are operated independently by means of an adaptation of the multiplex system of working, and each circuit is provided with a number of segments set apart for its own use. Each transmitter is therefore able to
transmit a separate series of positive and negative currents in different combinations; these are distributed, by suitably arranged distributors and relays at the receiving end of the line, into their respective receivers. The function of the “combiner” in each receiving instrument is so to group the received combination of positive and negative currents that they operate polarized relays in such a manner that the position of the tongues corresponds with the operation of the levers on the transmitter. Since each letter is represented by a specific combination of positive and negative currents, it is possible, by means of the combinations, to close a local circuit at any given interval, and so cause the paper to be pressed against the periphery of the type-wheel at the time when the letter required is opposite. The paper is also caused to advance automatically for each letter, start a fresh line, and also to commence a fresh form at the completion of each message.
Telautograph.—Instruments such as the telautograph and telewriter are apparatus for transmitting a facsimile of handwriting inscribed on a paper at one end of a line, the reproduction being made automatically at the other end of the line at the same time that the message is being written.
A successful apparatus for effecting this was devised by Cowper and was known as the writing telegraph. The telautograph is on a similar principle to the Cowper apparatus, the motion of the transmitting pencil or stylus used in writing being resolved by a system of levers into two component rectilinear motions, which are used to control and vary the currents in two distinct electrical circuits. By the action of the two variable currents on the electromagnetic mechanism in the receiver, the two component motions are reproduced and by their combined action on a second system of levers the receiving pen is caused to duplicate the motions of the transmitting pencil. The motion communicated to rollers by the pencil serves to cut resistance in or out of the two line circuits which are connected to the rollers, and thus two independent variable line currents are obtained. In the receiver there is a strong electromagnet, excited by a local current, which has in its circuit two annular air gaps, across which the magnetic field is practically uniform and constant. In these annular spaces there are suspended by springs two light coils of fine copper wire, capable of being moved vertically, and connected in such a manner as to be traversed by the two variable line currents from the transmitter. These coils are drawn down, by the magnetic action of the field on the currents in the coils, into the annular spaces, against the pull of the springs, more or less strongly, according to the strengths of the two line currents. Each coil is attached to a shaft by a bell crank arrangement, and to these shafts there is secured a system of levers similar to that at the transmitter carrying the receiving pencil at the junction. The shafts are turned by the pull of the magnet upon the coils, and the motions of the transmitting pencil are thus reproduced.
The Korn telephotographic apparatus is based on the principle
of an apparatus devised by Shelford Bidwell in 1881 for the
electrical transmission of pictures to a distance, in which
use was made of the change in electrical resistance which
selenium undergoes when acted upon by light. In the
Korn apparatus the light from a Nernst electric lamp is
Korn
telephotograph system.
concentrated to a point by means of a lens on the original
picture, which is wound on a glass cylinder in the shape of a transparent
photographic film. A totally reflecting prism placed inside
the glass cylinder projects the light which penetrates the film upon a
selenium cell situated at the end of the cylinder. An illumination
of variable intensity (according to the deeper or lighter shades of
the portion of the picture on which the light falls) thus takes place
on the selenium cell. As the glass cylinder, driven by a motor,
revolves upon its axis while also advancing (by means of a screw
thread on the axis), all portions of the picture are successively
brought under the beam or pencil of light and cause a beam of
varying intensity to fall on the selenium cell. Owing to the
variable illumination of the selenium thus produced, the resistance
of the latter, and therefore the intensity of the current sent through
the line to the receiving station by the battery, will be altered accordingly.
At the receiving station a cylinder—which revolves synchronously
with the transmitting cylinder—is covered with a
photographic film or paper, upon a point of which a pencil of light
from a Nernst lamp is concentrated. Before reaching the paper
the light passes through perforations in two iron plates which are
in fact, the pole pieces of a strong electromagnet; between these
is an aluminium shutter which is attached to two parallel wires or
thin strips. When there is no current the shutter covers the perforations
and no light passes, but when a current traverses the
wires they are depressed by electromagnetic action, carrying the
shutter with them, and a quantity of light proportion to the
current strength is admitted through the perforations. By means
of this “light-relay” the intensity of the light acting at any moment
on the sensitized paper is made proportional to the illumination
of the selenium in the transmitter. To eliminate the sluggish action
of the selenium transmitter a selenium cell similar to that at the
transmitting station is arranged at the receiving apparatus, and
exposed to precisely similar variations of light, the arrangement
being such that the lag of this cell counteracts the lag of the transmitting
cell. The synchronous revolutions of the transmitting
cylinders are effected by making one cylinder revolve slightly faster
than the other; after each revolution the cylinder which is accelerated
is arrested for a moment by means of a special relay until
the difference of speed is accurately compensated for. This device
was originally adopted in the d'Arlincourt copying telegraph.
Submarine Telegraphy.—For working long submarine cables the apparatus ordinarily employed on land lines cannot be used, as the retarding effect of the electrostatic capacity of the cable is so marked that signals fail to be recorded except at a very slow speed of working. The transmitted signals or electric impulses, which on a land line are sharply defined when received, become attenuated and prolonged in the case of a long cable, and are unable to actuate the comparatively heavy moving parts of which the land line instruments are formed. Other patterns of apparatus are therefore necessary.

Fig. 30.—Cable Working.
The arrangement of the apparatus for working some of the most recent cables is shown in Fig. 30. The cable is supposed to be worked duplex; but, if S, C1, C2, and AC are removed and the key connected directly with C3, the arrangement for simplex working is obtained. The apparatus consists of a sending battery B, a reversing transmitting key K, a slide of small resistance, three condensers C1, C2, C3, an artificial cable AC, the receiving instruments I and G, and one or more resistances R for adjusting the leakage current. The peculiar construction of AC has been already referred to. The conductor of the cable is practically insulated, as the condensers in the bridge have a very high resistance; hence no appreciable current ever flows into or out of the line. Two receiving instruments, a siphon recorder and a mirror galvanometer, are shown; one only is absolutely necessary, but it is convenient to have the galvanometer ready, so that in case of accident to the recorder it may be at once switched into circuit by the switch s. When one of the levers of K is depressed, the condenser C1 and the cable, and the condenser C2 and the artificial cable, are simultaneously charged in series; but, if the capacity of C1 bears the same proportion to the capacity of the cable as the capacity of C2 bears to the capacity of the artificial cable, and if the other adjustments are properly made, no charge will be communicated to C3. After a very short interval of time, the length of which depends on the inductive retardation of the cable, the condensers corresponding to C1 and C3 at the other end begin to be charged from the cable, and since the charge of C3 passes through the receiving instrument I or G the signal is recorded. The charging of C3 at the receiving end will take place, no matter what is the absolute potential of the condensers, consequently the incoming signals are not affected by those which are being transmitted from that end. In actual practice the receiving instrument is so sensitive that the difference of potential between the two coatings of the condenser C3 produced by the incoming signal is only a very small fraction of the potential of the battery B. When the key is released the condensers and cables at once begin to return to zero potential, and if the key is depressed and released several times in rapid succession the cable is divided into sections of varying potential, which travel rapidly towards the receiving end, and indicate their arrival there by producing corresponding fluctuations in the charge of the condenser C3. All cables of any great length are worked by reverse currents. A modification (known as the cable code) of the ordinary single needle alphabet is used; that is to say, currents in one direction indicate dots and in the other direction dashes.
The general principle on which the instruments for working long submarine cables are based is that of making the moving parts very light and perfectly free to follow the comparatively slow rise and fall of the electric impulses or waves. The simplest form of receiving instrument (formerly much used) is known as the “mirror.” In this instrument a small and very light mirror, about Mirror instruments. 3/8 in. in diameter, attached to a stretched fibre and having a small magnetic needle fixed to its back, is arranged within a galvanometer coil so that the influence of the latter causes the mirror (through the action of the magnetic needle) to be turned through a small angle in one direction or the other according to the direction of the current through the coil. A ray of light from a lamp is thrown on the mirror, whence it is reflected upon a white surface or scale set at a distance of about 3 ft., forming a bright spot on the surface; the slightest angular deflexion of the mirror, owing to its distance from the scale, moves the spot of light a very appreciable distance to the right or left according to the direction of the angular movement. These indications form the telegraph alphabet and are read in the same manner as in the case of the “single needle” instrument used on land.
Fig. 31.—Lord Kelvin's early Siphon Recorder.
The spark recorder in some respects foreshadowed the more perfect instrument—the siphon recorder—which was introduced some years later. Its action was as follows. To an indicator, suitably supported, a to-and-fro motion was given by the electromagnetic actions due to the electric currents constituting the signals. The indicator was connected Spark recorder. with a Ruhmkorff coil or other equivalent apparatus, designed to cause a continual succession of sparks to pass between the indicator and a metal plate situated beneath it and having a plane surface parallel to its line of motion. Over the surface of the plate and between it and the indicator there was passed, at a regularly uniform speed, in a direction perpendicular to the line of motion of the indicator, a material capable of being acted on physically by the sparks, through either their chemical action, their heat, or their perforating force. The record of the signals given by this instrument was an undulating line of fine perforations or spots, and the character and succession of the undulations were used to interpret the signals desired to be sent.
In the original form of the siphon recorder (fig. 31), for which Lord Kelvin obtained his first patent in 1867, the indicator consisted of a light rectangular signal-coil of fine wire, suspended between the poles of two powerful electromagnets M, M so as to be free to move about its longer axis, which is vertical, and so joined that the electric signal currents Siphon recorder. through the cable pass through it. A fine glass siphon tube is suspended with freedom to move in only one degree, and is connected with the signal-coil and moves with it. The short leg of the siphon tube dips into an insulated ink-bottle, so that the ink it contains becomes electrified, while the long leg has its open end at a very small distance from a brass table, placed with its surface parallel to the plane in which the mouth of the leg moves, and over which a slip of paper may be passed at a uniform rate, as in the spark recorder. The ink is electrified by a small induction electrical machine E placed on the top of the instrument; this causes it to fall in very minute drops from the open end of the siphon tube upon the brass table or the paper slip passing over it. When therefore the signal-coil moves in obedience to the electric signal-currents passed through it, the motion communicated to the siphon is recorded on the moving slip of paper by a wavy line of ink-marks very close together. The interpretation of the signals is according to the Morse code,—the dot and dash being represented by reflexions of the line of dots to one side or other of the centre line of the paper. A very much simpler form of siphon recorder, constructed by Dr Muirhead, is now in general use. The magnet between the poles of which the rectangular signal coil moves is built up of a number of thin flat horseshoe-shaped permanent magnets of a special quality of steel, and is provided with adjustable pole pieces. The signal coil is suspended by fibres and is mounted together with a fixed soft iron core on a brass plate affixed to a rack, with which a pinion operated by a milled head screw engages. To the brass plate is attached an arm carrying the bridge piece. A wire or fibre carrying the aluminium siphon cradle is stretched across this bridge piece, and on it is also mounted the small electromagnet, forming part of the “vibrator” arrangement with its hinged armature, to which one end of the stretched wire carrying the siphon is fastened. The ink-box is made adjustable, being carried by an arm attached to a pillar provided with a rack with which a pinion operated by a milled head screw engages. The motor is usually supported on a platform at the back of the instrument, its driving wheel being connected to the shaft of the paper roller by means of a spirally wound steel band. In what is known as the “hybrid” form of recorder the permanent magnets are provided with windings of insulated copper wire; the object of these windings is to provide a means of “refreshing” the magnets by means of a strong current temporarily sent through the coils when required, as it has been found that, owing to magnetic leakage and other causes, the magnets tend to lose their power, especially in hot climates. Instruments of the siphon recorder type have been made to work both with and without electrification of the ink. In the latter case, which is the standard practice, mechanical vibration of the siphon is substituted in the place of electrification of the ink, so as to eliminate the effect of atmospheric conditions which frequently caused discontinuity in the flow of ink.
Fig. 32.—Muirhead’s Siphon Recorder.
Fig. 33 shows a facsimile of part of a message received and recorded by a siphon recorder, such as that of fig. 31, from one of the Eastern Telegraph Company's cables about 830 miles long. As the earth is used for completing the electric circuit, the signals received on such sensitive instruments as these are liable to be disturbed by the return currents of other systems in their immediate neighbourhood, which also use the earth as return, when such are of the magnitude generated by the working of electric tramways or similar undertakings, and to obviate this it is necessary to form the “earth” for the cable a few miles out at sea and make connexion thereto by an insulated return wire, which is enclosed in the same sheathing as the core of the main cable.
The heavier cores, with the consequent advance in speed of working attainable, have necessitated the introduction of automatic sending, the instruments adopted being in general a modification of the Wheatstone transmitter adapted to the form of cable signals, while the regularity of transmission thus secured has caused its introduction even on circuits where the speed cannot exceed that of the ordinary operator’s hand signalling.
The automatic curb sender was originally designed by Lord Kelvin for the purpose of diminishing the effect of inductive retardation in long cables. In ordinary hand-sending the end of the cable is put to one or the other pole of the battery and to earth alternately, the relative time during which it is to battery and to earth depending to
Automatic curb sender. a great extent on the operator. By the automatic curb sender the cable is put to one or the other pole of the battery and then to the reverse pole for definite proportionate times during each signal. The cable is thus charged first positively and then negatively, or vice versa, for each signal. Owing to the difficulty of maintaining perfect balance on duplexed cables, curb sending is not now used, but the signals are transmitted by means of an apparatus similar to the Wheatstone automatic transmitter used on land lines and differing from the latter only in regard to the alphabet employed; the signals from the transmitter actuate a relay having heavy armatures which in turn transmit the signals to the cable; this arrangement gives very firm signals, a point of great importance for good working. The actual speed or rate of signalling is given approximately by the formula, S=120/(KR), where S is the number of words per minute, R the total resistance of the conductor in ohms, and K the total capacity in farads. The speed of a cable is given in words per minute, the conventional number of five letters per word being understood, though in actual practice, owing to the extensive use of special codes, the number of letters per word is really between eight and nine; and this forms a considerable factor in lowering the earning capacity of a cable.
Fig. 33.—Facsimile of Siphon Recorder Message.
A relay capable of working at the end of a long cable has long been a desideratum. The difficulty experienced is that of securing a good electrical contact under the very slight pressure obtainable from an instrument excited by attenuated arrival-currents. In an instrument invented by S. G. Brown (Brit. Pat. 1434 of 1899) it is sought to overcome this difficulty by causing Relays. the point of a contact-arm, representing the siphon in the ordinary form of recorder, to traverse the cylindrical surface of a rapidly rotating drum. This surface is divided into two parallel halves by a short insulating space on which the arm normally rests, so that two separate conducting surfaces are provided, with either one of which the arm will make contact in its excursions in one direction or the other from the central position, the direction and duration of contact being governed by the motion of the suspended coil. The great reduction in friction and in electrical resistance of the contact thus effected between the recurved end of the arm and the rotating surface secures the transmission of signals at such a high rate of speed that the combination of this relay with a special form of curb sender allows of the re-transmission of signals into a second cable at a speed not less than that of the siphon recorder worked in the usual way. The special form of curb sender mentioned, termed the “Interpolator,” has been devised so as to secure the correct re-transmission of an given number of consecutive elements of a letter which are of the same sign, for when signals are received at the end of a long cable the relay arm will not return to its zero position between consecutive elements of the same sign, but will remain on the respective contact surface during the whole time occupied by such consecutive elements. The instrument consists of two cams, the form of which regulates the components of the curbed signal, one cam being for the dot element and the other for the dash element, which by their sequence give the letter signals; these cams, by means of clutches controlled by the relay, are mechanically rotated by clockwork, the speed of rotation being approximately adjusted to the rate of transmission of a single element, so that the requisite number of consecutive elements is transmitted corresponding to the duration of contact of the relay arm with the side controlling that particular element. By a modification of this apparatus the message, instead of being immediately retransmitted into the second cable, can be punched on a paper slip, which can be inserted in the usual way into an automatic transmitter, so as to send either cable or Morse signals. Fig. 34 shows the effect of the interpolator in dissecting the consecutive elements of any letter combination. Another instrument (see Brit. Pat. No. 18,261 of 1898) is what may be termed a magnifier, since signals so small as to be almost unreadable on direct record are rendered perfectly legible. The recorder coil is connected mechanically to a second similar coil, which is suspended between the poles of a laminated magnet, so that the motions of the two are similar. This magnet is excited by an alternating current, and the current induced in the second coil is after rectification sent through an ordinary siphon recorder. As the direction and intensity of this induced current are a function of the position of the second coil in its field, and as this position is determined by its mechanical connexion with the recorder coil, it is evident that, by a suitable choice of the electrical elements of the second coil and its alternating field, the indications on the siphon recorder can be magnified to any reasonable extent.
By means of a “magnetic shunt” Brown succeeded in increasing the working speed of long submarine cables to the extent of 10 to 15 per cent. The magnetic shunt (which is connected across the receiving instrument) consists of a low resistance coil of some 2000 turns of insulated copper wire, enclosed in a laminated iron circuit, and connected at intervals to Magnetic shunt. a number of terminals so that equal increments of inductance may be obtained. The use of the iron core renders it possible to produce a high inductive effect with a low resistance coil, and thus obtain the necessary slow time constant to which is due the success of this type of magnetic shunt on cable signals. The shunts usually employed with the drum relay (referred to above) have each a resistance of about 30 ohms and an inductance of 20, 30 and 40 henrys respectively. The explanation of the action of the shunt is that all slowly varying currents affect the coil of the receiving instrument and its shunt in inverse proportion to their respective resistances; whereas with the comparatively rapid variations of current used in signalling the coil is forced at the beginning of each element of a signal to take more, and at the end of the element less of the total arrival current from the cable than would traverse it if the shunt were non-inductive.
|
| Fig. 34.—Taylor and Dearlove’s Interpolator with Brown’s Improvements. |
| A, slip as received on recorder, using ordinary relays for translating on to second cable; B, slip as received on recorder, when interpolator is used at intermediate station, for sending on to second cable; C (four cells through a line, KR=3·6), signals with recorder under ordinary conditions; D, all conditions the same as in C, but magnifying relay inserted between the end of the line and the recorder. |
For duplex working a “magnetic bridge” is used. This consists of a low resistance coil of copper wire enclosed in a laminated iron circuit similar to the magnetic shunt already described. The coil, however, is arranged so that the sending current enters an adjustable mid-point in the coil and passes through the two halves of the winding to the ends Magnetic bridge. connected to the cable and artificial line respectively. The receiving instrument is joined up across these ends in the usual manner. The action of this bridge resembles the magnetic shunt in its effect on the received signals, as the direction of the winding is the same throughout its length, and thus the full inductive action is produced for curbing purposes. To the sending currents, however, the bridge offers only apparent ohmic resistance due to the fact that the current entering the mid-point of the winding flows through the two halves or arms in opposite direction, and, owing to the winding being on the same iron core, the mutual inductive effect of the two arms on one another neutralizes the self-induction to the sending currents. The average total inductive value of these bridges to received signals is about 40 henrys, and the coil is so arranged that the arms contain three sections or blocks of winding each, two of which are joined up to strap connexions, and the third divided into small subdivisions to any terminals of which the cross circuit connexions may be affixed. By this arrangement of the coil winding, similar sections can be thrown in or out of circuit with both arms, and also so combined that any amount of inductance suitable to every class of cable may be obtained. The bridge is provided with two adjustments:—(1) a variable “apex,” having several turns of the winding between each stud to permit of the arms being thrown slightly out of balance as a rough compensation for the differences in the cable and artificial line; and (2) an additional “fine” adjustment in one of the arms by which the small daily balance variations may be corrected. As with other duplex systems it is possible to obtain several approximately correct adjustments with the bridge and its accessories, but only one gives a true balance, and careful experiment is required to make sure that this is obtained. The advantage of using the magnetic bridge duplex method is that the maximum current is sent to line or cable, and the receiving system benefits accordingly. (H. R. K.)
Commercial Aspects.
The earliest practical trial of electrical telegraphy was made in 1837 on the London and North Western Railway, and the first public line under the patent of Wheatstone and Cooke was laid from Paddington to Slough on the Great Western Railway in 1843. At first the use of the telegraph was almost entirely confined to railways. The Electric Telegraph Company, formed to undertake the business of transmitting telegrams, was incorporated in 1846. For some time it restricted its operations to constructing and maintaining railway telegraphs and was not commercially successful. Its tariff was 1s. for 20 words within a radius of 50 miles, 1s. 6d. within 100 miles, 5s. if exceeding 100 miles. After about five years great improvements were made in the working of the telegraphs and the industry began to make progress. Telegraphic money orders were established in 1850; a cable was laid between Dover and Calais, and in November 1851 the stock exchanges of London and Paris were able for the first time to compare prices during business hours of the same day; numerous companies were formed, some of which were independent of the railways, and keen competition led to considerable extensions of wires and reduction of tariffs, with the result that a large increase in the volume of business took place. In the period from 1855 to 1868 the number of messages carried annually by all the telegraph companies of the United Kingdom increased from 1,017,529 to 5,781,989, or an average annual increase of 16·36 per cent. During this period the Electric Telegraph Company's average receipts per message fell from 4s. 11/4d. to 2s. 03/4d., or just over half, while the number of messages increased nearly fourfold. The working expenses were reduced in a progressively larger ratio, e.g. in 1859 the average working expenses were 2s. 7d. per message or more than 65 per cent. of the receipts, while in 1869 they were 1s. 01/4d. per message or only 51 per cent. of the receipts. Much dissatisfaction was felt because the larger towns where competition had been most keen were unduly benefited to the neglect of smaller towns where the business was comparatively less profitable, but it must be remembered that the telegraph lines followed the railways and that many towns were not served owing to their opposition to the railways.
In 1856 the Edinburgh Chamber of Commerce began an agitation for the purchase by the government of the telegraphs, and other chambers of commerce in Great Britain joined the agitation, which was strongly supported by the Press. In 1865 the Postmaster-General (Lord Stanley) commissioned Mr F. T. Scudamore, second secretary to the Post Office, to inquire and report whether the electric telegraph service could be beneficially worked by the Post Office, and whether it would entail any very large expenditure on the Post Office beyond the purchase of the rights. At that time the total number of places supplied with telegraphic communication by all the companies collectively, including railway stations, was 2500, whereas the number of places having postal communications was over 10,000. Under the then existing telegraphic tariff the charge in Great Britain was a shilling for a twenty-word message over a distance not exceeding 100 miles; 1s. 6d. for a like message over distances from 100 to 200 miles; 2s. when exceeding 500 miles. For a message between Great Britain and Ireland the charge ranged from 3s. to 6s.; to Jersey or Guernsey it was 7s. 8d. There were also extra charges under contingent regulations of great complexity, which commonly added 50 per cent. to the primary charge, and frequently doubled it. Mr Scudamore, who was regarded as the author of the bill for the acquisition of the telegraph systems, reported that the charges made by the telegraph companies were too high and tended to check the growth of telegraphy; that there were frequent delays of messages; that many important districts were unprovided with facilities; that in many places the telegraph office was inconveniently remote from the centre of business and was open for too small a portion of the day; that little or no improvement could be expected so long as the working of the telegraphs was conducted by commercial companies striving chiefly to earn a dividend and engaged in wasteful competition with each other; that the growth of telegraphy had been greatly stimulated in Belgium and Switzerland by the annexation of the telegraphs to the Post Offices of those countries and the consequent adoption of a low scale of charges; that in Great Britain like results would follow the adoption of like means, and that the association of the telegraphs with the Post Office would produce great advantage to the public and ultimately a large revenue to the state.
In support of these views he reported that in Belgium in 1863 a reduction of 33 per cent. in the charge had been followed by an increase of 80 per cent. in the number of telegrams, and that in 1886 a reduction of 50 per cent. in the charge had been followed by an increase of 85 per cent. in the traffic; and similar statistics pointing to increase of business consequent on reduction of rates were produced in regard to France, Switzerland and Prussia. The relative backwardness of telegraphy in Great Britain was attributed to high charges made by the companies and to restricted facilities. Some of the complaints against the companies, however, were exaggerated, and the estimates formed of the possible commercial development of telegraphy were optimistic. The basis for these estimates was the experience of other countries, which, however, did not justify the expectation that a large increase of business consequent on reduction of rates could be obtained without serious diminution of profit. The Belgian state telegraphs were started in 1850 and were at first very profitable, but for the years 1866-9 they yielded an average profit of only 2·8 per cent., and subsequently failed to earn operating expenses, the reasons for the steady decline of the profits being the opening of relatively unprofitable lines and offices, increases in wages, and a diminution in growth of the foreign and transit messages which had constituted the most profitable part of the whole business. The Belgian government endeavoured by reducing rates and increasing facilities to stimulate inland telegraphy in the hope of thereby increasing the profits of the department. But these expectations were not realized. Upwards of 100 telegraph offices in Belgium dispatched on the average less than one telegram per day, and some offices dispatched less than one a month. Similar experience was adduced by the working of the state telegraphs in Switzerland and in France. The profits when earned were derived mainly from foreign messages and transit messages between foreign countries, while the receipts from inland messages did not always cover expenses. In 1868 there were in France over 300 telegraph offices whose average receipts did not exceed £8 per annum. In that year the Swiss government reduced the rate for inland telegrams by one-half, and the traffic immediately doubled, but the cost of carrying on the service increased in a larger ratio.
The experience of the telegraph companies in the United Kingdom, moreover, showed that a uniform rate, irrespective of distance, of 1s. for 20 words, addressed free, was not remunerative in the then state of telegraphy, which made it necessary for messages to be re-transmitted at intervals of about 300 miles. In 1861 the United Kingdom Telegraph Company began a competition with the other companies on the basis of a 1s. rate, and the old-established companies were forced to adopt this rate between all points served by the United Kingdom Company; but after a trial of four years it was found that a uniform 1s. rate irrespective of distance had not justified itself, and that for any but very short distances the tariff was “utterly unremunerative” notwithstanding a very large increase in volume of business. Even the London District Telegraph Company, which was formed in 1859 for the purpose of transmitting telegraph messages between points in metropolitan London, found that a low uniform rate was not financially practicable. The company began with a tariff of 4d. per 10 words; it soon increased the rate to 6d. for 15 words with an additional porterage charge for delivery beyond a certain distance, and in 1866 the tariff was raised to 1s. The company had 123 m. of line and 83 offices, and in 1865 conveyed over 316,000 messages, but it was not financially successful. Both the telegraph companies and the railway companies had incurred heavy commercial risks in developing the telegraph services of the country and only moderate profits were earned. It cannot justly be said that the companies made large profits while neglecting to develop the services adequately, but it is true that they were not able commercially to comply with many of the demands made upon them by the public. Until speculation took place in anticipation of government purchase, the market prices of the telegraph securities were mostly below par. The stock of the Electric and International Company, the return on which had reached 10 per cent. per annum, however, was valued at about 14 years' purchase of the annual profits. Very little new capital was invested by the telegraph companies about 1865 because of the natural reluctance of the companies to extend the systems under their control so long as a proposal for their acquisition by the state was under consideration. In 1868 the length of electric telegraph lines belonging to the companies was 16,643 m., and of those belonging to the railway companies 4872 m., or a total of 21,515. With regard to the statement that the companies had installed competitive systems and had expended capital needlessly, it was found by the Post Office authorities that in 1865 less than 2000 m. of telegraph lines, and 350 offices out of a total of over 2000, were redundant. The telegraph companies proposed to effect an amalgamation so as to enable the services to be consolidated and extended, and they proposed to submit to various conditions for the protection of the public, such as maximum rates and limitation of dividends, with the provision that new issues of capital should be offered by auction, but public opinion was averse to the proposal. By 1868 both political parties in the House of Commons had committed themselves to the policy of state purchase of the telegraphs.
After much negotiation the basis finally agreed upon between the government and the companies was 20 years’ purchase of the profits of the year ended 30th June 1868. The Chancellor of the Exchequer described the terms as “very liberal but not more liberal than they should be under the circumstances,” and stated that Mr Scudamore had estimated that £6,000,000 was the maximum price which the government would have to pay, and that the Postmaster-General would obtain from the telegraphs a net annual revenue of £203,000 at least. In addition to the undertakings of the telegraph companies the government had to purchase the reversionary rights of the railway companies which arose out of the circumstance that the telegraph companies for the most part had erected their poles and wires along the permanent way of the railways under leases which in 1868 had still many years to run. The price awarded to the six telegraph companies was £5,733,000. A further £100,000 was paid for the Jersey, Guernsey, Isle of Man and other undertakings, and about £2,000,000 was paid to the railway companies for their reversionary rights, the cost of which had been estimated at £700,000.
The government acquired the perpetual and exclusive way-leaves for telegraph lines over the railways, but the monopoly of the Postmaster-General does not apply to those numerous wires which are required for the protection of life on railways. The telegraphs were transferred to the Post Office on the 5th of February 1870. During the following three years the government spent £500,000 in making good the depreciation suffered by the plant in the transition years of 1868 and 1869, for which allowance had been made in the purchase price, and about £1,700,000 was expended on new plant. During that period 8000 m. of posts, 46,000 m. of wire and about 200 m. of underground pipes were added. The cost of these works had been underestimated, and the report of the Select Committee of the Post Office (Telegraph Department), 1876, states that “the committee have not received any full and satisfactory explanation of the great differences between the estimated expenditure of 1869 and the actual expenditure incurred up to 1876.”
The excess expenditure caused the Post Office during two or three years to make temporary application of Savings Banks balances to telegraph expenditure, an expedient which was disapproved of by both the Treasury and the House of Commons. Probably no more arduous task was ever thrown upon a public department than that imposed on the Post Office by the transfer. The reforms which it was to bring about were eagerly and impatiently demanded by the public. This great operation had to be effected without interrupting the public service, and the department had immediately to reduce and to simplify the charges for transmission throughout the kingdom. It had to extend the hours of business at all the offices; it had to extend the wires from railway stations lying outside of town populations to post offices in the centre of those populations and throughout their suburbs; it had also to extend the wires from towns into rural districts previously devoid of telegraphic communication; it had to effect a complete severance of commercial and domestic telegraphy from that of mere railway traffic, and in order to effect this severance it had to provide the railways with some 6000 m. of wires in substitution for those of which they had been joint users. It had further to provide at low charges for the distribution of news to the Press; it had to facilitate the transmission of money orders by telegram; finally, it had to amalgamate into one staff bodies of men who had formerly worked as rivals upon opposite plans and with different instruments, and to combine the amalgamated telegraph staff with that of the postal service. So zealously was the work of improvement pursued that within little more than six years of the transfer the aggregate extent of road wires in the United Kingdom was already 63,000 m. and that of railway wires 45,000, in all 108,000 m. The number of instruments in the telegraph offices was 12,000. At that date the superintending and managing staffs of the Post Office comprised 590 persons, the staff of the old companies with only about one-third of the traffic having been 534 persons.
The anticipations as to the increase of messages that would result from the reduction of rates were fully realized. The number of messages increased from about 6,500,000 in 1869 to nearly 10,000,000 in 1871 and to 20,000,000 in 1875, but the expectations as to net revenue were not justified by the results In 1869 Mr Scudamore estimated the operating expenses at 51 to 56 per cent. of the gross revenue. In 1870–1 they were 57 per cent. and in 1871–2, 78 per cent. Since 1873 the capital account has been closed with a total expenditure of £10,867,644, and all subsequent expenditure for extensions, purchase of sites and erection of buildings has been charged against revenue.
There are several reasons for the unsatisfactory financial results apart from the high price paid for the acquisition of the telegraphs. The unprofitable extension of the telegraphs has largely contributed to the loss. Moreover, since 1881 the wages and salaries of the telegraph employees have been increased on several occasions in consequence of political pressure brought to bear on members of parliament; and notwithstanding the protest of the government of the day, the House of Commons in 1883 carried a resolution that the minimum rate for inland telegrams should be reduced to 6d. This involved a large extension of wires to cope with increased traffic. The reduced rate took effect as from the 1st of October 1886.
Another reason assigned by the committee appointed by the Treasury in 1875 “to investigate the causes of the increased cost of the telegraphic service since the acquisition of the telegraphs by the state” is the loss on the business of transmitting Press messages, which has been estimated as at least £300,000 a year. A further cause has been competition offered by the telephone service, but against this the Post Office has received royalties from telephone companies and revenue from trunk telephone lines. These amounted in 1887 to £26,170 and £1312 respectively; in 1897 to £85,289 and £113,294, and in 1907 to £240,331 and £479,639 respectively.
The following table shows the financial results of the business in the year immediately following the purchase of the telegraphs by the state, in the two years preceding and the two years following the introduction of the 6d. tariff, and in the seven financial years from 1900–1907:—
| Year. | Number of Messages. |
Gross Receipts. |
Total Expenditure. |
Percentage of Total Expenditure to Gross Receipts. |
Net Revenue or Deficiency. |
Net Revenue after omitting from Total Expenditure the cost of Sites, Buildings and Telegraph Extensions. |
Interest on Stock created for Purchase of Telegraphs. |
| £ | £ | £ | £ | £ | |||
| 1870–71 * | 9,850,177 | 801,262 | 462,762 | 57·75 | 338,500 | 342,618 | 214,500 |
| 1883–84 | 32,843,120 | 1,789,223 | 1,808,920 | 101·10 | 19,697 | 330,835 | 326,417 |
| Deficiency | |||||||
| 1884–85 † | 33,278,459 | 1,784,414 | 1,820,764 | 102·03 | 36,350 | 274,271 | 326,417 |
| Deficiency | |||||||
| 1885–86 | 39,146,283 | 1,787,264 | 1,832,401 | 102·52 | 45,137 | 167,915 | 326,417 |
| Deficiency | |||||||
| 1886–87 | 50,243,639 | 1,887,159 | 2,032,632 | 107·70 | 145,473 | 88,484 | 326,417 |
| Deficiency | |||||||
| 1900–01 | 89,576,961 | 3,459,353 | 3,796,994 | 109·76 | 337,641 | 6,861 | 298,860 |
| Deficiency | Deficit | ||||||
| 1901–02 | 90,432,041 | 3,570,046 | 4,221,927 | 118·26 | 651,881 | 169,772 | 298,860 |
| Deficiency | Deficit | ||||||
| 1902–03 | 92,471,000 | 3,723,866 | 4,325,577 | 116·16 | 601,711 | 109,760 | 298,860 |
| Deficiency | Deficit | ||||||
| 1903–04 | 89,997,000 | 3,736,115 | 4,693,898 | 125·64 | 957,783 | 306,108 | 278,483 |
| Deficiency | Deficit | ||||||
| 1904–05 | 88,969,000 | 3,920,023 | 4,839,459 | 123·45 | 919,436 | 160,989 | 271,691 |
| Deficiency | Deficit | ||||||
| 1905–06 | 89,478,000 | 4,151,380 | 4,892,199 | 117·85 | 740,819 | 12,693 | 271,691 |
| Deficiency | |||||||
| 1906–07 | 89,493,000 | 4,369,230 | 5,021,285 | 114·92 | 652,055 | 214,982 | 271,691 |
| (Estimated) | Deficiency |
* 5th February 1870.—Transfer of telegraphs to the state.
† 1st October 1885.—Introduction of sixpenny tariff.
Submarine Telegraphs.—The first commercially successful cable was that laid across the straits of Dover from the South Foreland to Sangatte, by T. R. Crampton in 1851, and two years later, after several futile attempts, another was laid between Port Patrick in the south of Scotland and Donaghadee in Ireland. This was followed by various other cables between England and the neighbouring countries, and their success naturally revived the idea which had been suggested in 1845 of establishing telegraphic communication between England and America, though this enterprise, on account of the distance and the greater depth of water, was of a much more formidable character. On the American side Cyrus W. Field acquired a concession which had been granted to F. N. Gisborne for a land line connecting St John’s, Newfoundland, and Cape Ray, in the Gulf of St Lawrence, and proceeded himself to get control of the points on the American coast most suitable as landing places for a cable. On the British side the question of constructing an Atlantic cable was engaging the attention of the Magnetic Telegraph Company and its engineer Mr (afterwards Sir) Charles Bright. Visiting England in 1856, Field entered into an agreement with Bright and with John Watkins Brett, who with his brother Jacob had proposed the constructing of an Atlantic cable eleven years previously, with the object of forming a company for establishing and working electric telegraphic communication between Newfoundland and Ireland. The Atlantic Telegraph Company was duly registered in 1856, with a capital of £350,000, the great bulk of which was subscribed in England. The manufacture of the cable, begun early in the following year, was finished in June, and before the end of July it was stowed partly in the American ship “Niagara” and partly in the British ship “Agamemnon,” both being war-ships lent for the purpose by their respective governments. The shore end was landed in Valentia Harbour on the 5th of August, and next morning paying out was started by the “Niagara,” to which the laying of the first half had been entrusted. For the first few days the operation proceeded satisfactorily, though slowly, but on the afternoon of the 11th, when 380 m. had been laid, the cable snapped, owing to a mistake in the manipulation of the brake, and the ships returned to Plymouth with what remained. Next year, 700 m. of new cable having been made, the attempt was renewed, with the same ships, but on this occasion it was decided to begin paying out in mid-ocean, the two vessels after splicing together the ends of the cable they had on board, sailing away from each other in opposite directions. They left Plymouth on the 10th of June, but owing to a terrific storm it was not till the 25th that they met at the rendezvous. A splice having been made they started on the 26th, but the cable broke almost immediately. Another splice was made, to be followed, after the “Agamemnon” had paid out about 40 m., by another break. Again the ships returned to the rendezvous and made another splice, and again there was a break after the “Agamemnon” had paid out 146 m., and then the “Agamemnon,” after again returning to the meeting-place in the vain hope that the “Niagara” might have returned there also, made for Queenstown, where she found her consort had arrived nearly a week previously.
Although a good deal of cable had been lost, enough remained to connect the British and American shores, and accordingly it was determined to make another attempt immediately. To this end the ships sailed from Queenstown on the 17th of July, and having spliced the cable in mid-ocean, started to pay it out on the 29th. The “Niagara” landed her end in Trinity Bay, Newfoundland, on the 5th of August, while on the same day the “Agamemnon” landed hers at Valentia. The electrical condition of the cable was then excellent, but unfortunately the electrician in charge, Wildman Whitehouse, conceived the wrong idea that it should be worked by currents of high potential. For nearly a week futile attempts were made to send messages by his methods, and then a return was made to the weak currents and the mirror galvanometers of Sir William Thomson (Lord Kelvin) which had been employed for testing purposes while the cable was being laid. In this way communication was established from both sides on the 16th of August, but it did not continue long, for the insulation had been ruined by Whitehouse's treatment, and after the 20th of October no signals could be got through.
The next attempt at laying an Atlantic cable was made in 1865, the necessary capital being again raised in England. It was determined that the work should be done by a single ship, and accordingly the “Great Eastern” was chartered. She started from Valentia at the end of July, but fault after fault was discovered in the cable and the final misfortune was that on the 2nd of August, when nearly 1200 m. had been paid out, there was a break, and all the efforts made to pick up the lost portion proved unavailing. Next year the attempt was renewed. The Atlantic Telegraph Company was reconstituted as the Anglo-American Telegraph Company with a capital of £600,000 and sufficient cable was ordered not only to lay a line across the ocean but also to complete the 1865 cable. The “Great Eastern” was again employed, and leaving the south-west coast of Ireland on the 13th of July she reached Trinity Bay a fortnight later, without serious mishap. She then steamed eastwards again, and on the 13th of August made her first attempt to recover the lost cable. This, like many subsequent ones, was a failure, but finally she succeeded on the 2nd of September, and having made a splice completed the laying of the cable on the 8th of September. These two cables did not have a very long life, that of 1865 breaking down in 1877 and that of 1866 in 1872, but by the later of these dates four other cables had been laid across the Atlantic, including one from Brest to Duxbury, Mass. It was stated by Sir Charles Bright in 1887 that by that date 107,000 m. of submarine cable had been laid, while ten years later it was computed that 162,000 nautical miles of cable were in existence, representing a capital of £40,000,000, 75 per cent. of which had been provided by the United Kingdom. Among the men of business it was undoubtedly Sir John Pender (1815-1896) who contributed most to the development of this colossal industry, and to his unfailing faith in their ultimate realization must be ascribed the completion of the first successful Atlantic cables. The submarine cables of the world now have a length exceeding 200,000 nautical miles, and most of them have been manufactured on the Thames.
The monopoly conferred upon the Postmaster-General by the Telegraph Act 1869 was subsequently extended to telephony and wireless telegraphy, but it does not extend to submarine telegraphy. The submarine telegraphs are mainly controlled by companies, the amount of issued capital of the existing British telegraph companies (twenty-four in number) being £30,447,191, but a certain number of lines are in government hands. Thus on the 31st of March 1889 the undertaking of the Submarine Telegraph Company was purchased by the governments concerned. France and Great Britain jointly acquired the cables between Calais and Dover, Boulogne and Folkestone, Dieppe and Beachy Head, Havre and Beachy Head, Piron, near Coutances, and Vieux Chateaux (St Heliers, Jersey). Belgium and Great Britain became joint-proprietors of the cables between Ramsgate and Ostend and Dover and De la Panne (near Furnes). The two cables to Holland and one of the cables to Germany were already the property of Great Britain, and the German Union Company's cable to Germany was purchased by the German government. The offices of the Submarine Company in London, Dover, Ramsgate, East Dean and Jersey were purchased by the Post Office, as well as the cable ship; and the staff, 370 in number, was taken over by the government. The capital amount laid out by Great Britain was £67,163, and on 1st April the new business was begun with a uniform rate to France, Germany, Holland and Belgium of 2d. a word, with a minimum of 10d.
In 1890 Liverpool was placed in direct telegraphic communication with Hamburg and Havre, and London with Rome. The following year an additional cable was laid from Bacton, in Norfolk, to Borkum, in Germany, at the joint expense of the British and German governments. Direct telegraphic communication was thus afforded between London and Vienna. In 1893 a contract was made with the Eastern and South Africa Telegraph Company for the construction, laying and maintenance of a cable from Zanzibar to the Seychelles and Mauritius, a distance of 2210 m., for a subsidy of £28,000 a year for twenty years. In 1894 the Eastern Extension Telegraph Company laid a cable from Singapore to Labuan and Hong Kong, thus duplicating the route and making it an all-British line. The following year the rates to and from East and South Africa were reduced, by negotiation, from charges varying from 7s. 9d. to 8s. 11d. a word to 5s. 2d. or 5s. Government messages were accorded a rate of 2s. 6d., and Press telegrams one of from 1s. 5d. to 1s. 7½d. a word. In 1896 it was arranged to lay two new cables to France and one (for duplex working) to Germany. On the 1st of February 1898 a new cable was laid between Bermuda and Jamaica (via Turks Islands), giving an all-British line to the West Indies, with reduced charges. In 1900 direct telegraph working was established between London and Genoa, and a third cable was laid to South Africa via St Helena and Ascension. In 1896 a committee was appointed to consider the proposal for laying a telegraph cable between British North America and Australasia. The report of the committee, which is dated January 1897, was presented to parliament in April 1899, and dealt with the practicability of the project, the route, the cost and the revenue. The committee was of opinion that the cable should be owned and worked by the governments interested, and that the general direction should be in the hands of a manager in London under the control of a small board at which the associated governments should be represented. The English cable companies urged that state interference with private enterprise was neither justifiable nor necessary, as the rates could be reduced and an alternative cable route to Australia arranged on reasonable terms without it, and that the Cape route would be the best alternative route. The government policy would, they alleged, create an absolute and objectionable monopoly. In the correspondence (Blue Book, Ed. 46, 1900) between the Eastern Telegraph Company and the Colonial Office, the company pointed out that Mr Raikes, when Postmaster-General, had stated that “it would be without precedent for the English government itself to become interested in such a scheme in such a way as to constitute itself a competitor with existing commercial enterprises carried on by citizens of the British empire. There would be a very serious question raised, and it would probably extend to other forms of British enterprise.” The company further pointed out that Mr L. Courtney (afterwards Lord Courtney), when Secretary of the Treasury, had stated that “it would be highly inexpedient to encourage upon light grounds competition against a company in the position of the Eastern Telegraph Company which has embarked much capital in existing lines”; and that the permanent officials representing the Post Office before the Pacific Cable committee had stated “that there was no precedent for the Imperial Government alone or in association with the Colonies managing or seeking business for a line of this kind.” The reply of the Colonial Office contained the following statements of general policy:—“With the progressive development of society the tendency is to enlarge the functions and widen the sphere of action of the central government as well as of the local authorities, and to claim for them a more or less exclusive use of powers, and the performance of services where the desired result is difficult to attain through private enterprise, or where the result of entrusting such powers or services to private enterprise would be detrimental to the public interest, through their being in that event necessarily conducted primarily for the benefit of the undertakers rather than of the public. This tendency is specially manifested in cases where from the magnitude or other conditions of the enterprise the public is deprived of the important safeguard of unrestricted competition. . . . In the case of inland telegraphs and of cable communication with the continent of Europe government control has entirely superseded private companies. Closely analogous to the action of the state in the cases referred to is the action taken by municipal authorities with the authority of the legislature in competing with or superseding private companies for the supply of electric light, gas, water, tramways and other public services. . . . The service which the government and the colonies desire is one which neither the Eastern Telegraph Company nor any other private enterprise is prepared to undertake on terms which can be considered in comparison with the terms upon which it can be provided by the associated governments.”
In November 1899 a committee was appointed by the Colonial Office for the further examination of the scheme, and towards the end of 1900 a tender was accepted for the manufacture and laying of a submarine cable between the Island of Vancouver and Queensland and New Zealand for the sum of £1,795,000, the work to be completed by the 31st of December 1902. A board was constituted to supervise the construction and working of the cable, composed of representatives of the several governments, with offices at Westminster. Under the Pacific Cable Act 1901 the capital sum of £2,000,000 was provided in the following proportions:—
United Kingdom, 5/18ths with 3 representatives including the chairman.
Canada, 5/18ths with 2 representatives.
Australia, 6/18ths with 2 representatives.
New Zealand, 2/18ths with 1 representative.
In these proportions the respective contributing governments are responsible for the losses made in the working of the undertaking. The annual expenses of the board include £35,000 for cable repairs and reserve and a fixed payment to the National Debt Commissioners of £77,544 as sinking fund to amortise capital expenditure in fifty years. The deficiency on the working for the year ended 31st March 1907 was £54,924, and the approximate number of messages transmitted during the year was 96,783 with 1,126,940 words. There was in addition a considerable inter-colonial traffic between Australia, New Zealand and the Fijis.
Since the early days of international telegraphy, conferences of representatives of government telegraph departments and companies have been held from time to time (Paris 1865, Vienna 1868, Rome 1871 and 1878, St Petersburg 1875, London 1879, Berlin 1885, Paris 1891, Buda Pesth 1896, London 1903). In 1868 the International Bureau of Telegraphic Administrations was constituted at Berne, and a convention was formulated by which a central office was appointed to collect and publish information and generally to promote the interests of international telegraphy. International service regulations have been drawn up which possess equal authority with the convention and constitute what may be regarded as the law relating to international telegraphy. The total lengths of the land lines of the telegraphs throughout the world in 1907 were 1,015,894 m. aerial, and 11,454 m. underground, and the total lengths of submarine cables of the world were 39,072 nautical miles under government administration and 194,751 nautical miles under the administration of private companies.
Bibliography.—Reports to the Postmaster-General upon proposals for transferring to the Post Office the Telegraphs throughout the United Kingdom (1868); Special Reports from Select Committee on the Electric Telegraphs Bills (1868, 1869); Report by Mr Scudamore on the reorganization of the Telegraph system of the United Kingdom (1871); Journ. Statistical Society (September 1872, March 1881); Report of a Committee appointed by the Treasury to investigate the causes of the increased cost of the Telegraphic Service, &c. (1875); Reports of the Postmaster-General for 1895, &c.; Journ. Inst. Elec. Eng. (November 1906); H. R. Meyer, The British State Telegraphs (London, 1907); The “Electrician” Electrical Trades Directory; E. Garcke, Manual of Electrical Undertakings. On submarine cables see also the works of Sir Charles Bright’s son, Mr Charles Bright, F.R.S.E., A.M.Inst.C.E., M.I.E.E.; e.g. his Life of his father (1898), his Address to London Chamber of Commerce on “Imperial Telegraphic Communication” (1902), Lecture to Royal United Service Institution on “Submarine Telegraphy” (1907), Lectures to Royal Naval War College (1910) and R.E. Military School (1908) on “Submarine Cable Laying and Repairing,” and articles in Quarterly Review (April 1903) on “Imperial Telegraphs,” and in Edinburgh Review (April 1908) on “The International Radio-Telegraphic Convention.” (E. Ga.)
Part II.—Wireless Telegraphy
The early attempts to achieve electric telegraphy involved the use of a complete metallic circuit, but K. A. Steinheil of Munich, however, acting on a suggestion given by Gauss, made in 1838 the important discovery that half of the circuit might be formed of the conducting earth, and so discovered the use of the earth return, since then an essential feature of nearly every telegraphic circuit. Encouraged by this success, he even made the further suggestion that the remaining metallic portion of the circuit might perhaps some day be abolished and a system of wireless telegraphy established.[4]
Fig. 35.—Morse’s Conduction Method.
Morse showed, by experiments made in 1842 on a canal at Washington, that it was possible to interrupt the metallic electric circuit in two places and yet retain power of electric communication (see Fahie, loc. cit., p. 10). His plan, which has been imitated by numerous other experimentalists, Morse. was as follows:—On each side of the canal, at a considerable distance apart, metal plates e e (fig. 35) were sunk in the water; the pair on one side were connected by a battery B, and the pair on the other by a galvanometer or telegraphic receiver R. Under these circumstances a small portion of the current from the battery is shunted through the galvanometer circuit, and can be used to make electric signals. Morse and Gale, who assisted him, found, however, that the distance of the plates up and down the canal must be at least three or four times the width of the canal to obtain successful results. Numerous investigators followed in Morse’s footsteps. James Bowman Lindsay of Dundee, between 1845 and 1854, reinvented and even patented Morse’s method, and practically put the plan into operation for experimental purposes across the river Tay. J. W. Wilkins in 1849, and H. Highton in experiments described in 1872, also revived the same suggestion for wireless telegraphy.
The invention of the magneto-telephone put into the hands of electricians a new instrument of extraordinary sensitiveness for the detection of feeble interrupted, or alternating, currents, and by its aid J. Trowbridge in 1880, in the United States, made a very elaborate investigation of the Trowbridge. propagation of electric currents through the earth, either soil or water (see “The Earth as a Conductor of Electricity,” Amer. Acad. Arts and Sci., 1880). He found, as others have done, that if a battery, dynamo or induction coil has its terminals connected to the earth at two distant places, a system of electric currents flows between these points through the crust of the earth. If the current is interrupted or alternating, and if a telephone receiver has its terminals connected to a separate metallic circuit joined by earth plates at two other places to the earth, not on the same equipotential surface of the first circuit, sounds will be heard in the telephone due to a current passing through it. Hence, by inserting a break-and-make key in the circuit of the battery, coil or dynamo, the uniform noise or hum in the telephone can be cut up into periods of long and short noises, which can be made to yield the signals of the Morse alphabet. In this manner Trowbridge showed that signalling might be carried on over considerable distances by electric conduction through the earth or water between places not metallic ally connected. He also repeated the suggestion which Lindsay had already made that it might be possible to signal in this manner by conduction currents through the Atlantic Ocean from the United States to Europe. He and others also suggested the applicability of the method to the inter-communication of ships at sea. He proposed that one ship should be provided with the means of making an interrupted current in a circuit formed partly of an insulated metallic wire connected with the sea at both ends by plates, and partly of the unlimited ocean. Such an arrangement would distribute a system of flow lines of current through the sea, and these might be detected by any other ships furnished with two plates dipping into the sea at stem and stern, and connected by a wire having a telephone in its circuit, provided that the two plates were not placed on the same equipotential surface of the original current flow lines. Experiments of this kind were actually tried by Graham Bell in 1882, with boats on the Potomac river, and signals were detected at a distance of a mile and a half.
At a later date, 1891, Trowbridge discussed another method of effecting communication at a distance, viz., by means of magnetic induction between two separate and completely insulated circuits. If a primary circuit, consisting of a large coil of wire P (fig. 36), has in circuit a battery B and an interrupter I, and at some distance and parallel to this primary circuit is placed a secondary circuit S, having a telephone T included in it, the interruptions or reversals of the current in the primary circuit will give rise to a varying magnetic field round that circuit which will induce secondary currents in the other circuit and affect the telephone receiver. Willoughby Smith found that it was not necessary even to connect the telephone to a secondary circuit, but that it would be affected and give out sounds merely by being held in the variable magnetic field of a primary circuit. By the use of a key in the battery circuit as well as an interrupter or current reverser, signals can be given by breaking up the continuous hum in the telephone into long and short periods. This method of communication by magnetic induction through space establishes, therefore, a second method of wireless telegraphy which is quite independent of and different from that due to conduction through earth or water.
Fig. 36.—Magneto-Induction Method.
Sir W. H. Preece, who took up the subject about the same time as Prof. Trowbridge, obtained improved practical results by combining together methods of induction and conduction. His first publication of results was in 1882 (Brit. Assoc. Report), when he drew attention to the considerable distance over which inductive effects occurred between parallel Preece. wires forming portions of telephonic and telegraphic circuits. Following on this he made an interesting experiment, using Morse's method, to connect the Isle of Wight telegraphically with the mainland, by conduction across the Solent in two places, during a temporary failure of the submarine cable in 1882 in that channel. In subsequent years numerous experiments were carried out by him in various parts of Great Britain, in some cases with circuits earthed at both ends, and in other cases with completely insulated circuits, which showed that conductive effects could be detected at distances of many miles, and also that inductive effects could take place even between circuits separated by solid earth and by considerable distances. A. W. Heaviside in 1887 succeeded in communicating by telephonic speech between the surface of the earth and the subterranean galleries of the Broomhill collieries, 350 feet deep, by laying above and below ground two complete metallic circuits, each about 21/4 m. in length and parallel to each other. At a later date other experimentalists found, however, that an equal thickness of sea-water interposed between a primary and secondary circuit completely prevented similar inductive intercommunication. In 1885 Preece and Heaviside proved by experiments made at Newcastle that if two completely insulated circuits of square form, each side being 440 yds., were placed a quarter of a mile apart, telephonic speech was conveyed from one to the other by induction, and signals could be perceived even when they were separated by 1000 yds. The method of induction between insulated primary and secondary circuits laid out flat on the surface of the earth proves to be of limited application, and in his later experiments Preece returned to a method which unites both conduction and induction as the means of affecting one circuit by a current in another. In 1892, on the Bristol Channel, he established communication between Lavernock Point and an island called Flat Holme in that channel by placing at these positions insulated single-wire circuits, earthed at both ends and laid as far as possible parallel to each other, the distance between them being 3·3 m. The shore wire was 1267 yds. long, and that on the island 600 yds. An interrupted current having a frequency of about 400 was used in the primary circuit, and a telephone was employed as a receiver in the secondary circuit. Other experiments in inductive telegraphy were made by Preece, aided by the officials of the British Postal Telegraph Service, in Glamorganshire in 1887; at Loch Ness in Scotland in 1892; on Conway Sands in 1893; and at Frodsham, on the Dee, in 1894. (See Jour. Inst. Elec. Eng., 27, p. 869.) In 1899 experiments were made at Menai Straits to put the lighthouse at the Skerries into communication with the coastguard station at Cemlyn. A wire 750 yds. in length was erected along the Skerries, and on the mainland one of 31/2 m. long, starting from a point opposite the Skerries, to Cemlyn. Each line terminated in an earth plate placed in the sea. The average perpendicular distance between the two lines, which are roughly parallel, is 2·8 m. Telephonic speech between these two circuits was found possible and good, the communication between the circuits taking place partly by induction, and no doubt partly by conduction. On the question of how far the effects are due to conduction between the earth plates, and how far to true electromagnetic induction, authorities differ, some being of opinion that the two effects are in operation together. A similar installation of inductive telephony, in which telephone currents in one line were made to create others in a nearly parallel and distant line, was established in 1899 between Rathlin Island on the north coast of Ireland and the mainland. The shortest distance between the two places is 4 m., By stretching on the island and mainland parallel wire circuits earthed at each end, good telephonic communication over an average distance of 61/2 m. was established between these independent circuits.
The difficulty of connecting lightships and isolated lighthouses to the mainland by submarine cables, owing to the destructive action of the tides and waves on rocky coasts on the shore ends, led many inventors to look for a way out of the difficulty by the adoption of some form of inductive or conductive telegraphy not necessitating a continuous cable. Willoughby Smith. Willoughby S. Smith and W. P. Granville put into practice between Alum Bay in the Isle of Wight and the Needles lighthouse a method which depends upon conduction through sea. water. (See Jour. Inst. Elec. Eng., 27, p. 938.) It may be explained as follows:—Suppose a battery on shore to have one pole earthed and the other connected to an insulated submarine cable, the distant end of which was also earthed; if now a galvanometer is inserted anywhere in the cable, a current will be found flowing through the cable and returning by various paths through the sea. If we suppose the cable interrupted at any place, and both sides of the gap earthed by connexion to plates, then the same conditions will still hold. Communication was established by this method in the year 1895 with the lighthouse on the Fastnet.[5] A cable is carried out from the mainland at Crookhaven for 7 m., and the outer end earthed by connexion with a copper mushroom anchor. Another earthed cable starts from a similar anchor about 100 ft. away near the shore line of the Fastnet rock, crosses the rock, and is again earthed in the sea at the distant end. If a battery on the mainland is connected through a key with the shore end of the main cable, and a speaking galvanometer is in circuit with the short cable crossing the Fastnet rock, then closing or opening the battery connexion will create a deflection of the galvanometer. A very ingenious call-bell arrangement was devised, capable of responding only to regularly reversed battery currents, but not to stray “earth currents,” and very good signalling was established between the mainland and the rock. Owing to the rough seas sweeping over the Fastnet, the conditions are such that any ordinary submarine cable would be broken by the wearing action of the waves at the rock boundary in a very short time. Another worker in this department of research was C. A. Stevenson, who in 1892 advocated the use of the inductive system pure and simple for communication between the mainland and isolated lighthouses or islands. He proposed to employ two large flat coils of wire laid horizontally on the ground, that on the mainland having in circuit a battery, interrupter and key, and that on the island a telephone. His proposals had special reference to the necessity for connecting a lighthouse on Muckle Flugga, in the Shetlands, and the mainland, but were not carried into effect. Professor E. Rathenau of Berlin made many experiments in 1894 in which, by means of a conductive system of wireless telegraphy, he signalled through 3 m. of water.
Sir Oliver Lodge in 1898 theoretically examined the inductive system of space telegraphy. (See Jour. Inst. Elec. Eng., 27, p. Lodge. 799.) He advocated and put in practice experimentally a system by which the primary and secondary circuits were “turned” or syntonized by including condensers in the circuits. He proved that when so syntonized the circuits are inductively respondent to each other with a much less power expenditure in the primary circuit than without the syntony. He also devised a “call” or arrangement for actuating an ordinary electric bell by the accumulated effect of the properly tuned inductive impulses falling on the secondary circuit. A very ingenious call-bell or annunciator for use with inductive or conductive systems of wireless telegraphy was invented and described in 1898 by S. Evershed, and has been practically adopted at Lavernock and Flat Holme. (Id., 27, p. 852.)
In addition to the systems of wireless or space telegraphy depending upon conduction through earth or water, and the inductive Edison. system based upon the power of a magnetic field created round one circuit to induce, when varied, a secondary current in another circuit, there have been certain attempts to utilize what may best be described as electrostatic induction. In 1885 Edison, in conjunction with Gilliland, Phelps, and W. Smith, worked out a system of communicating between railway stations and moving trains. At each signalling station was erected an insulated metallic surface facing and near to the ordinary telegraph wires. On one or more of the carriages of the trains were placed also insulated metallic sheets, which were in connexion through a telephone and the secondary circuit of an induction coil with the earth or rails. In the primary circuit of the induction coil was an arrangement for rapidly intermitting the current and a key for short-circuiting this primary circuit. The telephone used was Edison's chalk cylinder or electromotograph type of telephone. Hence, when the coil at one fixed station was in action it generated high frequency alternating currents, which were propagated across the air gap between the ordinary telegraph wires and the metallic surfaces attached to one secondary terminal of the induction coil, and conveyed along the ordinary telegraph wires between station and moving train. Thus, in the case of one station and one moving railway carriage, there is a circuit consisting partly of the earth, partly of the ordinary telegraph wires at the side of the track, and partly of the circuits of the telephone receiver at one place and the secondary of the induction coil at the other, two air gaps existing in this circuit. The electromotive force of the con is, however, great enough to create in these air gaps displacement currents which are of magnitude sufficient to be equivalent to the conduction current required to actuate a telephone. This current may be taken to be of the order of two or three micro-amperes. The signals were sent by cutting up the continuous hum in the telephone into long and short periods in accordance with the Morse code by manipulating the key in the primary circuit. The system was put into practical operation in 1887 on the Lehigh Valley railroad in the United States, and worked well, but was abandoned because it apparently fulfilled no real public want. Edison also patented (U.S.A. Pat. Spec., No. 465971, 14th May 1885) a plan for establishing at distant places two insulated elevated plates. One of these was to be connected to the earth through a telephone receiver, and the other through the secondary circuit of an induction coil in the primary circuit of which was a key. The idea was that variations of the primary current would create electromotive force in the secondary circuit which would act through the air condenser formed by the two plates. It has sometimes been claimed that Edison's proposed elevated plates anticipated the subsequent invention by Marconi of the aerial wire or antenna, but it is particularly to be noticed that Edison employed no spark gap or means for creating electrical high frequency oscillations in these wires. There is no evidence that this plan of Edison's was practically operative as a system of telegraphy.
A very similar system of wireless telegraphy was patented by Professor A. E. Dolbear in 1886 (U.S.A. Pat. Spec., No. 350299), in which he proposed to employ two batteries at two places to affect the potential of the earth at those places. At the sending station one battery was to have its positive pole connected to the earth and its negative pole to an insulated condenser. In circuit with this battery was placed the secondary circuit of an induction coil, the primary circuit of which contained a telephone transmitter or microphone interrupter. At the receiving station a telephone receiver was placed in series with another insulated battery, the negative terminal of which was to be in connexion with the earth. There is no evidence, however, that the method proposed could or did effect the transmission of speech or signals between stations separated by any distance. Many other more or less imperfect devices—such as those of Mahlon Loomis, put forward in 1872 and 1877, and Kitsee in 1895—for wireless telegraphy were not within the region of practically realizable schemes.
Space or Radio-Telegraphy by Hertzian Waves.—Up to 1895 or 1896 the suggestions for wireless telegraphy which had been publicly announced or tried can thus be classified under three or four divisions, based respectively upon electrical conduction through the soil or sea, magnetic induction through space, combinations of the two foregoing, and lastly, electrostatic induction. All these older methods have, however, been thrown into the background and rendered antiquated by inventions which have grown out of Hettz's scientific investigations on the production of electric waves. Before the classical researches of Hertz in 1886 and 1887, many observers had noticed curious effects due to electric sparks produced at a distance which were commonly ascribed to ordinary electrostatic or electro-magnetic induction. Thus Joseph Henry (Scientific Writings, vol. i. p. 203) noticed that a single electric spark about an inch long thrown on to a circuit of wire in an upper room could magnetize steel needles included in a parallel circuit of wire placed in a cellar 30 ft. below with two floors intervening. Some curious distance-phenomena connected with electric sparks were observed in 1875 by Edison (who referred them to a supposed new “aetheric force”), and confirmed by Beard, S. P. Thompson, E. J. Houston and others.[6] D. E Hughes made some remarkable observations and experiments in or between the years 1879 and 1886 though he did not describe them till some twenty years afterwards. He discovered a fact subsequently rediscovered by others, that a tube of metallic filings, loosely packed, was sensitive to electric sparks made in its vicinity, its electrical resistance being reduced, and he was able to detect effects on such a tube connected to a battery and telephone at a distance of 500 yds.[7]
These distance effects were not understood at the time, or else were referred simply to ordinary induction. Hertz, however, made known in 1887 the experimental proofs that the discharge of a condenser produces an electric spark which under proper conditions creates an effect propagated out into space as an electric wave. He employed as a detector of this wave a simple, nearly closed circuit of wire called a Hertz resonator, but it was subsequently discovered that the metallic microphone of D. E. Hughes was a far more sensitive detector. The peculiar action of electric sparks and waves in reducing the resistance of discontinuous conductors was rediscovered and investigated by Calzecchi Onesti,[8] by Branly,[9] Dawson Turner,[10] Minchin, Lodge[11] and many others. Branly was the first to investigate and describe in 1890 the fact that an electric spark at a distance had the power of changing loose aggregations of metallic powders from poor to good electric conductors, and he also found that in some cases the reverse action was produced. Lodge particularly studied the action of electric waves in reducing the resistance of the contact between two metallic surfaces such as a plate and a point, or two balls, and named the device a “coherer.” He constructed one form of his coherer of a glass tube a few inches long filled with iron borings or brass filings, having contact plates or pins at the end. When such a tube is inserted in series with a single voltaic cell and galvanometer it is found that the resistance of the tube is nearly infinite, provided the filings are not too tightly squeezed. On creating an electric spark or wave in the neighbourhood of the tube the resistance suddenly falls to a few ohms and the cell sends a current through it. By shaking or tapping the tube the original high resistance is restored. In 1894 he exhibited apparatus of this kind in which the tapping back of the tube of filings was effected automatically. He ascribed the reduction of resistance of the mass to a welding or cohering action taking place between the metallic particles, hence the name “coherer.” But, as Branly showed, it is not universally true that the action of an electric wave is to reduce the resistance of a tube of powdered metal or cause the particles to cohere. In some cases, such as that of peroxide of lead, an increase of resistance takes place.
Fig. 37.—Marconi Sensitive Metallic Filings Tube or Electric Wave Detector.
Between 1894 and 1896 G. Marconi gave great attention to the improvement of devices for the detection of electric waves. He made his sensitive tube, or improved coherer, as follows:—A glass tube having an internal diameter of about 4 millimetres has sealed into it two silver plugs PP Marconi. by means of platinum wires WW (fig. 37); the opposed faces of these plugs are perfectly smooth, and are placed within a millimetre of each other. The interspace is filled with a very small quantity of nickel and silver filings, about 95 per cent. nickel and 5 per cent. silver, sufficient to fill loosely about half the cavity between the plugs, which fit tightly into the tube.[12] The tube is then exhausted of its air, and attached to a bone or glass rod as a holder. This form of electric wave detector proved itself to be far more certain in operation and sensitive than anything previously invented. The object which Marconi had in view was not merely the detection of electric waves, but their utilization in practical wireless telegraphy. Sir William Crookes had already suggested in 1892 in the Fortnightly Review (February 1892) that such an application might be made, but no one had overcome the practical difficulties or actually shown how to do it.
Fig. 38.
G. Marconi, however, made the important discovery that if his sensitive tube or coherer had one terminal attached to a metal plate lying on the earth, or buried in it, and the other to an insulated plate elevated at a height above the ground, it could detect the presence of very feeble electric waves of a certain kind originating at a great distance. In conjunction with the above receiver he employed a transmitter, which consisted of a large induction or spark coil S having its spark balls placed a few millimetres apart; one of these balls was connected to an earth plate E and the other to a plate or wire insulated at the upper end and elevated above the surface of the earth. In the primary circuit of the induction coil I he placed an ordinary signalling key K, and when this was pressed for a longer or shorter time a torrent of electric sparks passed between the balls, alternately charging and discharging the elevated conductor A1 and creating electrical oscillations (see Electro-Kinetics) in the wire. This elevated conductor is now called the antenna, aerial wire, or air wire. At the receiving station Marconi connected a single voltaic cell B1 and a sensitive telegraphic relay R in series with his tube of metallic filings C, and interposed certain little coils called choking coils. The relay was employed to actuate through a local battery B2 an ordinary Morse printing telegraphic instrument M. One end of the sensitive tube was then connected to the earth and the other end to an antenna or insulated elevated conductor A2. Assuming the transmitting and receiving apparatus to be set up at distant stations (see fig. 38[13]), the insulated wires or plates being upheld by masts, its operation is as follows:—When the key in the primary circuit of the induction coil is pressed the transmitting antenna wire is alternately charged to a high potential and discharged with the production of high frequency oscillations in it. This process creates in the space around electric waves or periodic changes in electric and magnetic force round the antenna wire. The antenna wire, connected to one spark ball of the induction coil, must be considered to form with the earth, connected to the other spark ball, a condenser. Before the spark happens lines of electrostatic force stretch from one to the other in curved lines. When the discharge takes place the ends of the lines of electric force abutting on the wire run down it and are detached in the form of semiloops of electric force which move outwards with their ends on the surface of the earth. As they travel they are accompanied by lines of magnetic force, which expand outwards in ever widening circles.[14] The magnetic and electric forces are directed alternately in one direction and the other, and at distances which are called multiples of a wave length the force is in the same direction at the same time, but in the case of damped waves has not quite the same intensity. The force at any one point also varies cyclically, that is, is varying at any one point and varying from point to point. This periodic distribution in time and space constitutes an electric wave proceeding outwards in all directions from the sending antenna. If we consider the lines of magnetic force in the neighbourhood of the receiving antenna wire we shall see that they move across it, and thus create in it an electromotive force which acts upon the coherer or other sensitive device associated with it.
Marconi's System of Wireless Telegraphy.—Marconi’s system of electric wave telegraphy consists therefore in setting up at the transmitting station the devices just described for sending out groups of damped electric waves of the above kind in long or short trains corresponding to the dash or dot signals of the Morse alphabet. These trains are produced by pressing the key in the primary circuit of the induction coil for a longer or shorter time and generating a long or short series of oscillatory electric sparks between the spark balls with a corresponding creation of trains of electric waves. At the receiving station he connected, as stated, one end of the sensitive tube to earth and the other to the antenna, and improved and applied a device of Popoff for automatically tapping the tube after each electric impact had rendered it conductive. He caused the relay in series with the sensitive tube to set in action not only a telegraphic instrument but also the electromagnetic tapper, which was arranged so as to administer light blows on the under side of the sensitive tube when the latter passed into the conductive condition. The effect was to print a dash or dot on a strip of telegraphic paper, according as the incident electric wave train lasted a longer or shorter time. In addition he added certain spark-generating coils across the contacts of the relay and tapper. He thus produced in 1896 for the first time an operative apparatus of electric wave telegraphy. Its simplicity and compactness recommended it immediately for communication between ship and shore and for intermarine communication generally. Marconi’s earliest experiments with this apparatus were made in Italy. In 1896 he came to England and gave demonstrations to the British postal telegraph department and other officials. Some of these experiments were made on Salisbury Plain and others in the Bristol Channel between Lavernock and Flat Holm and Bream Down in 1897. Early in 1898 permanent stations were established between Alum Bay and Bournemouth, a distance of 141/2 m., where successful results were obtained. Later the Bournemouth station was removed to Poole Harbour, and the Alum Bay station to Niton in the Isle of Wight, the distance being thus increased to 30 m. In December 1898 communication was established by the Marconi method between the East Goodwin lightship and the South Foreland lighthouse; and this installation was maintained for upwards of a year, during which it was the means of saving both life and property. In March 1899 communication was effected by his system between England (South Foreland lighthouse) and France (Wimereux, near Boulogne), a distance of 30 m. He kept up the communication for six months, in all weathers, and found that ordinary commercial messages could be transmitted at the rate of 15 to 20 words a minute. In January 1901 he established communication by his system between the Lizard in Cornwall and Niton in the Isle of Wight, a distance of 200 m. A full account of the development of his system was given by him in an article published in the Fortnightly Review for June 1902; see also a paper by him in the Journ. Inst. Elec. Eng., 1899, 28, p. 273. About this time he introduced various improvements into the receiving apparatus. Instead of inserting the sensitive tube between the receiving antenna and the earth, he inserted the primary coil of a peculiar form of oscillation transformer and connected the terminals of the tube to the secondary circuit of the transformer. Lodge had previously suggested the use of transformed oscillations for acting on the coherer (see British Patent Spec., No. 11575 of 1897), but it is not every form of oscillation transformer which is suitable for this purpose.
Marconi’s successes and the demonstrations he had given of the thoroughly practical character of this system of electric wave telegraphy stimulated other inventors to enter the same field of labour, whilst theorists began to study carefully the nature of the physical operations involved. It was seen that the effect of the impact of the incident electric waves upon the vertical receiving wire was to create in it electrical oscillations, or in other words, high frequency alternating electric currents, such that whilst the potential variations were a maximum at the top or insulated end of the antenna the current at that point was zero and at the base the potential variation was zero and the current amplitude a maximum. Hence devices for detecting the oscillations in the antenna are merely very sensitive forms of ammeter and voltmeter. It was also recognized that what is required at the transmitting end is the establishment of powerful electric oscillations in the sending antenna, which create and radiate their energy in the form of electric waves having their magnetic force component parallel to the earth’s surface and their electric component perpendicular to it.
Fig. 39.
Transmitting Apparatus.—We now consider the more recent appliances for electric wave telegraphy under the two divisions of transmitting and receiving apparatus. First as regards the transmitting part, one essential element is the antenna, aerial, or air wire, which may take a variety of forms. It may consist of a single plain or stranded copper wire upheld at the top by an insulator from a mast, chimney or building. The wire may have at the upper end a plate called a “capacity area,” electrically equivalent to an extension of the wire, or part of the wire may be bent over and carried horizontally. In many cases multiple antennae are used consisting of many wires arranged in cone or umbrella-rib fashion, or a metal roof or metallic chimney may be employed (see fig. 39). In any case the antenna serves as one surface of a condenser, the other surface of which is the earth. This condenser is charged electrically and then suddenly discharged and violent electrical oscillations are set up in it, that is to say, electricity rushes to and fro between the antenna and the earth. This creates rapid variations in electric and magnetic force round the antenna and detaches energy from it in the form of an electric wave. The antenna has at one moment a static electrical charge distributed upon it, and lines of electric force stretch from it to the surrounding earth. At the next instant it is the seat of an electric current and is surrounded by closed lines of magnetic force. These static and kinetic conditions succeed each other rapidly, and the result is to detach or throw off from the antenna semi-loops of electric force, which move outwards in all directions and are accompanied by expanding circular lines of magnetic force. The whole process is exactly analogous to the operation by which a violin string or organ pipe creates an air or sound wave. The violin string is first drawn on one side. This strain corresponds to the electrical charging of the antenna. The string is then suddenly released. This corresponds to the electrical discharge of the antenna, and the subsequent string vibrations to the electrical vibrations. These communicate their energy to the surrounding air, and this energy is conveyed away in the form of air waves.
There are three ways in which the antenna may be charged:—
(i) It may be separated from the earth by a pair of spark balls which are connected respectively to the terminals of an induction coil or transformer, or other high tension generator. If these spark balls are set at the right distance, then when the potential difference accumulates the antenna will be charged and at some stage suddenly discharged by the discharge leaping across the spark gap. This was Marconi’s original method, and the plan is still used under the name of the direct method of excitation or the plain antenna.
(ii) The antenna may have oscillations excited in it inductively. F. Braun suggested in 1898 that the oscillator discharge of a Leyden jar should be sent through the primary coil, of a transformer and the secondary coil should be interposed between the antenna and an earth connexion.[15] Marconi[16] imparted practical utility to this idea by tuning the two circuits together, and the arrangement now employed is as follows:— A suitable condenser C, or battery of Leyden jars, has one coating connected to one spark ball and the other through a coil of one turn with the other spark ball of a discharger S. These spark balls are connected either to the secondary circuit of an induction coil I, or to that of an alternating current transformer having a secondary voltage of 20,000 to 100,000 volts. Over the coil of one turn is wound a secondary circuit of 5 or 10 turns, of which one end is connected to the earth through a variable inductance and the other end to an antenna or radiating wire A (see fig. 40). These two circuits are so adjusted that the closed oscillation circuit, consisting of the condenser, primary coil and spark gap, has the same natural time period of oscillation as the open circuit consisting of the antenna, secondary coil and adjustable inductance. When this is the case, if discharges are made across the spark gap oscillations are excited in the closed circuit, and these induce other syntonic oscillations in the antenna circuit. J. A. Fleming devised an arrangement in which a multiple transformation takes place, two oscillation circuits being interlinked inductively, and the last one acting inductively on the open or antenna circuit. J. S. Stone similarly devised a multiple inductive oscillation circuit with the object of forcing on the antenna circuit a single oscillation of definite frequency.[17] In the case of the inductive mode of exciting the oscillations an important quantity is the coefficient of coupling of the two oscillation circuits. If L and N are the inductances of any two circuits which have a coefficient of mutual inductance M, then M/√(LN) is called the coefficient of coupling of the circuits and is generally expressed as a percentage. Two circuits are said to be closely coupled when this coefficient is near unity and to be loosely coupled if it is very small. It can be shown that if two circuits, both having capacity (C) and inductance (L), are coupled together inductively, then, when oscillations are set up in one circuit, oscillations of two periods are excited in the other differing in frequency from each other and from the natural frequency of the circuit. If the two circuits are in tune so that the numerical product of capacity and inductance of each circuit is the same or C1L1=C2L2 + CL and if k is the coefficient of coupling then the natural frequency of each circuit is n=1/2π√(CL), and when coupled two oscillations are set up in the secondary circuit having frequencies n1 and n2 such that n1=n/√(1−k) and n2=n/√(1+ḳ). Since in all cases of wave motion the wave-length λ is connected with the frequency n and the velocity of propagation v by the relation v=nλ, it follows that from such an inductively coupled tuned antenna electric waves of two wave-lengths are sent out having lengths λ1 and λ2 such that λ1=λ√(1−k) and λ2=λ√(1+k), where λ is the natural wave-length. It is seen that as the coupling k becomes small these two wavelengths coalesce into one single wave length. Hence there are advantages in employing a very loose coupling.
|
| From the Electrical Review, by permission of the Editors. |
Fig. 40.
(iii) The antenna may be direct-coupled to the closed oscillatory circuit in the manner suggested by F. Braun, A. Slaby and O. Lodge. In this case a closed condenser circuit is formed with a battery of Leyden jars, an inductance coil and a spark gap, and oscillations are excited in it by discharges created across the spark gap by an induction coil or transformer. One end of the inductance coil is connected to the earth, and some other point on the closed condenser circuit to an antenna of appropriate length. When oscillations are created in the closed circuit syntonic oscillations are created in the antenna and electric waves radiated from it (fig. 41). In many cases additional condensers or inductance coils are inserted in various places so that the arrangement is somewhat disguised, but by far the larger part of the electric wave wireless telegraphy in 1907 was effected by transmitters having antennae either inductively or directly coupled to a closed condenser circuit containing a spark gap.
Fig. 41.
In practical wireless telegraphy the antenna is generally a collection of wires in fan shape upheld from one or more masts or wooden towers. Sometimes the prolongations of these wires are carried horizontally or dipped down so as to form an umbrella antenna (fig. 42). The lower ends of these wires are connected through the secondary coil of an oscillation transformer to an earth plate, or to a large conductor placed on or near the earth called a “balancing capacity.” If the direct coupling is adopted then the lower end of the antenna is connected directly to the condenser circuit. The main capacity in this last circuit consists of a battery of Leyden jars or of Leyden panes immersed in oil or some form of air condenser, and the inductance coil or primary circuit of the oscillation transformer consists of a few turns of highly insulated wire wound on a frame and immersed in oil. The oscillations are controlled either by a key inserted in the primary circuit of the exciting induction coil or transformer, or by a key cutting in and out of the primary condensers or throwing inductance in and out of the closed oscillation circuit. In one of these ways the oscillations can be created or stopped at pleasure in the radiating antenna, and hence groups of electric waves thrown off at will.
|
| Fig. 42. |
Production of Electric Waves of Large Amplitude.—In creating powerful electric waves for communication over long distances it is necessary to employ an alternating current transformer (see Transformers) supplied with alternating currents from a low frequency alternator D driven by an engine to charge the condenser (fig. 43). The transformer T1 has its secondary or high-pressure terminals connected to spark balls S1, which are also connected by a circuit consisting of a large glass plate condenser C1 and the primary circuit of an air-core transformer T2, called an oscillation transformer. The secondary circuit of this last is either connected between an aerial A and the earth E, or it may be again in turn connected to a second pair of spark balls S2, and these again to a second condenser C2, oscillation transformer T2, and the aerial A. In order to produce electric oscillations in the system, the first or alternating current transformer must charge the condenser connected to its secondary terminals, but must not produce a permanent electric arc between the balls. Various devices have been suggested for extinguishing the arc and yet allowing the condenser oscillatory discharge to take place. Tesla effected this purpose by placing the spark balls transversely in a powerful magnetic field. Elihu Thomson blows on the spark balls with a powerful jet of air. Marconi causes the spark balls to move rapidly past each other or causes a studded disk to move between the spark balls. J. A. Fleming devised a method which has practical advantages in both preventing the arc and permitting the oscillatory currents to be controlled so as to make electric wave signals. He inserts in the primary circuit of the alternating current transformers one or more choking or impedance coils R1, R2 (fig. 43), called “chokers,” which are capable, one or all, of being short-circuited by keys K1, K2. The impedance of the primary or alternator circuit is so adjusted that when both the chokers are in circuit the current flowing is not sufficient to charge the condensers; but when one choker is short-circuited the impedance is reduced so that the condenser is charged, but the alternating arc is not formed. In addition it is necessary to adjust the frequency so that it has the value of the normal time period of the circuit formed of the condenser and transformer secondary circuit, and thus it is possible to obtain condenser oscillatory discharges free from any admixture with alternating current arc. In this manner the condenser discharge can be started or stopped at pleasure, and long and short discharges made in accordance with the signals of the Morse alphabet by manipulating the short-circuiting key of one of the choking coils (see British Patent Specs., Nos. 18865, 20576 and 22126 of 1900, and 3481 of 1901).
Fig. 43.—Alternate Current Transformer System. (Fleming)
In the case of transmitters constructed as above described, in which the effective agent in producing the electric waves radiated is the sudden discharge of a condenser, it should be noticed that what is really sent out is a train of damped or decadent electric waves. When electric oscillations are set up in an open or closed electric circuit having capacity and inductance, and left to themselves, they die away in amplitude, either because they dissipate their energy as heat in overcoming the resistance of the circuit, or because they radiate it by imparting wave motion to the surrounding ether. In both cases the amplitude of the oscillations decreases more or less rapidly. Such a sequence of decreasing electric oscillations and corresponding set of waves is called a damped train. In the case of the plain or directly excited antenna the oscillations are highly damped, and each train probably only consists at most of half a dozen oscillations. The reason for this is that the capacity of a simple antenna is very small—it may be something of the order of 0·0002 of a microfarad—and hence the energy stored up in it oven under a high voltage is also small. Accordingly this energy is rapidly dissipated and but few oscillations can take place. If, however, the antenna is inductively or directly coupled to a condenser circuit of large capacity then the amount of energy which can be stored up before discharge takes place is very much greater, and hence can be drawn upon to create prolonged or slightly damped trains of waves. Allusion is made below to recent work on the production of undamped trains of electric waves.
Receiving Arrangements.—Before explaining the advantages of such small damping it will be necessary to consider the usual forms of the receiving appliance. This consists of a receiving antenna similar to the sending antenna, and in any wireless telegraph station it is usual to make the one and the same antenna do duty as a receiver or sender by switching it over from one apparatus to the other. The electric waves coming through space from the sending station strike against the receiving antenna and set up in it high frequency alternating electromotive forces. To detect these currents some device has to be inserted in the antenna circuit or else inductively connected with it which is sensitive to high frequency currents. These wave-detecting devices may be divided into two classes: (i) potential operated detectors, and (ii) current operated detectors. The oldest of the class (i) is that generically known as a coherer, the construction of which we have already described. The ordinary forms of metallic filings coherer of the Branly type require tapping to bring them back to the high resistance or sensitive condition. Lodge arranged a mechanical tapper for the purpose which continually administered the small blow to the tube sufficient to keep the filings in a sensitive condition. Popoff employed an electromagnetic tapper, in fact the mechanism of an electric bell with the gong removed, for this purpose. Marconi, by giving great attention to details, improved the electromagnetic tapper, and, combining it with his improved form of sensitive tube, made a telegraphic instrument as follows: the small glass tube, containing nickel and silver filings between two silver plugs, was attached to a bone holder, and under this was arranged a small electromagnet having a vibrating armature like an electric bell carrying on it a stem and hammer. This hammer is arranged so that when the armature vibrates it gives little blows to the underside of the tube and shakes up the filings. By means of several adjusting screws the force and frequency of these blows can be exactly regulated. In series with the tube is placed a single voltaic cell and a telegraphic relay, and Marconi added certain coils placed across the spark contacts of the relay to prevent the local sparks affecting the coherer. The relay itself served to actuate a Morse printing telegraph by means of a local battery. This receiving apparatus, with the exception of the Morse printer, was contained in a sheet-iron box, so as to exclude it from the action of the sparks of the neighbouring transmitter. In the early experiments Marconi connected the sensitive tube in between the receiving antenna and the earth plate, but, as already mentioned, in subsequent forms of apparatus he introduced the primary coil of a peculiar form of oscillation transformer into the antenna circuit and connected the ends of the sensitive tube to the terminals of the secondary circuit of this “jigger” (fig. 44). In later improvements the secondary circuit of this jigger was interrupted by a small condenser, and the terminals of the relay and local cell were connected to the plates of this condenser, whilst the sensitive tube was attached to the outer ends of the secondary circuit. Also another condenser was added in parallel with the sensitive tube.
|
Fig. 44. |
With this apparatus some of Marconi’s earliest successes, such as telegraphing across the English Channel, were achieved, and telegraphic communication at the rate of fifteen words or so a minute established between the East Goodwin lightship and the South Foreland lighthouse, also between the Isle of Wight and the Lizard in Cornwall. It was found to be peculiarly adapted for communication between ships at sea and between ship and shore, and a system of regular supermarine communication was put into operation by two limited companies, Marconi’s Wireless Telegraph Company and the Marconi International Marine Communication Company. Stations were established on various coast positions and ships supplied with the above-described apparatus to communicate with each other and with these stations. By the end of 1901 this radio-telegraphy had been established by Marconi and his associates on a secure industrial basis.
Various Forms of Wave Detectors or Receivers.—The numerous adjustments required by the tapper and the inertia of the apparatus prompted inventors to seek for a self-restoring coherer which should not need tapping. Castelli, a petty officer in the Italian navy, found that, if a small drop of mercury was contained in a glass tube between a plug of iron and carbon, with certain adjustments, the arrangement was non-conductive to the current from a single cell but became conductive when electric oscillations passed through it.[18] Hence the following appliance was worked out by Lieutenant Solari and officers in the Italian navy.[19] The tube provided with certain screw adjustments had a single cell and a telephone placed in series with it, and one end of the tube was connected to the earth and the other end to a receiving antenna. It was then found that when electric waves fell on the antenna a sound was heard in the telephone as each wave train passed over it, so that if the wave trains endured for a longer or shorter time the Sound in the telephone was of corresponding duration. In this manner it was possible to hear a Morse code dash or dot in the telephone. This method of receiving soon came to be known as the telephonic method. Lodge, Muirhead and Robinson also devised a self-restoring coherer as follows:[20]—A small steel wheel with a sharp edge was kept rotating by clockwork so that its edge continually cut through a globule of mercury covered with paraffin oil. The oil film prevented perfect electrical contact between the steel and mercury for low voltage currents, but when electric oscillations were passed through the junction it was pierced and good electrical contact established as long as the oscillations continued. This device was converted into an electric wave detector as follows:—The mercury-steel junction was acted upon by the electromotive force of a shunted single cell and a siphon recorder was inserted in series. The wheel was connected to a receiving antenna and the mercury to earth or to an equivalent balancing capacity. When electric waves fell on the antenna they caused the mercury-steel junction to become conductive during the time they endured, and the siphon recorder therefore to write signals consisting of short or long reflexions of its pen and therefore notches of various length on the ink line drawn on the strip of telegraphic tape.
An innumerable number of forms of coherer or wave detector depending upon the change in resistance produced at a loose or imperfect contact have been devised. A. Popoff,[21] E. Branly,[22] A. Blondel,[23] O. Lodge[24] and J. A. Fleming[25] invented special forms of the metallic contact or metallic filings sensitive tube. Brown and Neilson,[26] F. J. Jervis-Smith[27] and T. Tommasina[28] tried carbon in various forms. The theory of the action of the coherer has occupied the attention of T. Sundorp,[29] T. Tommasina,[28] K. E. Guthe,[30] J. C. Bose,[31] W. H. Eccles,[32] and Schäfer.[33] For details see J. A. Fleming, The Principles of Electric Wave Telegraphy and Telephony, p. 416, 2nd ed. 1910.
The next class of wave or oscillation detector is the magnetic detector depending upon the power of electric oscillations to affect the magnetic state of iron. It had long been known that the discharges from a Leyden jar could magnetize or demagnetize steel needles. J. Henry in the United States in 1842 and 1850 investigated the effect. In 1895 E. Rutherford examined it very carefully, and produced a magnetic detector for electric waves depending upon the power of electric oscillations in a coil to demagnetize a saturated bundle of steel wires placed in it (see Phil. Trans., 1897, 189 A, p. 1). Rutherford used this detector to make evident the passage of an electric or Hertzian wave for half a mile across Cambridge, England. In 1897 E. Wilson constructed various forms of electric wave detector depending on this same principle. In 1902 Marconi invented two forms of magnetic detector, one of which he developed into an electric wave detector of extraordinary delicacy and utility (see Proc. Roy. Soc., 1902, 70, p. 341, or British Pat. Spec., No. 10245 of 1902). In this last form an endless band of hard iron wires passes slowly round two wooden pulleys driven by clockwork. In its course it passes through a glass tube wound over with two coils of wire; one of these is an oscillation coil through which the oscillations to be detected pass, and the other is in connexion with a telephone. Two horse-shoe magnets are so placed (fig. 45) that they magnetize the part of the iron band passing through the coil. Owing to hysteresis the part of the band magnetized is not symmetrically placed with regard to the magnetic poles, but advanced in the direction of motion of the band. When the oscillations pass through the coil they annul the hysteresis and cause a change of magnetism within the coil connected to the telephone. This creates a short sound in the telephone. Hence according as the trains of oscillations are long or short so is the sound heard in the telephone, and these sounds can be arranged on the Morse code into alphabetic audible signals. When used as a receiver for wireless telegraphy Marconi inserted the oscillation coil of this detector in between the earth and a receiving antenna, and this produced one of the most sensitive receivers yet made for wireless telegraphy. Other forms of magnetic detector have been devised by J. A. Fleming,[34] L. H. Walter and J. A. Ewing,[35] H. T. Simon and M. Reich,[36] R. A. Fessenden[37] and others.
|
Fig. 45. |
A third class of electric wave detector depends upon the power of electric oscillations to annul the electrolytic polarization of electrodes of small surface immersed in an electrolyte. If in a vessel of nitric acid are placed a large platinum plate and a platinum electrode of very small surface such as that produced when an extremely fine platinum wire is slightly immersed in the liquid, and if a current from a single voltaic cell is passed through the electrolytic cell so that the fine wire is the anode or positive pole, then the small surface will be polarized or covered with a film of gas due to electrolysis (fig. 46). This increases the resistance of the electrolytic cell. If, however, one electrode of this cell is connected to the earth and the other to a receiving antenna and electric waves allowed to fall on the antenna, the oscillations passing through the electrolytic cell will remove the polarization and temporarily decrease the resistance of the cell. This may be detected by putting a telephone in series with the electrolytic cell, and then on the impact of the electric waves a sound is heard in the telephone due to the sudden increase in the current through it. Such receivers were devised by R. A. Fessenden,[38] W. Schloemilch[39] and others, and are known as electrolytic detectors. Discussions have taken place as to the theory of the operations in them, in which some have advocated a thermal explanation and others a chemical explanation (see V. Rothmund and A. Lessing, Ann. der Physik, 1904, 15, p. 193, and J. E. Ives, Electrical World of New York, December 1904).
|
Fig. 46. |
A fourth class of electric wave detector comprises the thermal detectors which operate in virtue of the fact that electric oscillations create heat in a fine wire through which they pass. One form such a detector takes is the bolometer. If a loop of very fine platinum wire, prepared by the Wollaston process, is included in an exhausted glass bulb like an incandescent lamp, then when electric oscillations are sent through it its resistance is increased. This increase may be made evident by making the loop of wire one arm of a Wheatstone's bridge and so arranging the circuits that the oscillations pass through the fine wire. H. Rubens and Ritter in 1890 (Wied. Ann., 1890, 40, p. 56) employed an arrangement as follows: Four fine platinum or iron wires were joined in lozenge shape, and two sets of these R and S were connected up with two resistances P and Q to form a bridge with a galvanometer G and battery B. To one of these sets of fine wires an antenna A and earth connexion E is added (fig. 47) and when electric waves fall on A they excite oscillations in the fine wire resistance R and increase the resistance, and so upset the balance of the bridge and cause the galvanometer to deflect. Such a bolometer receiver has been used by C. Tissot (Comptes rendus, 1904, 137, p. 846) and others as a receiver in electric wave telegraphy.
|
Fig. 47. |
Fessenden employed a
simple fine loop of Wollaston
platinum wire in
series with a telephone
and shunted voltaic cell,
so that when electric
oscillations passed through
the line wire its resistance
was increased and the current through the telephone suddenly
diminished (R. A. Fessenden, U.S.A. Pat. Spec., No. 706712 and
No. 706744 of 1902). I. Klemençiçčič devised a form of thermal
receiver depending on thermoelectricity. A pair of fine wires of
iron and constant an are twisted together in the middle, and one pair
of unlike ends are connected to a galvanometer. If then oscillations
are sent through the other pair heat is produced at the junction
and the galvanometer indicates a thermoelectric current (Wied.
Ann., 1892, 45, p. 78). This thermoelectric receiver was made
vastly more sensitive by W. Duddell (Phil. Mag., 1904, 8, p. 91).
He passed the oscillations to be detected through a fine wire or
strip of gold leaf, and over this, but just not touching, suspended a
loop of bismuth-antimony wire by a quartz fibre. This loop hung
in a very strong magnetic field, and when one junction was heated
by radiation and convection from the heating wire the loop was traversed by a current and deflected in the field. Its deflexion
was observed by an attached mirror in the usual way.
![]() |
|
Fig. 48.—Tellurium-bismuth Vacuum Thermal Detector for Electric Oscillations. a b, constantan wire; c d, thermojunction; G G, galvanometer terminals; O O, antenna and earth terminals. |
Another form of thermoelectric receiver has been devised by J. A. Fleming (Phil. Mag., December 1906) as follows:—It consists of two glass vessels like test tubes one inside the other, the space between the two being exhausted. Down the inner test tube pass four copper strips having platinum wires at their ends sealed through the glass. In the inner space between the test tubes one pair of these platinum wires are connected by a fine constantan wire about ·02 mm. in diameter. The other pair of platinum wires are connected by a tellurium-bismuth thermo-couple, the junction of which just makes contact with the centre of the fine wire. The outer terminals of this junction are connected to a galvanometer, and when electric oscillations are sent through the fine wire they cause a deflexion of this galvanometer (fig. 48). The thermal detectors are especially useful for the purpose of quantitative measurements, because they indicate the true effective or square root of mean square value of the current or train of oscillations passing through the hot wire. On the other hand, the coherer or loose contact detectors are chiefly affected by the initial value of the electromotive force acting on the junction during the train of oscillations, and the magnetic detectors by the initial value of the current and also to a considerable extent by the number of oscillations during the train. Hence the coherer type of detectors are called potential detectors whilst the thermal are called integral current detectors, the current detectors depending entirely or to some extent upon the damping of the train of oscillations, that is to say, upon the number of oscillations forming a train.
The fifth type of wave detector depends upon the peculiar property of rarefied gases or vapours which under some circumstances possess a unilateral conductivity. Thus J. A. Fleming invented in 1904 a detector called an oscillation valve or glow lamp detector made as follows:[40] A small carbon filament incandescent lamp has a platinum plate or cylinder placed in it surrounding or close to the filament. This plate is supported by a platinum wire sealed through the glass. Fleming discovered that if the filament is made incandescent by the current from an insulated battery there is a unilateral conductivity of the rarefied gas between the hot filament and the metal plate, such that if the negative terminal of the filament is connected outside the lamp through a coil in which electric oscillations are created with the platinum plate, only one half of the oscillations are permitted to pass, viz., those which carry negative electricity from the hot filament to the cooled plate through the vacuous space. This phenomenon is connected with the fact that incandescent bodies, especially in rarefied gases, throw off or emit electrons or gaseous negative ions.
Such an oscillation valve was first used by Fleming as a receiver for wireless telegraph purposes in 1904 as follows:—In between the receiving antenna and the earth is placed the primary coil of an oscillation transformer; the secondary circuit of this transformer contains a galvanometer in series with it, and the two together are joined between the external negative terminal of the carbon filament of the above-described lamp and the insulated platinum plate. When this is the case oscillations set up in the antenna will cause a continuous current to flow through the galvanometer, the lamp acting as a valve to stop all those electric oscillations in one direction and only permit the opposite ones to pass (fig. 49). Wehnelt discovered that the same effect could be produced by using instead of a carbon filament a platinum wire covered with the oxides of calcium or barium, which when incandescent have the property of copiously emitting negative ions. Another form of receiver can be made depending on the properties of mercury vapour. A highly insulated tube contains a little mercury, which is used as a negative electrode, and the tube also has sealed through the glass a platinum wire carrying an iron plate as an anode. A battery with a sufficient number of cells is connected to these two electrodes so as to pass a current through the mercury vapour, negative electricity proceeding from the mercury cathode to the iron anode. The mercury vapour then possesses a unilateral conductivity, and can be used to filter off all those oscillations in a train which pass in one direction and make them readable on an ordinary galvanometer. In addition to the above gaseous rectifiers of oscillations it has been found that several crystals, such as carborundum (carbide of silicon), hessite, anastase and many others possess a unilateral conductivity and enable us to rectify trains of oscillations into continuous currents which can affect a telephone. Also several contacts, such as that of galena (sulphide of lead) and plumbago, and molybdenite and copper possess similar powers, and can be used as detectors in radio-telegraphy. See G. W. Pierce, The Physical Review, July 1907, March 1909, on crystal rectifiers for electric oscillations.
![]() |
|
Fig. 49.—A, antenna; P S, jigger or oscillation transformer; C, condenser; O, Fleming oscillation valve; B, working battery; T, telephone; R, rheostat; E, earth-plate. |
Syntonic Electric Wave Telegraphy.—If a simple receiving antenna as above described is set up with an oscillation-detecting device attached to it, we find that it responds to incident electric waves of almost any frequency or damping provided that the magnetic force, of the wave is perpendicular to the antenna, and of sufficient intensity. This arrangement is called a non-syntonic receiver. On the other hand, if a closed oscillation circuit is constructed having capacity and considerable inductance, then oscillations can be set up in it by very small periodic electromotive forces provided these have a frequency exactly agreeing with that of the condenser circuit. This last circuit has a natural frequency of its own which is numerically measured by 1/2π√(CL), where C is the capacity of the condenser and L is the inductance of the circuit. The problem of syntonic electric wave telegraphy is then to construct a transmitter and a receiver of such kind that the receiver will be affected by the waves emitted by the corresponding or syntonic transmitter, but not by waves of any other wavelength or by irregular electric impulses due to atmospheric electricity. It was found that to achieve this result the transmitter must be so constructed as to send out prolonged trains of slightly damped waves. Electric-radiative circuits like thermal radiators are divided into two broad classes, good radiators and bad radiators. The good electric radiators may be compared with good thermal radiators, such as a vessel coated with lamp black on the outside, and the bad electric radiators to poor thermal radiators, such as a silver vessel highly polished on its exterior. When electric oscillations are set up in these two classes of electric radiators, the first class send out a highly damped wave train and the second a feeble damped wave train provided that they have sufficient capacity or energy storage and low resistance. A radiator of this last class can be constructed by connecting inductively or directly an antenna of suitable capacity and inductance to a nearly closed electric circuit consisting of a condenser of large capacity, a spark gap and an inductance of low resistance. When oscillations are excited in this last circuit they communicate them to the antenna provided this last circuit is tuned or syntonized to the closed circuit, and the radiating antenna has thus a large store of energy to draw upon and can therefore radiate prolonged trains of electric waves. The above statements, though correct as far as they go, are an imperfect account of the nature of the radiation from a coupled antenna, but a mathematical treatment is required for a fuller explanation. The success so far achieved in isolating electric wave telegraphic stations has been based upon the principles of electric resonance and the fact that electric oscillations can be set up in a circuit having capacity and considerable inductance by feeble electromotive impulses, provided they are of exactly the natural frequency of the said circuit. We may illustrate the matter as follows: A heavy pendulum possesses inertia and the property of being displaced from a position of rest but tending to return to it. These mechanical qualities correspond to inductance and capacity in electric circuits. Such a pendulum can be set in vigorous vibration even by feeble puffs of air directed against it, provided these are administered exactly in time with the natural period of vibration of the pendulum.
Although inventors had more or less clearly grasped these principles they were first embodied in practice in 1900 by G. Marconi in an operative system of syntonic wireless telegraphy. His transmitter consists of a nearly closed oscillating circuit comprising a condenser or battery of Leyden Jars, a spark gap, and the primary coil of an oscillation transformer consisting of one turn of thick wire wound on a wooden frame. Over this primary is wound a secondary circuit of five to ten turns which has one end connected to the earth through a variable inductance coil and the other end to an antenna. These two circuits are syntonized so that the closed or condenser circuit and the open or antenna circuit are adjusted to have, when separate, the same natural electrical time of vibration. The receiving arrangement consists of an antenna which is connected to earth through the primary coil of an oscillation transformer and a variable inductance. The secondary circuit of this transformer is cut in the middle and has a condenser inserted in it, and its ends are connected to the sensitive metallic filings tube or coherer as shown in fig. 50. This receiver therefore, like the transmitter, consists of an open and a closed electric oscillation circuit inductively connected together; also the two circuits of the receiver must be syntonized or tuned both to each other and to those of the transmitter.[41] When this is done we have a syntonic system which is not easily affected by electric waves of other than the right period or approximating thereto. Marconi exhibited in October 1900 this apparatus in action, and showed that two or more receivers of different tunes could be connected to the same antenna and made to respond separately and simultaneously to the action of separate but tuned transmitters.
Fig. 50.
A. Slaby in Berlin shortly afterwards made a similar exhibition of syntonic electric wave telegraphy.[42] O. Lodge had previously described in 1897 a syntonic system of electric wave telegraphy, but it had not been publicly seen in operation prior to the exhibitions of Marconi and Slaby.[43] Lodge was, however, fully aware that it was necessary for syntonic telegraphy to provide a radiator capable of emitting sustained trains of waves. His proposed radiator and absorber consisted of two wing-shaped plates of copper, the transmitter plates being interrupted in the centre by a spark gap, and the receiver plates by an inductance coil from the ends of which connexions were made to a coherer. At a later date a syntonic system comprising, as above stated, an antenna directly coupled to a resonant closed circuit was put into operation by Lodge and Muirhead, and much the same methods have been followed in the system known as the Telefunken system employed in Germany.
A method of syntonic telegraphy proposed by A. Blondel (Comptes rendus, 1900, 130, p. 1383) consisted in creating a syntony not between the frequency of time oscillations in the sender and receiver circuits but between the groups of oscillations constituting the wave trains; but, although other patentees have suggested the same plan, the author is not aware that any success has attended its use in practice. The only other suggested solution of the problem of isolation in connexion with wireless telegraph stations was given by Anders Bull (Electrician, 1901, 46, p. 573). Very briefly stated, his method consists in sending out a group of wave trains at certain irregular but assigned intervals of time to constitute the simplest signal equivalent to a dot in the Morse code, and a sequence of such trains, say three following one another, to constitute the dash on the Morse code. The apparatus is exceedingly complicated and can only be understood by reference to very detailed diagrams. (See Principles of Electric Wave Telegraphy, by J. A. Fleming, 1906, sect. 13, chap. viii.) By means of the Anders Bull apparatus several messages can be sent out simultaneously from different transmitters and received independently and simultaneously upon corresponding receivers, while no ordinary non-syntonic or other receiver is able either to obscure the messages being sent to the Anders Bull receivers or to interpret those that may be picked up. Although complicated the apparatus seems to work fairly well.
Practical Electric Wave Telegraphy.—At this stage it may be convenient to outline the progress of electric wave telegraphy since 1899. Marconi's success in bridging the English Channel at Easter in 1899 with electric waves and establishing practical wireless telegraphy between ships and the shore by this means drew public attention to the value of the new means of communication. Many investigators were thus attracted into this field of research and invention. In Germany A. Slaby and F. Braun were the most active. Slaby paid considerable attention to the study of the phenomena connected with the production of the oscillations in the antenna. He showed that in a simple Marconi antenna the variations of potential are a maximum at the insulated top and a minimum at the base, whilst the current amplitudes are a maximum at the top earthed end and zero at the top end. He therefore saw that it was a mistake to insert a potential-affected detector such as a coherer in between the base of the antenna and the earth because it was then subject to very small variations of potential between its ends. He overcame the difficulty by erecting a vertical earthed receiving antenna like a lightning rod and attached a lateral extension to it at a yard or two above the earthed end. To the outer end of this lateral wire a condenser was attached and the coherer inserted between the condenser and the earth. The oscillations set up in the vertical antenna excited sympathetic ones in the lateral circuit provided this was of the proper length; and the coherer was acted upon by the maximum potential variations possible. Passing over numerous intermediate stages of development we find that in 1898 Professor F. Braun showed that oscillations suitable for the purposes of electric wave creation in wireless telegraphy could be set up in a circuit consisting of a Leyden jar or jars, a spark gap and an inductive circuit, and communicated to an antenna either by inductive or direct coupling (Brit. Pat. Spec., No. 1862 of 1899). When the methods for effecting this had been worked out practically it finally led to the inventions of Slaby, Braun and others being united into a system called the Telefunken system, which, as regards the transmitter, consisted in forming a closed oscillation circuit comprising a condenser, spark gap and inductance which at one point was attached either directly or through a condenser to the earth or to an equivalent balancing capacity, and at some other point to a suitably tuned antenna. The receiving arrangements comprised also an open or antenna circuit connected directly with a closed condenser-inductance circuit, but in place of the spark gap in the transmitter an electrolytic receiver was inserted, having in connexion with it as indicator a voltaic cell and telephone. In this manner the signals are read by ear. In the same way the arrangements finally elaborated by Lodge and Muirhead consisted of a direct coupled antenna and nearly closed condenser circuit, and a similar receiving circuit containing as a detector the steel wheel revolving on oily mercury which actuated a siphon recorder writing signals on paper tape. Arrangements not very different in general principle were put into practice in the United States by Fessenden, de Forest and others.
Hence it will be seen that the difference between various forms of the so-called spark systems of wireless telegraphy is not very
great. All of them make use of Marconi's antenna in some form both at the transmitting and at the receiving end, all of them make use of an earth connexion, or its equivalent in the form of a balancing capacity or large surface having capacity with respect to the earth, which merely means that they insert a condenser of large capacity in the earth connexion. All of them couple the transmitting antenna directly or inductively to a capacity-inductive circuit serving as a storage of energy, and all of them create thereby electric waves of the same type moving over the earth's surface with the magnetic force of the wave parallel to it. At the receiving station the differences in these systems depend chietly upon variations in the actual form of the oscillation detector used, whether it be a loose contact or a thermal, electrolytic or magnetic detector.
In July and August 1899 the Marconi system of wireless telegraphy was tried for the first time during British naval manoeuvres, and the two cruisers, “Juno” and “Europa,” were fitted with the new means of communication. The important results obtained showed that a weapon of great power had been provided for assisting naval warfare. From and after that time the British Admiralty and the navies of other countries began to give great attention to the development of electric wave telegraphy.
Transatlantic Wireless Telegraphy.—Having found that the principles of resonance could be successfully applied so as to isolate wireless telegraph receivers, Marconi turned his attention to the accomplishment of his great ambition, viz. Transatlantic wireless telegraphy. In January 1901 he telegraphed without difficulty by electric waves from the Isle of Wight to the Lizard, viz. 200 m., and he considered that the time had come for a serious attempt to be made to communicate across the Atlantic. A site for a first Transatlantic electric wave power station was secured at Poldhu, near Mullion in south Cornwall, by the Marconi Company, and plans arranged for an installation. Up to that time an induction coil known as a 10-inch coil had sufficed for spark production, but it was evident that much more power would be required to send electric waves across the Atlantic. Transformers were therefore employed taking alternating electric current from an alternator driven by an oil or steam engine, and these high tension transformers were used to charge condensers and set up powerful oscillations in a multiple antenna. The special electrical engineering arrangements employed at the outset for this first electric wave power station required to create the oscillations of the desired power were designed for Marconi by J. A. Fleming, but the arrangements were subsequently altered and improved by Marconi, one of the most important additions being a form of high-speed rotating disk discharger devised by Marconi by which he was able to immensely increase the speed of signalling. The first antenna employed consisted of 50 bare copper wires 200 ft. long, arranged in fan-shape and upheld between two masts. Subsequently this antenna was enlarged, and four wooden lattice towers were built, 215 ft. high and 200 ft. apart, sustaining a conical antenna comprised of 400 wires (see G. Marconi, Proc. Roy. Inst., 1902, 17, p. 208). This transmitting plant was completed in December 1901, and Marconi then crossed the Atlantic to Newfoundland and began to make experiments to ascertain if he could detect the waves emitted by it. At St John's in Newfoundland he erected a temporary receiving antenna consisting of a wire 400 ft. long upheld by a box kite, and, employing a sensitive coherer and telephone as a receiver, he was able, on December 12, 1901, to hear “S” signals on the Morse code, consisting of three dots, which he had arranged should be sent out from Poldhu at stated hours, according to a preconcerted programme, so as to leave no doubt they were electric wave signals sent across the Atlantic and not accidental atmospheric electric disturbances. This result created a great sensation, and proved that Transatlantic electric wave telegraphy was quite feasible and not inhibited by distance, or by the earth's curvature even over an arc of a great circle 3000 m. in length. In a repetition of this experiment at the end of February 1902 Marconi, on board the S.S. “Philadelphia,” received wireless messages printed on the ordinary Morse tape at a distance of 1557 m. from the sending station at Poldhu, and also received the letter “S” at a distance of 2099 m. from the same place. In the course of this voyage he noticed that the signals were received better during the night than the daytime, legible messages being received on a Morse printer only 700 m. byday but 1500 by night.
The appliances in the Poldhu station were subsequently enlarged and improved by Marconi, and corresponding power stations erected at Cape Cod, Massachusetts, U.S.A., and at Cape Breton in Nova Scotia. In 1902 Marconi was able to transmit a large number of messages across the Atlantic, receiving them by means of his magnetic detector. In the same year numerous experiments were tried with the assistance of an Italian battleship, the “Carlo Alberto,” lent by the Italian government, and messages were transmitted from Poldhu to Kronstadt, to Spezia, and also to Sydney in Nova Scotia. Doubts having been raised whether the powerful electric waves sent out from these stations would not interfere with the ordinary ship to shore communication, special demonstrations were made by Marconi before the writer, and later before British naval officers, to demonstrate that this was not the case.[44] In 1904 a regular system of communication of press news and private messages from the Poldhu and Cape Breton stations to Atlantic liners in mid-Atlantic was inaugurated, and daily newspapers were thenceforth printed on board these vessels, news being supplied to them daily by electric wave telegraphy. By the middle of 1905 a very large number of vessels had been equipped with the Marconi short distance and long distance wireless telegraph apparatus for intercommunication and reception of messages from power stations on both sides of the Atlantic, and the chief navies of the world had adopted the apparatus. In 1904, during the Russo-Japanese war, war news was transmitted for The Times by wireless telegraphy, the enormous importance of which in naval strategy was abundantly demonstrated.
As the power station at Poldhu was then fully occupied with the business of long distance transmission to ships, the Marconi Company began to erect another large power station to Marconi's designs at Clifden in Connemara on the west coast of Ireland. This station was intended for the Transatlantic service in correspondence with a similar station at Glace Bay in Nova Scotia. It was completed in the summer of 1907, and on the 17th of October 1907 press messages and private messages were sent across the Atlantic in both directions. The station was opened shortly afterwards for public service, the rates being greatly below that then current for the cable service.
The service was, however, interrupted in August 1909 by a fire, which destroyed part of the Glace Bay station, but was re-established in April 1910.
Meanwhile other competitors were not idle. The inventions of Slaby, Braun and others were put into practice by a German wireless telegraph company, and very much work done in erecting land stations and equipping ships. In France the scientific study of the subject was advanced by the work of Blondel, Tissot, Ducretet and others, and systems called tile Ducretet and Rochefort set in operation. In the United States the most active workers and atentees at this period were R. A. Fessenden, Lee de Forest, 5). S. Stone, H. Shoemaker and a few others.. 'In England, in addition to the Marconi Company, the Lodge-Muirhead Syndicate was formed to operate the inventions of Sir Oliver Lodge and Dr Muirhead.
Directive Telegraphy.—A problem of great importance in connexion with electric wave telegraphy is that of limiting the radiation to certain directions. A vertical transmitting antenna sends out its waves equally in all directions, and these can be equally detected by a suitable syntonic or other receiver at all points on the circumference of a circle described round the transmitter. This, however, is a disadvantage. What is required is some means for localizing and directing a beam of radiation. The first attempts involved the use of mirrors. Hertz had shown that the electric radiation from an oscillator could be reflected and converged by cylindrical parabolic mirrors. He operated with electric waves two or three feet in wave-length. Experiments precisely analogous to optical ones can be performed with somewhat shorter waves. Marconi in his first British patent (No. 12039 of 1896) brought forward the idea of focusing a beam of electric radiation for telegraphic purposes on a distant station by means of parabolic mirrors, and tried this method successfully on Salisbury Plain up to a distance of about a couple of miles. As, however, the wavelength necessary to cover any considerable distance must be at least 200 or 300 ft., it becomes impracticable to employ mirrors for reflection. The process of reflection in the case of a wave motion involves the condition that the wave-length shall be small compared with the dimensions of the mirror, and hence the attempt to reflect and converge electric waves 1000 ft. in length by any mirrors which can be practically constructed would be like attempting optical experiments with mirrors one-hundred-thousandth of an inch in diameter.
Another closely connected problem is that of locating or ascertaining the direction of the sending station. To deal with the latter question first, one of the earliest suggestions was that of J. S. Stone (U.S.A. Pat. Spec., Nos. 716134 and 716135, also reissue No. 12148), who proposed to place two receiving antennae at a distance of half a wave-length apart. If these two were broadside on to the direction of the sending station oscillations in the same phase would be produced in them both, but if they were in line with it then the oscillations would be in opposite phases. It was then proposed to arrange a detector so that it was affected by the algebraic sum of the two oscillations, and by swivelling round the double receiving antennae to locate the direction of the sending station by finding out when the detector gave the best signal. Even if the proposal had been practicable with waves 1000 or 2000 ft. in length, which it is not, it is essentially based upon the supposition that the damping of the waves is negligible. A proposal was made by L. de Forest (U.S.A. Pat. Spec., No. 771818) to employ a receiving antenna consisting of vertical wires held in a frame which could be swivelled round into various positions and used to locate the position of the sending station by ascertaining the position in which the frame must be placed to create in it the maximum oscillatory current. Other inventors had professed to find a solution of the problem by the use of looped receiving antennae or antennae inclined in various directions.
G. Marconi, however, gave in 1906 the first really practical solution of the problem by the use of bent transmitting and receiving antennae. He showed that if an antenna were constructed with a short part of its length vertical and the greater part horizontal, the lower end of the vertical part being earthed, and if oscillations were created in it, electric waves were sent out most powerfully in the plane of the antenna and in the direction opposite to that in which the free end pointed. Also he showed that if such an antenna had its horizontal part swivelled round into various directions the current created in a distant receiver antenna varied with the azimuth, and when plotted out in the form of a polar curve gave a curve of a peculiar figure-of-8 shape.[45] The mathematical theory of this antenna was given by J. A. Fleming (Proc. Roy. Soc., May 1906, also Phil. Mag., December 1906). Marconi also showed that if such a bent receiving antenna was used the greatest oscillations were created in it when its insulated end pointed directly away from the sending station. In this manner he was able to provide means for locating an invisible sending station. F. Braun also gave an interesting solution of the problem of directive telegraphy.[46] In his method three vertical antennae are employed, placed at equidistant distances, and oscillations are created in the three with a certain relative difference of phase. The radiations interfere in an optical sense of the word, and in some directions reinforce each other and in other directions neutralize each other, so making the resultant radiation greater in some directions than others. Very valuable work in devising forms of antennae for directive radio-telegraphy has been done by MM. Bellini and Tosi, who have devised instruments, called radiogonimeters, for projecting radiation in required directions and locating the azimuth of a transmitting station.
Improvements in the Production of Continuous Trains of Electric
Waves.—All the above-described apparatus employed in
connexion with wireless telegraph transmitters, in which the
oscillatory discharge of a condenser is used to create oscillations
in an antenna, labours under the disadvantage that the time
occupied by the oscillations is a very small fraction of the total
time of actuation. Thus, for instance, when using an induction
coil or transformer to charge a condenser, it is not generally
convenient to make more than 50 discharges per second, but
each of these may create a train of oscillations consisting of,
say, 20 to 50 waves. Supposing, then, that these waves are
1000 ft. in wave-length, the frequency of the oscillations would
bye 1,000,000 per second, and accordingly 50 of these waves
would be emitted in 1/20,000th part of a second; and if there
are 50 groups of waves per second, the total time occupied by the
oscillations in a second would only be 1/400th part of a second.
In other words, the intervals of silence are nearly 400 times as
long as the intervals of activity. It very soon, therefore, became
clear to inventors that a very great advantage would be
gained if some means could be discovered of creating high
frequency oscillations which were not intermittent but continuous.
The condenser method of making oscillations is
analogous to the production of air vibrations by twanging a
harp string at short intervals. What is required, however, is
something analogous to an organ pipe which produces a continuous
sound.
A method of producing these oscillations devised by Valdemar Poulsen is based upon the employment of what is called a musical arc. W. Duddell discovered in 1900 that if a continuous current carbon arc had its carbon electrodes connected by a condenser in series with an inductance, then under certain conditions oscillations were excited in this condenser circuit which appeared to be continuous. Poulsen immensely improved this process by placing the arc in an atmosphere of hydrogen, coal-gas or some other non-oxidizing gas, and, at the same time arranging it in a strong magnetic field.[47] In this way he was able to produce an apparatus which created continuous trains of oscillations suitable for the purposes of wireless telegraphy. The so-called musical arc of Duddell has been the subject of considerable investigation, and physicists are not entirely in accordance as to the true explanation of the mode of production of the oscillations. It appears, however, to depend upon the fact that an electric arc is not like a solid conductor. Increase in the voltage acting upon a solid conductor increases the current through it, but in the case of the electric arc an increase in current is accompanied by a fall in the difference of potential of the carbons, within certain limits, and the arc has therefore been said to possess a negative resistance.[48]
Poulsen’s method of producing continuous or undamped electrical waves has been applied by him in radio-telegraphy. The electric arc is formed between cooled copper (positive) and carbon (negative) electrodes in an atmosphere of hydrogen or coal-gas. In recent apparatus, to enable it to be used on board ship, a hydrogenous spirit is used which is fed drop by drop into the chamber in which the arc is worked. Across the arc is a transverse or radial magnetic field, and the electrodes are connected by an oscillatory circuit consisting of a condenser and inductance. The antenna is connected either directively or inductively with the circuit. At the receiving end are a similar antenna and resonant circuit, and a telephone is connected across one part of the latter through an automatic interrupting device called by Poulsen a “ticker.” To send signals the continuous or nearly continuous train of waves must be cut up into Morse signals by a key, and these are then heard as audible signals in the telephone. An important modification of this method enables not only audible signals but articulated words to be transmitted, and gives thus a system of wireless telephony. This has been achieved by employing a microphone transmitter at the sending end to vary the amplitude but not the wave-length of the emitted waves, and at the receiving end using an electrolytic receiver, which proves to be not merely a qualitative but also a quantitative instrument, to make these variations audible on a telephone. The system has already been put into practice in Germany by the Gesellschaft für drahtlose Telegraphie, and in the United States by R. A. Fessenden. This last-named inventor has employed for the production of the continuous trains of waves a high frequency alternator of his own invention (see The Electrician, 1907, 58, p. 675, 701). Much work has been done on this matter by E. Ruhmer, for which the reader must be referred to his work, Drahtlose Telephonie, Berlin, 1907. There is no doubt that the transmission of articulate sounds and speech over long distances without wires by means of electric waves is not only possible as an experimental feat but may perhaps come to be commercially employed. In connexion with this part of the subject a brief reference should also be made to M. Wien’s method of impact excitation by employing a form of spark gap which quenches the primary discharge instantly and excites the free oscillations in the antenna by impact or shock.
Instruments and Appliances for making Measurements in Connexion with Wireless Telegraphy.—The scientific study of electric wave telegraphy has necessitated the introduction of many new processes and methods of electrical measurement. One important measurement is that of the wave-length emitted from an antenna. In all cases of wave motion the wave-length is connected with the velocity of propagation of the radiation by the relation v = nλ, where n is the frequency of the oscillations and λ is the wave-length. The velocity of propagation of electric waves is the same as that of light, viz., about 1000 million feet, or 300 million metres, per second. If therefore we can measure the frequency of the oscillations in an antenna we are able to tell the wave-length emitted. Instruments for doing this are called wave meters and are of two kinds, open circuit and closed circuit. Forms of open circuit wave meter have been devised by Slaby and by Fleming. Slaby’s wave meter consists of a helix of non-insulated wire wound on a glass tube. This helix is presented or held near to the antenna, and the length of it shortened until oscillations of the greatest intensity are produced in the helix as indicated by the use of an indicator of fluorescent paper.
Closed circuit wave meters have been also devised by J. Dönitz[49] and by Fleming.[50] In Dönitz’s wave meter a condenser of variable capacity is associated with inductance coils of various sizes, and the wave meter is placed near the antenna so that its inductance coils have induced currents created in them. The capacity of the condenser is then altered until the maximum current, as indicated by a hot wire ammeter, is produced in the circuit. From the known value of the capacity in that position and the inductance the frequency can be calculated. The Fleming closed circuit wave meter, called by him a cymometer, consists of a sliding tube condenser and a long helix of wire forming an inductance; these are connected together and to a copper bar in such a manner that by one movement of a handle the capacity of the tubular condenser is altered in the same proportion as the amount of the spiral inductance which is included in the circuit. If, then, a long copper bar which forms part of this circuit is placed in proximity to the transmitting antenna and the handle moved, some position can be found in which the natural time period of the cymometer circuit is made equal to the actual time period of the telegraphic antenna. When this is the case the amplitude of the potential difference of the surfaces of the tubular condenser becomes a maximum, and this is indicated by connecting a vacuum tube filled with neon to the surfaces of the condenser. The neon tube glows with a bright orange light when the adjustments of the cymometer circuit are such that it is in resonance with the wireless telegraph antenna. The scale on the cymometer then shows directly the wave-length and frequency of the oscillations.[51]
An immense mass of information has been gathered on the scientific processes which are involved in electric wave telegraphy. Even on fundamental questions such as the function of the earth interconnexion with it physicists differ in opinion to a considerable extent. Starting from an observation of Marconi’s, a number of interesting facts have been accumulated on the absorbing effect of sunlight on the propagation of long Hertzian waves through space, and on the disturbing effects of atmospheric electricity as well as upon the influence of earth curvature and obstacles of various kinds interposed in the line between the sending and transmitting stations.[52]
Electric wave telegraphy has revolutionized our means of communication from place to place on the surface of the earth, making it possible to communicate instantly and certainly between places separated by several thousand miles, whilst at the same time it has taken a position of the greatest importance in connexion with naval strategy and communication between ships and ships and the shore in time of peace. It is now generally recognized that Hertzian wave telegraphy, or radio-telegraphy, as it is sometimes called, has a special field of operations of its own, and that the anticipations which were at one time excited by uninformed persons that it would speedily annihilate all telegraphy conducted with wires have been dispersed by experience. Nevertheless, transoceanic wireless telegraphy over long distances, such as those across the Atlantic and Pacific oceans, is a matter to be reckoned with in the future but it remains to be seen whether the present means are sufficient to render possible communication to the antipodes. The fact that it has become necessary to introduce regulations for its control by national legislation and international conferences shows the supremely important position which it has taken in the short interval of one decade as a means of communicating human intelligence from place to place over the surface of the globe. An important International Conference on radio-telegraphy was held in Berlin in 1906, and as a result of its deliberations international regulations have been adopted by the chief Powers of the world. The decisions of the Conference were ratified for Great Britain by the British government on July 1, 1908.
Authorities.—M. Abraham, “ Wireless Telegraphy and Electrodynamics,” Physik. Zeits., 1901, 2, 329; J. A. Fleming, “Electric Oscillations and Electric Waves,” Cantor Lectures, Journ. Soc. Arts, 1901, and “Measurement of High Frequency Currents,” Cantor Lectures, ib., 1905; G. W. Pierce, “Experiments in Resonance in Wireless Telegraphy,” Physical Review, September 1904, April 1905, March 1906; G. Marconi, “Wireless Telegraphy,” Journ. Inst. Elec. Eng. Lona., 1899, 28, p. 273; id., “Wireless Telegraphy,” Proc. Roy. Inst., 16, p. 247; id., “Syntonic Wireless Telegraphy,” Journ. Soc. Arts, 1901, 49, p. 505; id., “ Progress of Electric Space Telegraphy,” Proc. Roy. Inst., 1902, 17, p. 195; F. Braun, Drahtlose Telegraphie durch Wasser und Luft (Leipzig, 1900); A. Broca, La Télégraphie sans fils (Paris, 1899); A. F. Collins, Wireless Telegraphy (New York, 1905); G. Eichhorn, Wireless Telegraphy (1906); J. Erskine-Murray, A Handbook of Wireless Telegraphy (1907); J. J. Fahie, A History of Wireless Telegraphy (Edinburgh, 1899); J. A. Fleming, Hertzian Wave Telegraphy (1905); id., The Principles of Electric Wave Telegraphy and Telephony (2nd ed., 1910); J. A. Fleming, An Elementary Manual of Radio-telegraphy and Radio-telephony (1908); H. Hertz, Electric Waves (1893); O. Jentsch, Telegraphie und Telephonie ohne Draht (Berlin, 1904); O. Lodge, Signalling across Space without Wires (3rd ed. 1899); D. Mazotto, Wireless Telegraphy and Telephony, Eng. trans. by S. R. Bottone (1906); H. M. Macdonald, Electric Waves (Cambridge, 1901); H. Poincaré, Les Oscillations électriques (Paris, 1894); Poincaré and Vreeland, Maxwell’s Theory and Wireless Telegraphy (1904); A. Rhigi and B. Dessau, Die Telegraphie ohne Draht (Brunswick, 1903); G. Seibt, Elektrische Drahtwellen (Berlin, 1902); C. H. Sewall, Wireless Telegraphy (New York, 1903); A. Slaby, Die Funkentelegraphie (Berlin, 1897); T. A. Story, The Story of Wireless Telegraphy (1905); C. Tissot, Résonance des systèmes d'antennes (Paris, 1906); J. Zenneck, Elektromagnetische Schwingungen und drahtlose Telegraphie (Stuttgart, 1906); J. Zenneck, Leitfaden der drahtlosen Telegraphie (1909). (J. A. F.)
- ↑ From correspondence found among Sir David Brewster’s papers after his death it seems highly probable that the writer of this letter, which was signed “C. M.,” was Charles Morrison, a surgeon and a native of Greenock, but at that time resident in Renfrew.
- ↑ See Arthur Young, Travels in France, p. 3.
- ↑ See Sir W. Thomson (Lord Kelvin), Mathematical and Physical Papers, vol. ii. p. 165.
- ↑ For a history of the discovery of the earth return, see Fahie, History of Electric Telegraphy to the Year 1827, pp. 343-348.
- ↑ See Fahie, History of Wireless Telegraphy, p. 170; also 5th Report (1897) of the Royal Commission on Electrical Communication with Lightships and Lighthouses.
- ↑ See Telegraphic Journal of London, vol. iv. pp. 29, 46, 61; Proc. Phys. Soc. Lond., vol. ii. p. 103.
- ↑ See Fahie, History of Wireless Telegraphy, p. 289; also an important letter by D. E. Hughes in The Electrician, London, 1899, 43, 40.
- ↑ Nuovo cimento, series iii. vol. xvii.
- ↑ Comptes rendus, vols. cxi., cxii.; see also The Electrician, xl. 87, 91, 166, 235, 333 and 397; xli. 487; xlii. 46 and 527; and xliii. 277.
- ↑ Report Brit. Assoc., 1892.
- ↑ Lodge, Signalling through Space without Wires, 3rd ed., p. 73, 1899.
- ↑ See G. Marconi, Brit. Pat. Spec., 12039 of 1896.
- ↑ Figures 38, 39, 41, 42, 44, 45, 46, 47, 48 and 49 are drawn from Professor J. A. Fleming's Electric Wave Telegraphy, by permission of Longmans, Green & Co.
- ↑ For a more complete account of the nature of an electric wave the reader is referred to Hertz's Electric Waves, and to the article Electric Wave. See also The Principles of Electric Wave Telegraphy, by J. A. Fleming.
- ↑ See German Patent of F. Braun, No. 111578 of 1898, or British Specification, No. 1862 of 1899.
- ↑ See British Pat. Spec., G. Marconi, No. 7777 of 1900.
- ↑ See J. S. Stone, U.S.A. Pat. Spec., Nos. 714756 and 714831.
- ↑ See Electrical Review, 1902, 51, p. 968.
- ↑ See “A Royal Institution Discourse,” by G. Marconi, The Electrician, 1902, 49, p. 490; also British Pat. Spec., No. 18105 of 1901.
- ↑ See British Pat. Spec., Lodge and others, No. 13521 of 1902.
- ↑ A. Popoff, The Electrician, 1897, 40, p. 235.
- ↑ E. Branly, Comptes rendus, 1890, 111, p. 785, and The Electrician, 1891, 27, p. 221.
- ↑ A. Blondel, The Electrician, 1899, 43, p. 277.
- ↑ O. Lodge, The Electrician, 1897, 40, p. 90.
- ↑ J. A. Fleming, Journ. Inst. Elec. Eng. Land., 1899, 28, p. 292.
- ↑ Brown and Neilson, Brit. Patent Spec., No. 28958, 1896.
- ↑ F. J. Jervis-Smith, The Electrician, 1897, 40, p. 85.
- ↑ 28.0 28.1 T. Tommasina, Comptes rendus, 1899, 128, p. 666.
- ↑ T. Sundorp, Wied. Ann., 1899, 60, p. 594.
- ↑ K. E. Guthe, The Electrician, 1904, 54, p. 92.
- ↑ J. C. Bose, Proc. Roy. Soc. Land., 1900, 66, p. 450.
- ↑ W. H. Eccles, The Electrician, 1901, 47, p. 682.
- ↑ Schäfer, Science Abstracts, 1901, 4, p. 471.
- ↑ See J . A. Fleming, “A Note on a Form of Magnetic Detector for Hertzian Waves adapted for Quantitative Work,” Proc. Roy. Soc., 1903, 74, p. 398.
- ↑ L. H. Walter and J. A. Ewing, Proc. Roy. Soc., 1904, 73, p. 120.
- ↑ Simon and Reich, Elektrotech. Zeits., 1904, 22, p. 180.
- ↑ R. A. Fessenden, U.S.A. Pat. Spec., No. 715043 of 1902.
- ↑ See R. A. Fessenden, U.S.A. Pat. Spec., No. 731029, and reissue No. 12115 of 1903.
- ↑ W. Schloemilch, Elektrotech. Zeits., 1903, 24, p. 959, or The Electrician, 1903, 52, p. 250.
- ↑ See J. A. Fleming, Proc. Roy. Soc., 1905, 74, p. 746. Also British Pat. Spec., No. 24580 of 1904.
- ↑ See G. Marconi, Brit. Pat. Spec., No. 7777 of 1900; also Journ. Soc. Arts, 1901, 49, p. 505.
- ↑ See A. Slaby, The Electrician, 1901, 46, p. 475.
- ↑ See O. Lodge, Brit. Pat. Spec., No. 11575 of 1897.
- ↑ See J. A. Fleming, The Principles of Electric Wave Telegraphy (London, 1906), chap. vii.; also Cantor Lectures on Hertzian wave telegraphy, Lecture iv., Journ. Soc. Arts, 1903, or letter to The Times, April 14, 1903.
- ↑ See G. Marconi, Proc. Roy. Soc., 1906, A 77, p. 413.
- ↑ F. Braun, The Electrician, May 25 and June 1, 1906.
- ↑ See V. Poulsen, Brit. Pat. Spec., No. 15599 of 1903; also a lecture given in London, November 27, 1906, “On a Method of producing undamped Electrical Oscillations and their employment in Wireless Telegraphy,” Electrician, 1906, 58, p. 166.
- ↑ Reference may be made to W. Duddell, “On Rapid Variations in the Current through the Direct Current Arc,” Journ. Inst. Elec. Eng., 1900, 30, p. 232; P. Janet, “On Duddell’s Musical Arc,” Comptes rendus, 1902, 134, p. 821; S. Maisel, Physik. Zeits., September 1, 1904, and January 15, 1905, or L’Éclairage électrique, 1904, 41, p. 186; J. A. Fleming, The Principles of Electric Wave Telegraphy, 1906, p. 73.
- ↑ The Electrician, 1904, 52, p. 407, or German Pat. Spec., No. 149350.
- ↑ Brit Pat. Spec., No. 27683 of 1904.
- ↑ J. A. Fleming, Phil. Mag., 1905 [6], 9, p. 758.
- ↑ See Admiral Sir H. B. Jackson, F.R.S., Proc. Roy. Soc., 1902, 70, p. 254; G. Marconi, ib., 1902, 70, p. 344.
















